GM Service Manual Online
For 1990-2009 cars only
Connector 1: A/C Compressor Clutch (1.2L)
Connector 2: A/C Compressor Clutch (1.4/1.5/1.6L)
Connector 3: A/C Refrigerant Pressure Sensor
Connector 4: Blower Motor
Connector 5: Blower Motor Resistor
Connector 6: Blower Switch
Connector 7: Evaporator Temperature Sensor (1.2L Only)
Connector 8: HVAC Control Module
Connector 9: Recirculation Actuator

A/C Compressor Clutch (1.2L)


Object Number: 1497744  Size: CH

Connector Part Information

  • OEM: MG610041
  • Service: N/A
  • Description: 1-Way F 250 Series

A/C compressor Clutch (1.2L)

Pin

Wire Color

Circuit No.

Function

1

OG/BK

--

A/C Compressor Clutch Supply Voltage

A/C Compressor Clutch (1.4/1.5/1.6L)


Object Number: 1334534  Size: CH

Connector Part Information

  • OEM: 12162017
  • Service: 12162017
  • Description: 2-Way F Metri-Pack 150 Series Sealed (GY)

A/C Compressor Clutch (1.4/1.5/1.6L)

Pin

Wire Color

Circuit No.

Function

1

OG/BK

--

A/C Compressor Clutch Supply Voltage

2

BK

--

Ground

A/C Refrigerant Pressure Sensor


Object Number: 1688761  Size: CH

Connector Part Information

  • OEM: 12078090
  • Service: N/A
  • Description: 3-Way F Metri-Pack 150 Series (WH)

A/C Refrigerant Pressure Sensor

Pin

Wire Color

Circuit No.

Function

1

OG/BK

--

A/C Refrigerant Pressure Sensor Signal (1.2L)

OG/BK

--

5-Volt Reference (1.4L/1.5L/1.6L)

2

L-BU

--

Low Reference

3

L-GN

--

5-Volt Reference (1.2L)

L-BU

--

A/C Refrigerant Pressure Sensor Signal (1.4L/1.5L/1.6L)

Blower Motor


Object Number: 1467007  Size: CH

Connector Part Information

  • OEM: MG610043
  • Service: N/A
  • Description: 2-Way F 250 Series (WH)

Blower Motor

Pin

Wire Color

Circuit No.

Function

1

BK

--

Ground

2

RD/BK

--

Battery Positive Voltage

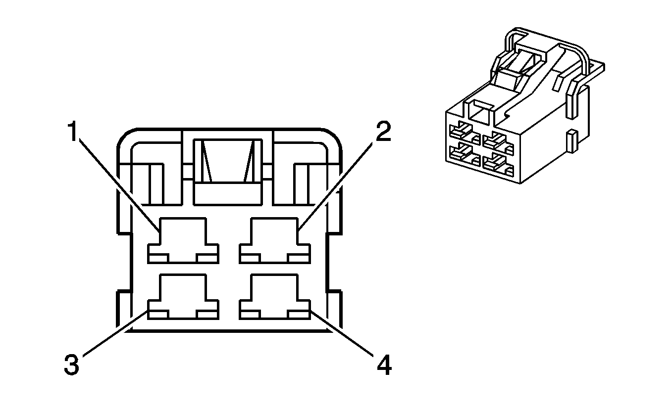
Blower Motor Resistor


Object Number: 1467027  Size: CH

Connector Part Information

  • OEM: MG610267
  • Service: N/A
  • Description: 4-Way F 250 D/L Series (WH)

Blower Motor Resistor

Pin

Wire Color

Circuit No.

Function

1

YE

--

Blower Motor Low Control

2

OG

--

Blower Motor High Control

3

BN

--

Blower Motor Medium 1 Control

4

L-BU

--

Medium 2 Blower Motor Control

Blower Switch


Object Number: 1467013  Size: CH

Connector Part Information

  • OEM: MG610049
  • Service: N/A
  • Description: 6-Way F 250 Series (WH)

Blower Switch

Pin

Wire Color

Circuit No.

Function

1

OG

--

HVAC On Signal

2

OG

--

Ignition Voltage

3

L-BU

--

Blower Motor Medium 3 Control

4

YE

--

Blower Motor Low Control

5

BN

--

Blower Motor Medium 2 Control

6

OG

--

Blower Motor High Control

Evaporator Temperature Sensor (1.2L Only)


Object Number: 1467036  Size: CH

Connector Part Information

  • OEM: MG610392
  • Service: N/A
  • Description: 2-Way F Series Sealed (WH)

Evaporator Temperature Sensor (1.2L Only)

Pin

Wire Color

Circuit No.

Function

1

BU

--

Evaporator Temperature Sensor Signal

2

L-BU

--

Reference Low

HVAC Control Module


Object Number: 1467121  Size: CH

Connector Part Information

  • OEM: MG651056
  • Service: N/A
  • Description: 10-Way F 090 II Series (WH)

HVAC Control Module

Pin

Wire Color

Circuit No.

Function

1

BN

--

Accessory Voltage

2

BK

--

Ground

3

BN/WH

--

Instrument Panel Lamps Supply Voltage

4

L-GN/WH

--

Instrument Panel Lamps Ground (w/o Dimming)

Instrument Panel Lamps Dimming Control (w/Dimming)

5

OG

--

HVAC On Signal

6

D-GN/WH

--

A/C Request Signal

7

PK/WH

--

Recirculation Door Control A

8

L-GN/BK

--

Recirculation Door Control B

9

L-BU

--

Rear Defogger Relay Control

10

OG

--

Battery Positive Voltage

Recirculation Actuator


Object Number: 1467023  Size: CH

Connector Part Information

  • OEM: MG610203
  • Service: N/A
  • Description: 7-Way F 118 (PA) Series (BK)

Recirculation Actuator

Pin

Wire Color

Circuit No.

Function

1-4

--

--

Not Used

5

PK/WH

--

Recirculation Door Control A

6

--

--

Not Used

7

L-GN/BK

--

Recirculation Door Control B