|
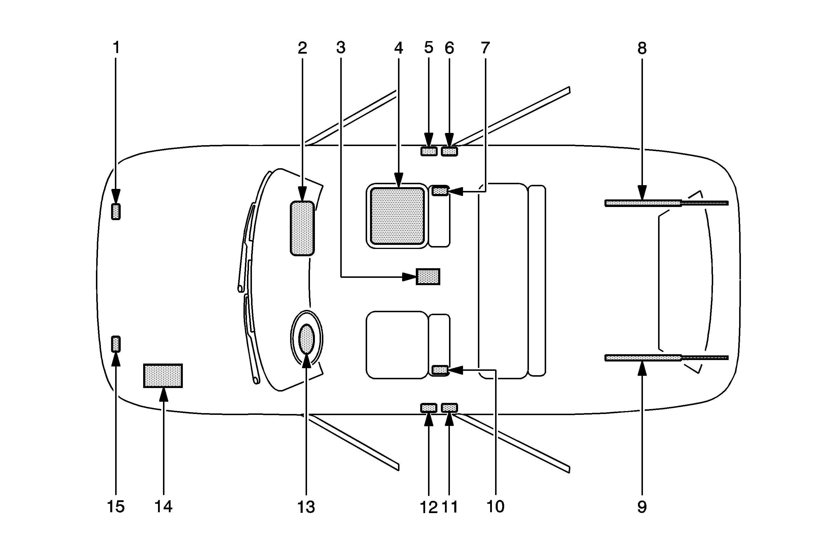
| (1) | Right Front End Sensor--Located on the right front of the vehicle in the engine compartment |
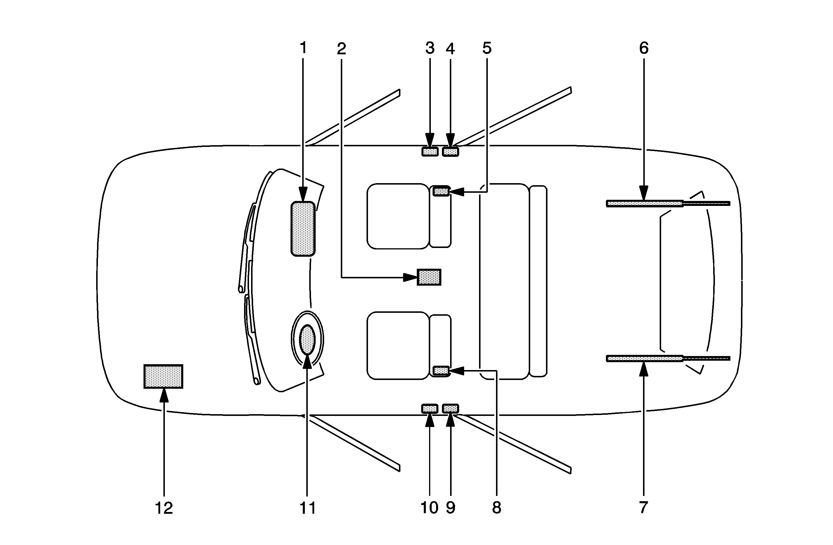
| (2) | I/P Air Bag--Located at the top right under the instrument panel |
| (3) | Sensing and Diagnostic Module (SDM)--Located underneath the center console |
| (4) | Passenger Presence System (PPS)--Located on the passenger front seat underneath the seat bottom trim |
| (5) | Seat Belt Pretensioner--Located under the center pillar trim near the bottom |
| (6) | RH Side Impact Sensor (SIS)--Located under the center pillar trim near the bottom |
| (7) | RF Side Impact Air Bag--Located on the seat back of passenger seat |
| (8) | Rear Compartment Lid Assist Rod--A gas shock is located under the rear trunk lid on the passenger side (Hatchback Models) |
| (9) | Rear Compartment Lid Assist Rod--A gas shock is located under the rear trunk lid on the driver side (Hatchback Models) |
| (10) | LF Side Impact Air Bag--Located on the seat back of driver seat |
| (11) | LH Side Impact Sensor (SIS)--Located under the center pillar trim near the bottom |
| (12) | Seat Belt Pretensioner--Located under the center pillar trim near the bottom |
| (13) | Steering Wheel Air Bag--Located on the steering wheel |
| (14) | Vehicle Battery--Located under the hood on the right side |
| (15) | Left Front End Sensor--Located on the left front of the vehicle in the engine compartment |