GM Service Manual Online
For 1990-2009 cars only

Tools Required

    • DT 47513 (DW210-030) Bushing Joint Pipe
    • DT 47514 (DW210-040) Bushing Remover/Installer
    • J 2619-01 (09930-30102) Sliding Shaft
    • 09943-88211 Bushing, Bearing Installer

Removal Procedure


    Object Number: 1375131  Size: SH
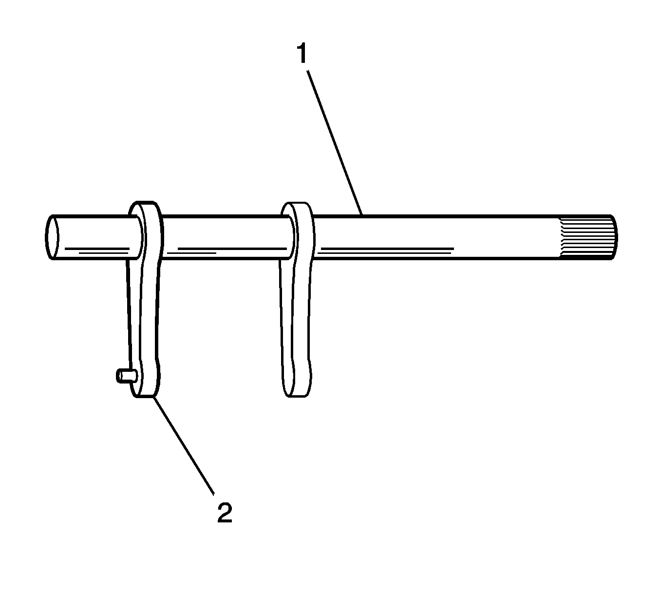
  1. Remove the transaxle from the vehicle. Refer to Transmission Replacement for the D16 transaxle or Transmission Replacement for the Y4M transaxle.
  2. Remove the release arm (2). Refer to Clutch Release Arm Replacement .

  3. Object Number: 1375133  Size: SH
  4. Remove the release bearing.

  5. Object Number: 1375135  Size: SH
  6. Remove the release shaft and bushing.
  7. Remove the No. 2 bushing and the seal using DT 47514  (1) and a hammer.
  8. Remove the release shaft (2).

  9. Object Number: 1375136  Size: SH
  10. Thread the tap (M16 x 1.51) (2) into the bushing.

  11. Object Number: 1375138  Size: SH
  12. Connect J 2619-01  (2) to the end of DT 47513  (1).
  13. Remove the bushing by pulling.

Release Bearing and Shaft Inspection

Bearing Inspection

Perform the following release bearing inspection:


    Object Number: 1375138  Size: SH
  1. Inspect for noisy, worn and damaged release bearing.
  2. Inspect for a grabbing rotation of release bearing.
  3. Replace the release bearing if necessary.

Shaft Inspection

Perform the following release bearing shaft inspection


    Object Number: 1375141  Size: SH
  1. Inspect for a warped shaft (1).
  2. Inspect for a worn fork (2).
  3. Replace the shaft if necessary.

Installation Procedure


    Object Number: 1375144  Size: SH
  1. Install the release shaft No. 1 bushing using DT 47513  (2), 09943-88211  (1) and a hammer.

  2. Object Number: 1375146  Size: SH
  3. Install the release shaft.
  4. Coat the release shaft and bushing with grease.
  5. Install the release shaft No. 2 bushing and seal using DT 47514  (1) and a hammer.

  6. Object Number: 1375148  Size: SH
  7. Coat the spline of transaxle input shaft with multipurpose grease.
  8. Coat the release bearing bore and the connecting of release shaft multi-purpose grease.
  9. Install the release bearing.

  10. Object Number: 1375131  Size: SH
  11. Install the release arm (2). Refer to Clutch Release Arm Replacement
  12. Install the transaxle to the vehicle. Refer to Transmission Replacement for the D16 transaxle or Transmission Replacement for the Y4M transaxle.