GM Service Manual Online
For 1990-2009 cars only

Tools Required

J 33163 Valve Tray Set


    Object Number: 1581010  Size: SH
  1. Position the main valve body assembly (4) on the work table so that the worm-track side is up.
  2. Align the separator plate (2) with the main valve body locating pins (3).
  3. Install the separator plate (2).
  4. Align the shift valve body assembly (1) with the main valve body locating pins (3).
  5. Install the shift valve body assembly onto the separator plate.

  6. Object Number: 1581007  Size: SH
  7. Position the control valve body assembly on the work table so that the main valve body is facing up.
  8. Install 11 bolts (1) retaining the valve bodies together.
  9. Tighten
    Tighten the bolts to 12 N·m (9 lb ft).


    Object Number: 1581004  Size: SH
  10. Position the control valve body assembly on the work table so that the shift valve body is up.
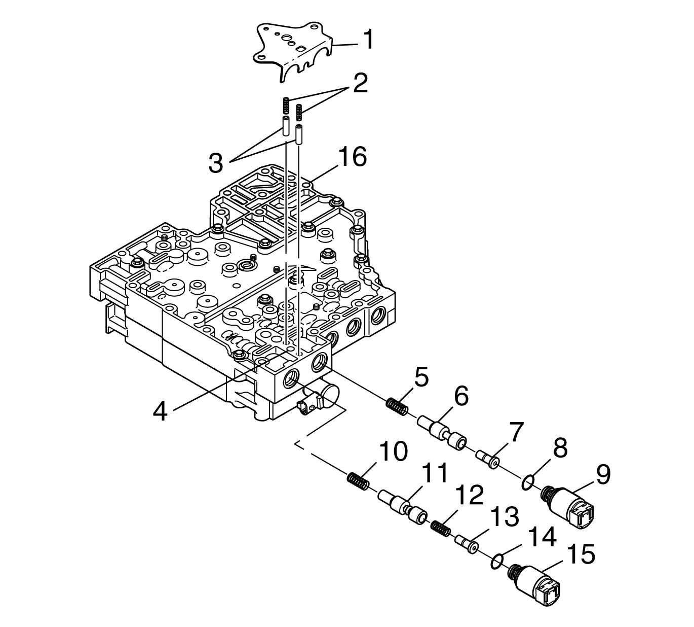
  11. Important: To help prevent confusing parts on assembly, J 33163 has been used to store the removed control valve assembly valves, springs, and stops during disassembly.

    Important: 

       • The O-ring (4) is slightly larger than the O-ring (3).
       • P/N 29536833 is printed on the shift solenoid 1 (SS1) (5).

  12. Install the solenoid O-ring (4) onto the SS1 (5).
  13. Install the solenoid O-ring (3) onto the SS1 (5).
  14. Align the SS1 (5) so that the electrical connector points away from the nearest locating pin and is parallel to the separator plate as shown.
  15. Push the solenoid into the valve body until the solenoid seats.
  16. Install the solenoid retainer (2).

  17. Object Number: 1581003  Size: SH

    Notice: DO NOT damage the solenoids when turning over the control valve assembly.

  18. Position the control valve assembly on the work table so that the main valve body (16) is facing up.
  19. Important: P/N 29541895 is printed on pressure control solenoid 1 (PCS1).

  20. Install the solenoid O-ring (14) onto the PCS1 (15).
  21. Important: P/N 29541896 is printed on the PCS2.

  22. Install the solenoid O-ring (8) onto the PCS2 (9).
  23. Install the spring (10), PCS1 valve (11), spring (12), and trim gain valve (13).
  24. Install the spring (5), PCS2 valve (6), and trim gain valve (7).
  25. Install PCS1 (15) so that the electrical connection faces up. Do not seat the solenoid.
  26. Install PCS2 (9) so the electrical connection faces up. Do not seat the solenoid.
  27. Align 2 accumulator plugs (3) so that their spring bores face up.
  28. Install 2 accumulator plugs (3) and 2 accumulator springs (2).
  29. Push PCS1 and PCS2 into the bores until the solenoids seat.
  30. Align the PCS1 and PCS2 retaining bracket (1) with the main valve body locating pin (4).
  31. Install the PCS1 and PCS2 retaining bracket (1) so that the PCS1, PCS2, accumulator plugs, and accumulator springs are retained against the valve body.

  32. Object Number: 1660867  Size: SH
  33. Install 3 bolts (1) retaining the PCS1 and PCS2 retaining bracket (2).
  34. Tighten
    Tighten the bolts to 12 N·m (9 lb ft).


    Object Number: 1660868  Size: SH

    Important: 

       • The solenoid O-rings are brown.
       • The O-ring (3) is slightly larger than the O-ring (2).
       • P/N 29536833 is printed on the SS3.

  35. Install the solenoid O-ring (3) onto the SS3 (4).
  36. Install the solenoid O-ring (2) onto the SS3 (4).
  37. Install the SS3 (4) so that the electrical connection faces up. Seat the solenoid.
  38. Install the solenoid retainer (1).

  39. Object Number: 1660871  Size: SH

    Important: 

       • The solenoid O-rings are brown.
       • The O-ring (3) is slightly larger than the O-ring (2).
       • P/N 29542206 is printed on the SS2.

  40. Install the solenoid O-ring (3) onto the SS2 (4).
  41. Install the solenoid O-ring (2) onto the SS2 (4).
  42. Install the SS2 (4) so that the electrical connection faces up. Seat the solenoid.
  43. Install the solenoid retainer (1).

  44. Object Number: 1581001  Size: SH

    Important: 

       • The solenoid O-rings are brown.
       • The O-ring (6) is slightly larger than the O-ring (5).

  45. Install the solenoid O-ring (6) onto the torque converter clutch (TCC) PCS (7).
  46. Install the solenoid O-ring (5) onto the TCC PCS (7).
  47. Install the TCC PCS spring (3).
  48. Install the TCC PCS valve (4).
  49. Align the TCC PCS (7) so that the electrical connection faces up.
  50. Install the TCC PCS (7). Seat the solenoid.
  51. Install the solenoid bracket (2).
  52. Install the solenoid bracket bolt (1).
  53. Tighten
    Tighten the bolt to 12 N·m (108 lb in).


    Object Number: 1581015  Size: SH
  54. Install O-ring (3) onto the modulated main pressure (MAIN MOD) solenoid (4).
  55. Install O-ring (2) onto the modulated main pressure (MAIN MOD) solenoid (4).
  56. Install the MAIN MOD solenoid (4) into the modulated main pressure valve body (1), pointing the connector toward the TFP switch.
  57. Install the solenoid retainer (5) from the bottom into the MAIN MOD solenoid valve body.
  58. Install the 6 speed tube into the MAIN MOD solenoid valve body.

  59. Object Number: 1581018  Size: SH
  60. Align the modulated main pressure valve body (2) with the bolt holes in the main valve body (3).
  61. Important: The M6xl.0x65 modulated main pressure valve body retaining bolts are slightly longer and gold in color.

  62. Install the 2 bolts (1) retaining the modulated main pressure valve body (2) to the main valve body.
  63. Tighten
    Tighten the bolts to 12 N·m (108 lb in).


    Object Number: 1580997  Size: SH
  64. Align the bolts holes and alignment tabs of the transmission fluid pressure (TFP) switch (1) with the corresponding holes in the main valve body (1).
  65. Install the TFP switch (1) onto the main valve body (3).
  66. Install the reverse signal pipe (2) onto the main valve body.

  67. Object Number: 1581013  Size: SH

    Important: Eight bolts retain the reverse signal pipe and the TFP switch.

       • The TFP switch is retained by five bolts (1) and by one bolt (2).
       • Bolt (2) is slightly longer than the other five TFP switch retaining bolts (1).
       • The reverse signal pipe is retained by two bolts (3).

  68. Install five bolts (1) and one bolt (2) retaining the TFP switch to the main valve body.
  69. Tighten
    Tighten the bolts to 12 N·m (108 lb in).

  70. Install two bolts (3) retaining the reverse signal pipe to the main valve body.
  71. Tighten
    Tighten the bolts to 12 N·m (108 lb in).