GM Service Manual Online
For 1990-2009 cars only

1st/2nd, 3rd/4th Gear Synchronizer


    Object Number: 1474821  Size: SH

    Important: When you service the synchronizers, retain them in the same order that they are removed. Keep the synchronizer components together and mark them to identify correct location.

  1. Remove the following components from the 1st/2nd gear synchronizer hub (115/117):
  2. • the 1st gear synchronizer inner cone (96)
    • the 1st gear synchronizer outer cone (97)
    • the 1st gear synchronizer outer blocking ring (98)
    • the 1st gear synchronizer outer blocking ring (98)
    • the 1st gear synchronizer outer cone (97)
    • the 1st gear synchronizer inner cone (96)

    Object Number: 1504129  Size: SH
  3. Remove the synchronizer insert and spring from the synchronizer hub. Press the spring and slide the insert out.

  4. Object Number: 1474822  Size: SH
  5. Remove the following components from the 3rd/4th gear synchronizer hub (116/118):
  6. • the 4th gear blocking ring (121)
    • the 3rd gear blocking ring (104)

5th/6th Gear Synchronizer


    Object Number: 1474823  Size: SH
  1. Remove the following components from the 5th/6th synchronizer hub (124/118):
  2. • The 6th gear blocking ring (121a)
    • The 5th gear blocking ring (121b)

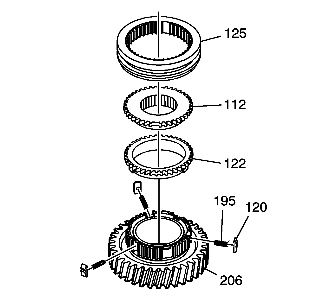
    Object Number: 1474824  Size: SH
  3. Remove the following components from the reverse gear (206):
  4. • the synchronizer sleeve (125)
    • the reverse driven gear (112)
    • the reverse gear blocking ring (122)
    • the reverse gear synchronizer insert (120) and the spring (195)