GM Service Manual Online
For 1990-2009 cars only
Figure 1:

Forward Lamp Harness Routing


Object Number: 1557126  Size: LF
(1)Horn Assembly
(2)C118
(3)Ambient Air Temperature Sensor
(4)Headlamp Washer Fluid Pump (CE4)
(5)A/C Low Pressure Switch
(6)G103
(7)Park/Turn Signal Lamp - RF
(8)Marker Lamp - RF
(9)C103
(10)S103
(11)Rear Window Washer Fluid Pump (CD6)
(12)Fog Lamp - RF
(13)Windshield Washer Fluid Pump
(14)S113
(15)Windshield Washer Fluid Level Switch
(16)Fog Lamp - LF
(17)S107
(18)Park/Turn Signal Lamp - LF
(19)C102
(20)Marker Lamp - LF
(21)Fuse Block - Underhood C4
(22)C105
Figure 2:

Cooling Fan Tether Harness Routing


Object Number: 1547958  Size: LF
(1)Cooling Fan
(2)C118
Figure 3:

Engine Harness Routing - Left Front (4.2L)


Object Number: 1549246  Size: LF
(1)Engine Coolant Temperature (ECT) Sensor
(2)Evaporative Emission (EVAP) Canister Purge Solenoid
(3)Powertrain Control Module (PCM) C3
(4)Throttle Body
(5)Manifold Absolute Pressure (MAP) Sensor
(6)Powertrain Control Module (PCM) C2
(7)C100
(8)Starter
(9)Fuse Block - Underhood C1
(10)S110
(11)Knock Sensor (KS) 2 - Rear
(12)Crankshaft Position (CKP) Sensor
(13)G109
(14)G101
(15)G110
(16)A/C Compressor Clutch Assembly
(17)A/C Refrigerant Pressure Sensor
(18)Knock Sensor (KS) 1 - Front
(19)G107
(20)Generator
Figure 4:

Engine Harness Routing - Right Rear (4.2L)


Object Number: 1549247  Size: LF
(1)Park/Neutral Position (PNP) Switch
(2)Heated Oxygen Sensor (HO2S) 2
(3)C104
(4)Ignition Coil 5
(5)Ignition Coil 4
(6)Ignition Coil 3
(7)Ignition Coil 2
(8)Ignition Coil 1
(9)Camshaft Actuator Solenoid Assembly
(10)Camshaft Position (CMP) Sensor
(11)Engine Oil Pressure (EOP) Switch
(12)Heated Oxygen Sensor (HO2S) 1
(13)Secondary Air Injection (AIR) Solenoid (K18)
(14)Intake Air temperature (IAT) Sensor
(15)Ignition Coil 6
(16)C175
(17)C310
Figure 5:

Fuel Injector Harness Routing (4.2L)


Object Number: 1549248  Size: MF
(1)C104
(2)Fuel Injector 6
(3)Fuel Injector 5
(4)Fuel Injector 4
(5)Fuel Injector 3
(6)Fuel Injector 2
(7)Fuel Injector 1
Figure 6:

Engine Harness Routing - Left Rear (5.3L)


Object Number: 1557377  Size: LF
(1)Generator
(2)Evaporative Emission (EVAP) Canister Purge Solenoid
(3)C109
(4)Fuel Injector 3
(5)Fuel Injector 5
(6)Fuel Injector 7
(7)Engine Oil Pressure (EOP) Sensor
(8)Heated Oxygen Sensor (HO2S) Bank 2 Sensor 2
(9)Heated Oxygen Sensor (HO2S) Bank 1 Sensor 1
(10)C310
(11)Heated Oxygen Sensor (HO2S) Bank 1 Sensor 2
(12)Park/Neutral Position (PNP) Switch
(13)G109
(14)Knock Sensor (KS) 1 - Left
(15)G107
(16)C107
(17)G108
(18)Engine Coolant Temperature (ECT) Sensor
(19)Engine Control Module (ECM) C1
(20)Engine Control Module (ECM) C2
(21)Engine Control Module (ECM) C3
(22)Fuse Block - Underhood C1
(23)S100
(24)Fuel Injector 1
Figure 7:

Engine Harness Routing - Right Front (5.3L)


Object Number: 1549250  Size: LF
(1)Heated Oxygen Sensor (HO2S) Bank 2 Sensor 1
(2)Fuel Injector 8
(3)C108
(4)Fuel Injector 6
(5)S102
(6)Fuel Injector 4
(7)Fuel Injector 2
(8)Manifold Absolute Pressure (MAP) Sensor
(9)S105
(10)S101
(11)Transmission Control Module (TCM)
(12)Throttle Body
(13)C110
(14)A/C Compressor Clutch Assembly
(15)A/C Refrigerant Pressure Sensor
(16)Knock Sensor (KS) 2 - Right
(17)Starter
(18)Crankshaft Position (CKP) Sensor
(19)Mass Air Flow (MAF)/Intake Air Temperature (IAT) Sensor
(20)C175
Figure 8:

Camshaft Position Sensor Harness Routing (5.3L)


Object Number: 1549251  Size: LF
(1)Camshaft Position (CMP) Sensor
(2)C110
Figure 9:

Ignition Coil Harness Routing


Object Number: 1549252  Size: MF
(1)Ignition Coil 1
(2)Ignition Coil 3
(3)C109
(4)Ignition Coil 2
(5)Ignition Coil 5
(6)Ignition Coil 4
(7)C108
(8)Ignition Coil 6
(9)Ignition Coil 7
(10)Ignition Coil 8
Figure 10:

Chassis Harness Routing


Object Number: 1557425  Size: LF
(1)Electronic Frontal Sensor (EFS) - Right
(2)Wheel Speed Sensor - RF
(3)Electronic Brake Control Module (EBCM) C1
(4)Electronic Brake Control Module (EBCM) C2
(5)Secondary Air Injection (AIR) Pump (4.2L w/K18)
(6)C310
(7)Vehicle Speed Sensor (VSS)
(8)S306
(9)Fuel Pump and Sender Assembly
(10)Evaporative Emission (EVAP) Canister Vent Solenoid
(11)Air Suspension Sensor - RR
(12)Air Suspension Compressor Assembly C1
(13) G403
(14)Air Suspension Sensor - LR
(15)Fuel Tank Pressure (FTP) Sensor
(16)S359 (5.3L)
(17)G305
(18) Propshaft Speed Sensor - Rear
(19)Transfer Case Encoder Motor
(20)Propshaft Speed Sensor - Front
(21)Secondary Air Injection (AIR) Pump Relay (4.2L w/K18)
(22)G304
(23)Wheel Speed Sensor - LF
(24)C101
(25)Fuse Block - Underhood C3
(26)Fuse Block - Underhood C7
(27)Electronic Frontal Sensor (EFS) - Left
Figure 11:

I/P Harness Routing - Engine Compartment


Object Number: 1557843  Size: LF
(1)Fuse Block - Underhood C6
(2)Fuse Block - Underhood C5
(3)G104
(4)G105
(5)S114 (CE4)
(6)G102
(7)C107 (5.3L)
(8)C105
(9)S117 (5.3L)
(10)Fuse Block - Underhood C2
(11)C101
(12)S117 (4.2L)
(13)C100 (4.2L)
(14)Powertrain Control Module (PCM) (4.2L)
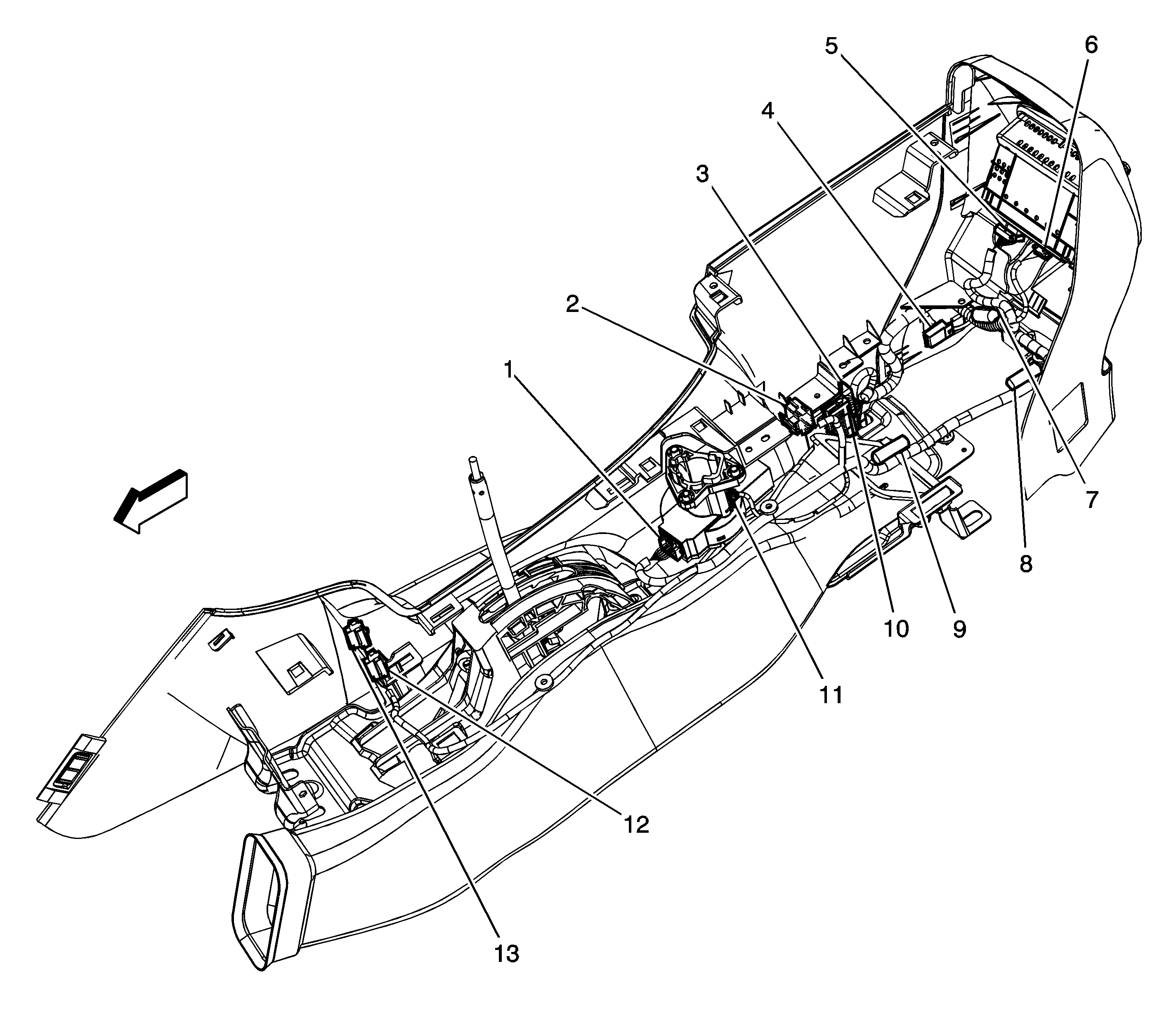
Figure 12:

I/P Harness Routing - Rear of the I/P


Object Number: 1560573  Size: MF
(1)Blower Motor Control Module
(2)Inflatable Restraint I/P Module
(3)Recirculation Actuator
(4)S271
(5)S216
(6)Ambient Light/Sunload Sensor Assembly
(7)Mode Actuator
(8)Defrost Actuator
(9)Instrument Panel Cluster (IPC)
(10)Interior Lamp Defeat Switch
(11)Windshield Wiper Motor
(12)Stop Lamp Switch
(13)C225 (JF4)
(14)Transfer Case Shift Control Module C1
(15)Transfer Case Shift Control Module C2
(16)Transfer Case Shift Control Module C3
(17)Splice Pack SP205
(18)Turn Signal/Hazard Flasher Module
(19)Data Link Connector (DLC)
(20)S239
(21)Accelerator Pedal Position (APP) Sensor
(22)S202
(23)Air Temperature Sensor - Lower Left
(24)S217
(25)Air Temperature Actuator - Left
(26)S211
(27)Blower Motor - Auxiliary
(28)S230
(29)Splice Pack SP201
(30)Air Temperature Sensor - Lower Right
(31)Air Temperature Actuator - Right
(32)C221 (U42/U2K)
(33)C203
(34)C202
Figure 13:

I/P Harness Routing - Front of the I/P


Object Number: 1560612  Size: MF
(1)I/P Dimmer Switch
(2)Radio C1
(3)Air Temperature Sensor - Upper Left
(4)Driver Information Center (DIC) Switch
(5)Air Temperature Sensor - Upper Right
(6)Radio C2
(7)HVAC Control Module C1
(8)Automatic Transmission Shift Lock Actuator
(9)C307
(10)C323
(11)Inflatable Restraint Sensing and Diagnostic Module (SDM)
(12)Rollover Sensor
(13)C304
(14)Fuse Block - Rear C1
(15)Body Control Module (BCM) C1
(16)Body Control Module (BCM) C2
(17)S203
(18)S220
(19)S273 (4.2L)
(20)S320
(21)S232
(22)S272
(23)HVAC Control Module C2
(24)C201
(25)C275
(26)Rear Window Wiper/Washer Switch (CD6)
Figure 14:

Infotainment Jumper Harness Routing (U42/U2K)


Object Number: 1549268  Size: LF
(1)Digital Radio Receiver (U2K)
(2)C221 (U42/U2K)
(3)C220 (U42)
Figure 15:

Steering Wheel Harness Routing


Object Number: 1558178  Size: LF
(1)Steering Wheel Control Switch Assembly - Upper Left
(2)C277
(3)Steering Wheel Control Switch Assembly - Upper Right
Figure 16:

Electronic Adjustable Pedals Harness Routing (JF4)


Object Number: 1545399  Size: MF
(1)Electronic Adjustable Pedals (EAP) Relay
(2)C225
(3)Electronic Adjustable Pedals (EAP) Assembly
Figure 17:

Body Harness Routing


Object Number: 1558188  Size: LF
(1)Splice Pack SP306
(2)Center High Mounted Stop Lamp (CHMSL)
(3)C900
(4)S401
(5)G401
(6)C906
(7)C304
(8)Inflatable Restraint Roof Rail Module - Left
(9)Fuse Block - Rear C2
(10)C700
(11)Air Temperature Sensor Assembly - Inside
(12)G302
(13)S302
(14)C317
(15)C500
(16)C311
(17)C306
(18)C314
(19)C318
(20)C203
(21)C202
(22)C220 (U42)
(23)C600
(24)S310
(25)S303
(26)G303
(27)C800
(28)Vehicle Communication Interface Module (VCIM) C1
(29)Vehicle Communication Interface Module (VCIM) C2
(30)Inflatable Restraint Roof Rail Module - Right
(31)S402
(32)Audio Amplifier (UQA) C2
(33)Audio Amplifier (UQA) C1
(34)C907
(35)G402
Figure 18:

Headliner Harness Routing


Object Number: 1558213  Size: LF
(1)Cargo Lamp
(2)C308 (CF5)
(3)Courtesy/Reading Lamp - Center
(4)S390
(5)S331
(6)C305
(7)S322
(8)Vanity Mirror Lamp - Right
(9)Inside Rearview Mirror
(10)Vanity Mirror Lamp - Left
(11)S312
(12)C306
(13)Fuse Block - Underhood C3
Figure 19:

Seat Belt Pretensioner Harness Routing - Left


Object Number: 1549277  Size: LF
(1)Seat Belt Pretensioner - Left
(2)C317
Figure 20:

Seat Belt Pretensioner Harness Routing - Right


Object Number: 1549280  Size: LF
(1)Seat Belt Pretensioner - Right
(2)C318
Figure 21:

Floor Console Harness Routing


Object Number: 1558287  Size: LF
(1)Ignition Switch
(2)Theft Deterrent Control Module
(3)C323
(4)Console Mode Actuator - Auxiliary
(5)HVAC Control Module - Auxiliary
(6)Auxiliary Power Outlet - Rear
(7)S307
(8)S392
(9)S393
(10)C307
(11)Theft Deterrent Exciter Module
(12)Auxiliary Power Outlet - Front
(13)Auxiliary Power Outlet - Front
Figure 22:

Left Front Door Harness Routing


Object Number: 1549286  Size: LF
(1)C500
(2)Driver Door Module (DDM) C2
(3)Door Latch Assembly - Driver C1
(4)Door Latch Assembly - Driver C3
(5)Door Latch Assembly - Driver C2
(6)Inflatable Restraint Side Impact Sensor (SIS) - Left
(7)Window Motor - Driver
Figure 23:

Right Front Door Harness Routing


Object Number: 1549288  Size: LF
(1)Door Latch Assembly - Passenger C1
(2)Door Latch Assembly - Passenger C2
(3)Inflatable Restraint Side Impact Sensor (SIS) - Right
(4)Window Motor - Front Passenger
(5)Front Passenger Door Module (FPDM) C1
(6)C600
Figure 24:

Left Rear Door Harness Routing


Object Number: 1549290  Size: LF
(1)C700
(2)Window Switch - LR
(3)Door Latch Assembly - LR C1
(4)Door Latch Assembly - LR C2
(5)Speaker - LR Door
(6)Window Motor - LR
Figure 25:

Right Rear Door Harness Routing


Object Number: 1549291  Size: LF
(1)Door Latch Assembly - RR C1
(2)Window Switch - RR
(3)Window Motor - RR
(4)C800
(5)Speaker - RR Door
(6)Door Latch Assembly - RR C2
Figure 26:

Liftgate Harness Routing


Object Number: 1558299  Size: LF
(1)Rear Window Wiper Motor (CD6)
(2)C905 (C49)
(3)Liftglass Ajar Switch
(4)C900
(5)C904 (C49)
(6)S901
(7)Liftgate Module (LGM) C3
(8)Liftgate Module (LGM) C2
(9)Liftgate Module (LGM) C1
(10)C901
(11)Liftgate Latch Assembly C2
(12)Liftgate Latch Assembly C1
(13)Cargo Lamp
Figure 27:

Rear Defogger Harness Routing (C49)


Object Number: 1549309  Size: MF
(1)Rear Window Defogger Grid C1
(2)C905
(3)C904
(4)Rear Window Defogger Grid C2
Figure 28:

License Lamp Harness Routing


Object Number: 1549312  Size: LF
(1)License Lamp - Right
(2)S902
(3)S909
(4)License Lamp - Left
(5) C901
Figure 29:

Left Rear Tail Lamps Harness Routing


Object Number: 1564545  Size: MF
(1)Backup Lamp - Left
(2)Turn Signal Lamp - LR
(3)C906
(4)Marker Lamp - LR
(5)Stop/Park Lamp - LR
Figure 30:

Right Rear Tail Lamps Harness Routing


Object Number: 1564544  Size: MF
(1)Backup Lamp - Right
(2)Turn Signal Lamp - RR
(3)C907
(4)Stop/Park Lamp - RR
(5)Marker Lamp - RR