GM Service Manual Online
For 1990-2009 cars only

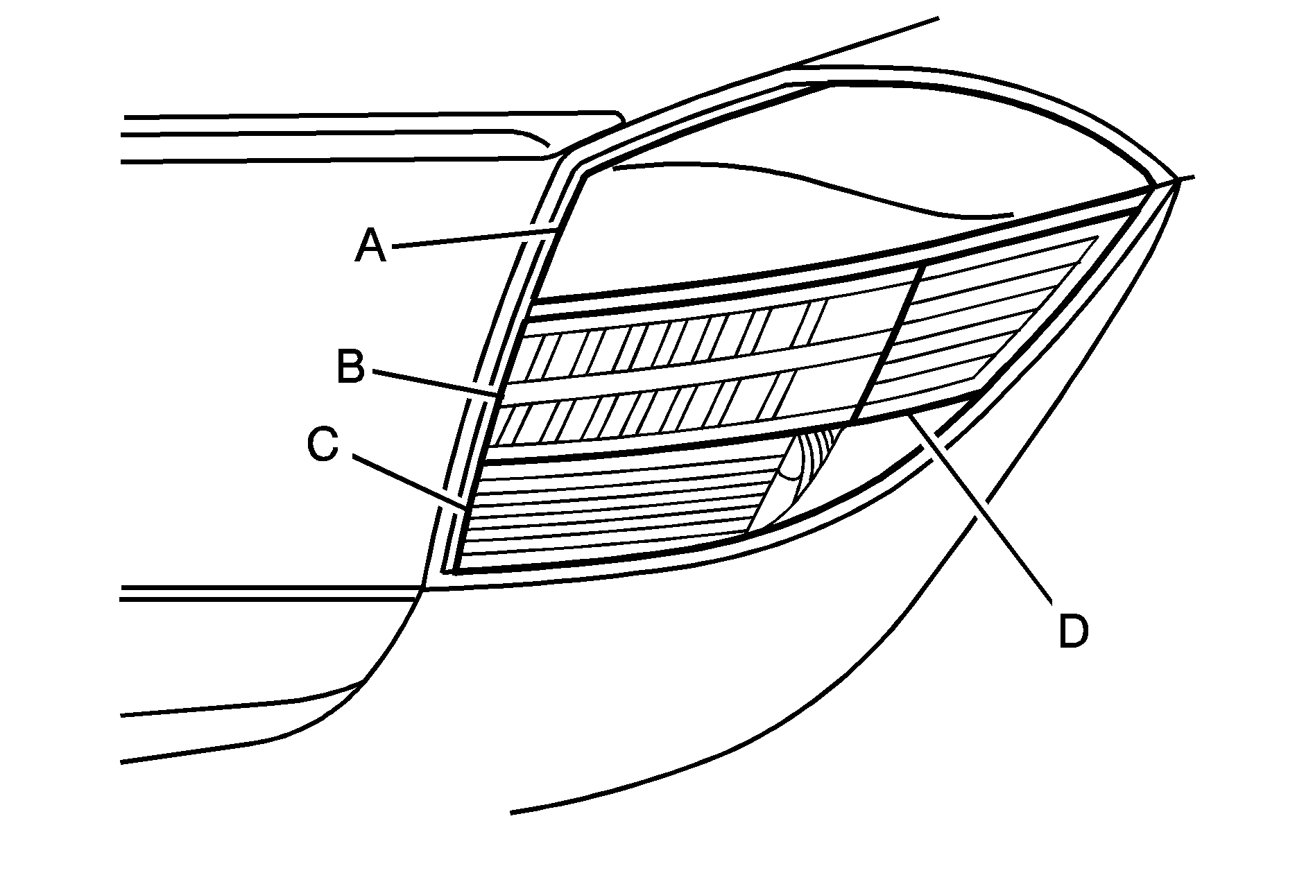
Object Number: 1771216  Size: B3
  1. Turn Signal Lamp

  2. Stoplamp/Taillamp

  3. Backup Lamp

  4. Sidemarker Lamp

If a stoplamp or a taillamp needs to be replaced, see your dealer/retailer.

To replace a sidemarker lamp, turn signal lamp, or a back-up lamp:

  1. Open the trunk. See Trunk .
  2. Remove the convenience net.
  3. Remove the wing nuts holding the trunk trim and pull the trunk trim straight back.

  4. Object Number: 1771219  Size: B3
  5. Turn the three wing nuts counterclockwise that hold the taillamp assembly counterclockwise.
  6. Remove the taillamp assembly.
  7. Remove the wiring harness from the taillamp assembly by lifting the release tab.
  8. Turn the bulb socket counterclockwise to remove it.
  9. Pull the bulb from the socket.
  10. Install a new bulb.
  11. Turn the bulb socket clockwise to reinstall.
  12. Reinstall the wiring harness and press down on the release tab.
  13. Reinstall the taillamp assembly and turn the three wing nuts clockwise.
  14. Reinstall the trunk trim and wing nuts.