GM Service Manual Online
For 1990-2009 cars only
Connector 1: Engine Control Module (ECM) C1
Connector 2: Engine Control Module (ECM) C2
Connector 3: Engine Control Module (ECM) C3

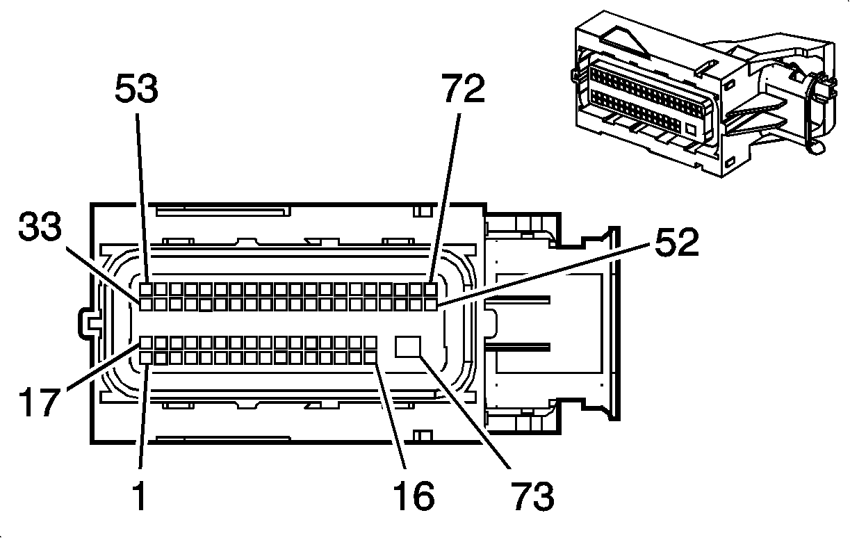
Engine Control Module (ECM) C1


Object Number: 1673474  Size: CH

Connector Part Information

  • OEM: 13590170
  • Service: See Catalog
  • Description: 56-Way F MX123 Series, Sealed (BU)

Terminal Part Information

  • Pins: 7, 9, 12-13, 18-20, 26, 31-37, 40, 44, 46-49, 53-55
  • Terminal/Tray: 33467-0003/23
  • Core/Insulation Crimp: H/H
  • Release Tool/Test Probe: J-38125-213/J-35616-64B (L-BU)

Engine Control Module (ECM) C1

Pin

Wire Color

Circuit No.

Function

1-6

--

--

Not Used

7

WH

17

Stop Lamp Switch Signal

8

--

--

Not Used

9

OG/BK

1057

Low Reference

10-11

--

--

Not Used

12

BN/WH

419

MIL Control

13

D-GN/WH

465

Fuel Pump Relay Control

14-17

--

--

Not Used

18

BN

4

Accessory Voltage

19

PK

639

Ignition 1 Voltage

20

RD/WH

540

Battery Positive Voltage

21-25

--

--

Not Used

26

PU/WH

6386

Starter Relay Coil Control

27-30

--

--

Not Used

31

L-GN/BK

6258

Low Reference

32

L-GN

6257

5-Volt Reference

33

WH/BK

1164

5-Volt Reference 2

34

GY

705

5-Volt Reference 1

35

TN

1274

5-Volt Reference 1

36

BN

1271

Low Reference

37

PU

1272

Low Reference

38-39

--

--

Not Used

40

BN

5069

Powertrain Relay Control

41-43

--

--

Not Used

44

PU

1589

Fuel Level Sensor Signal

45

--

--

Not Used

46

D-BU

1809

Brake Booster Vacuum Sensor Signal

47

D-BU

1161

APP Sensor 1 Signal

48

D-GN

890

Fuel Tank Pressure Sensor Signal

49

L-BU

1162

APP Sensor 2 Signal

50-52

--

--

Not Used

53

D-GN/WH

459

A/C Compressor Clutch Relay Control

54

D-BU

473

High Speed Cooling Fan Relay Control

55

WH

1310

EVAP Canister Vent Solenoid Control

56

--

--

Not Used

Engine Control Module (ECM) C2


Object Number: 1968294  Size: CH

Connector Part Information

  • OEM: 13588080
  • Service: See Catalog
  • Description: 73-Way F MX123 34566 Series, Sealed (BK)

Terminal Part Information

  • Terminal/Tray: See Terminal Repair Kit
  • Core/Insulation Crimp: See Terminal Repair Kit
  • Release Tool/Test Probe: J-38125-213/J-35616-64B (L-BU)

Engine Control Module (ECM) C2

Pin

Wire Color

Circuit No.

Function

1

PU

2121

IC 1 Control

2

TN/WH

3111

HO2S Low Signal Sensor 1

3

PU/WH

3110

HO2S High Signal Sensor 1

4

PU

3120

HO2S High Signal Sensor 2

5

TN/WH

3121

HO2S Low Signal Sensor 2

6-7

--

--

Not Used

8

D-BU

496

KS Signal

9

GY

1716

KS Signal

10

--

--

Not Used

11

YE

581

TAC Motor Control - 1

12

BN

582

TAC Motor Control - 2

13

PK/BK

5290

Ignition 1 Voltage

14

PK/BK

6395

CMP Control

15-16

--

--

Not Used

17

L-BU

2123

IC 3 Control

18-19

--

--

Not Used

20

GY

5296

Low Reference

21-22

--

--

Not Used

23

TN

5301

Low Reference

24

TN

2759

Low Reference

25-26

--

--

Not Used

27

PU

574

Low Reference

28

--

--

Not Used

29

TN

2752

Low Reference

30

L-GN

5282

Low Reference

31

--

--

Not Used

32

L-GN/BK

1745

Fuel Injector 2 Control

33

D-GN/WH

2124

IC 4 Control

34

--

--

Not Used

35

BN

2129

Low Reference

36

YE/BK

5297

5-Volt Reference 1

37-38

--

--

Not Used

39

D-BU

5300

5-Volt Reference 1

40-41

--

--

Not Used

42

TN/BK

2760

Low Reference

43

L-GN

2867

5-Volt Reference

44

GY

2701

5-Volt Reference 2

45

--

--

Not Used

46

PU

5284

Low Reference

47

--

--

Not Used

48

PK/BK

1746

Fuel Injector 3 Control

49

--

--

Not Used

50

WH/BK

6396

CMP Control

51-52

--

--

Not Used

53

OG/WH

2122

IC 2 Control

54-55

--

--

Not Used

56

D-GN

5273

CMP Sensor Signal

57-58

--

--

Not Used

59

OG

5275

CMP Sensor Signal

60-61

--

--

Not Used

62

TN

472

IAT Sensor Signal

63

YE

573

CKP Sensor 1 Signal

64

D-GN

485

TP Sensor 1 Signal

65

--

--

Not Used

66

PU

486

TP Sensor 2 Signal

67

YE

492

MAF Sensor Signal

68

GY/WH

3113

HO2S Heater Low Control Sensor 1

69

GY/WH

3122

HO2S Heater Low Control Sensor 2

70

--

--

Not Used

71

L-BU/BK

844

Fuel Injector 4 Control

72

TN

1744

Fuel Injector 1 Control

73

BK/WH

451

Ground

Engine Control Module (ECM) C3


Object Number: 1968294  Size: CH

Connector Part Information

  • OEM: 13588081
  • Service: See Catalog
  • Description: 73-Way F MX123 34566 Series, Sealed (GY)

Terminal Part Information

  • Pins: 2, 21, 23, 24, 33, 35, 37, 39, 40, 46, 48, 49, 53, 55, 57, 59, 60, 65
  • Terminal/Tray: 33467-0003/23
  • Core/Insulation Crimp: H/H
  • Release Tool/Test Probe: J-38125-213/J-35616-64B (L-BU)

Engine Control Module (ECM) C3

Pin

Wire Color

Circuit No.

Function

1

--

--

Not Used

2

PK

1224

Transmission Fluid Pressure Switch Signal A

3-20

--

--

Not Used

21

TN

5514

Low Reference

22

--

--

Not Used

23

OG/BK

469

Low Reference

24

TN/BK

6033

Low Reference

25-32

--

--

Not Used

33

TN

2501

High Speed GMLAN Serial Data Bus-

34

--

--

Not Used

35

TN

2761

Low Reference

36

--

--

Not Used

37

GY

2700

5-Volt Reference 2

38

--

--

Not Used

39

GY

2704

5-Volt Reference 1

40

GY

6034

5-Volt Reference 1

41-45

--

--

Not Used

46

OG/BK

1786

Park/Neutral Signal

47

--

--

Not Used

48

D-GN/WH

428

EVAP Canister Purge Solenoid Control

49

D-GN

335

Low Speed Cooling Fan Relay Control

50-52

--

--

Not Used

53

TN/BK

2500

High Speed GMLAN Serial Data Bus+

54

--

--

Not Used

55

YE

410

ECT Sensor Signal

56

--

--

Not Used

57

OG/BK

380

A/C Refrigerant Pressure Sensor Signal

58

--

--

Not Used

59

L-GN

432

MAP Sensor Signal

60

YE

2034

Master Cylinder ABS Pressure Sensor Signal

61-64

--

--

Not Used

65

TN/BK

231

Oil Pressure Switch Signal

66-73

--

--

Not Used