GM Service Manual Online
For 1990-2009 cars only
Figure 1:

Front of the Radiator


Object Number: 1832327  Size: LF
(1)Hood Ajar Switch (AP3/AP8)
(2)A/C Condenser
(3)Ambient Air Temperature Sensor
Figure 2:

Front of the Engine - LY7


Object Number: 1832321  Size: LF
(1)Engine Coolant Temperature (ECT) Sensor
(2)Throttle Actuator Control (TAC) Module
(3)Starter Motor
(4)Knock Sensor (KS) 2
(5)A/C Compressor Clutch
(6)Engine Oil Pressure (EOP) Switch
(7)Generator
Figure 3:

Near the A/C Fittings - LY7


Object Number: 1832328  Size: LF
(1)A/C Refrigerant Pressure Sensor
(2)Rear Valve Cover
(3)Upper Intake Manifold
(4)Front Valve Cover
Figure 4:

Lower Left of the Engine - LZ4


Object Number: 1832324  Size: LF
(1)Camshaft Position (CMP) Actuator Solenoid
(2)Throttle Actuator Control (TAC) Module
(3)Evaporative Emission (EVAP) Canister Purge Solenoid
(4)Knock Sensor (KS) 1
(5)Starter Motor
(6)Engine Oil Pressure (EOP) Sensor
(7)A/C Compressor Clutch
Figure 5:

Interior HVAC Module


Object Number: 1832280  Size: LF
(1)Mode Actuator
(2)HVAC Module Assembly
(3)Air Temperature Actuator
(4)Blower Motor
(5)Recirculation Actuator
(6)Blower Motor Control Module (C68)
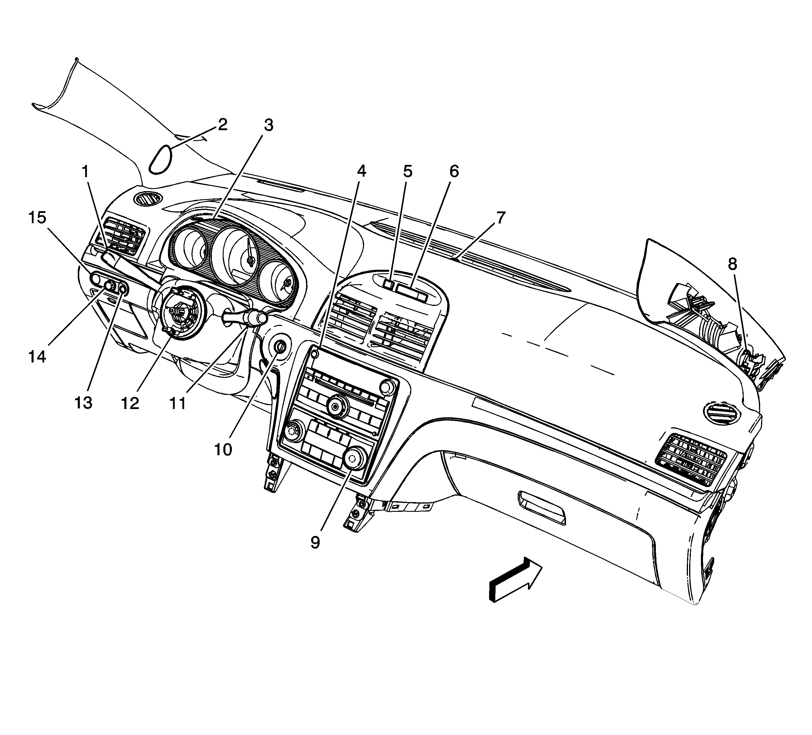
Figure 6:

Front of the I/P


Object Number: 1832299  Size: LF
(1)Turn Signal/Multifunction Switch
(2)Speaker - LF Tweeter
(3)Instrument Panel Cluster (IPC)
(4)Radio
(5)Hazard Switch
(6)Inflatable Restraint PASSENGER AIR BAG ON/OFF Indicator
(7)Ambient Light Sensor (C60) Sunload Sensor (C68)
(8)Speaker - RF Tweeter
(9)HVAC Control Module
(10)Ignition Switch
(11)Windshield Wiper/Washer Switch
(12)Inflatable Restraint Steering Wheel Module Coil
(13)Fog Lamp Switch (T96)
(14)I/P Dimmer Switch
(15)Adjustable Pedal Position Switch (JF4)