GM Service Manual Online
For 1990-2009 cars only

IP/Dash Trim Misalignment (Loosen and Realign)

Subject:IP/Dash Trim Misalignment (Loosen and Realign)

Models:2007 Saturn Aura



Condition


Object Number: 1962866  Size: MF

Some customers may comment that the I/P trim does not align with the front door trim panel.


Object Number: 1962869  Size: MF

They may also comment on the fit of the shifter bezel to the console.

Cause

During the installation of the dash assembly, the bolts that attach the I/P to the vehicle were installed in an order that secured the fore aft position prior to the vertical position.

Correction

This procedure may be effective for both left hand and right hand misalignments. Use the following procedure to loosen the I/P securing bolts in order to reposition the dash and then secure the retaining bolts in the order specified.


    Object Number: 1962870  Size: MF

    Object Number: 1962871  Size: MF
  1. Remove the I/P end caps. Refer to Instrument Panel Outer Trim Cover Replacement.

  2. Object Number: 1969057  Size: MF
  3. Loosen the four I/P retaining screws on each side.

  4. Object Number: 1962872  Size: MF

    Object Number: 1962873  Size: MF
  5. Remove the A pillar garnish moldings. Refer to Windshield Pillar Garnish Molding Replacement.

  6. Object Number: 1962874  Size: MF
  7. Remove the I/P upper trim panel. Refer to Instrument Panel Upper Trim Panel Replacement.

  8. Object Number: 1962875  Size: MF

    Object Number: 1962876  Size: MF
  9. Remove the console side covers. Refer to Front Floor Console Side Trim Panel Replacement - Right Side and Front Floor Console Side Trim Panel Replacement - Left Side.

  10. Object Number: 1962878  Size: MF
  11. Remove the caps and console secure bolts (one per side) behind the front seats. You do not need to remove seats - just slide it forward.

  12. Object Number: 1962879  Size: MF
  13. Remove the shifter plate bezel and shifter surround trim in order to access the console secure screws. Refer to Front Floor Upper Console Trim Plate Replacement.

  14. Object Number: 1962880  Size: MF
  15. Remove the console screws under the shifter plate in the four locations shown above.

  16. Object Number: 1962881  Size: MF
  17. Remove the console secure screws under the side covers (two per side). Disconnect the cigarette lighter wire and pull the console back a few inches/millimeters.

  18. Object Number: 1962882  Size: MF

    Object Number: 1962883  Size: MF
  19. Loosen, but do not remove, the bolts at the I/P to floor bracket (three on the passenger side, two on the driver side).

  20. Object Number: 1962884  Size: MF
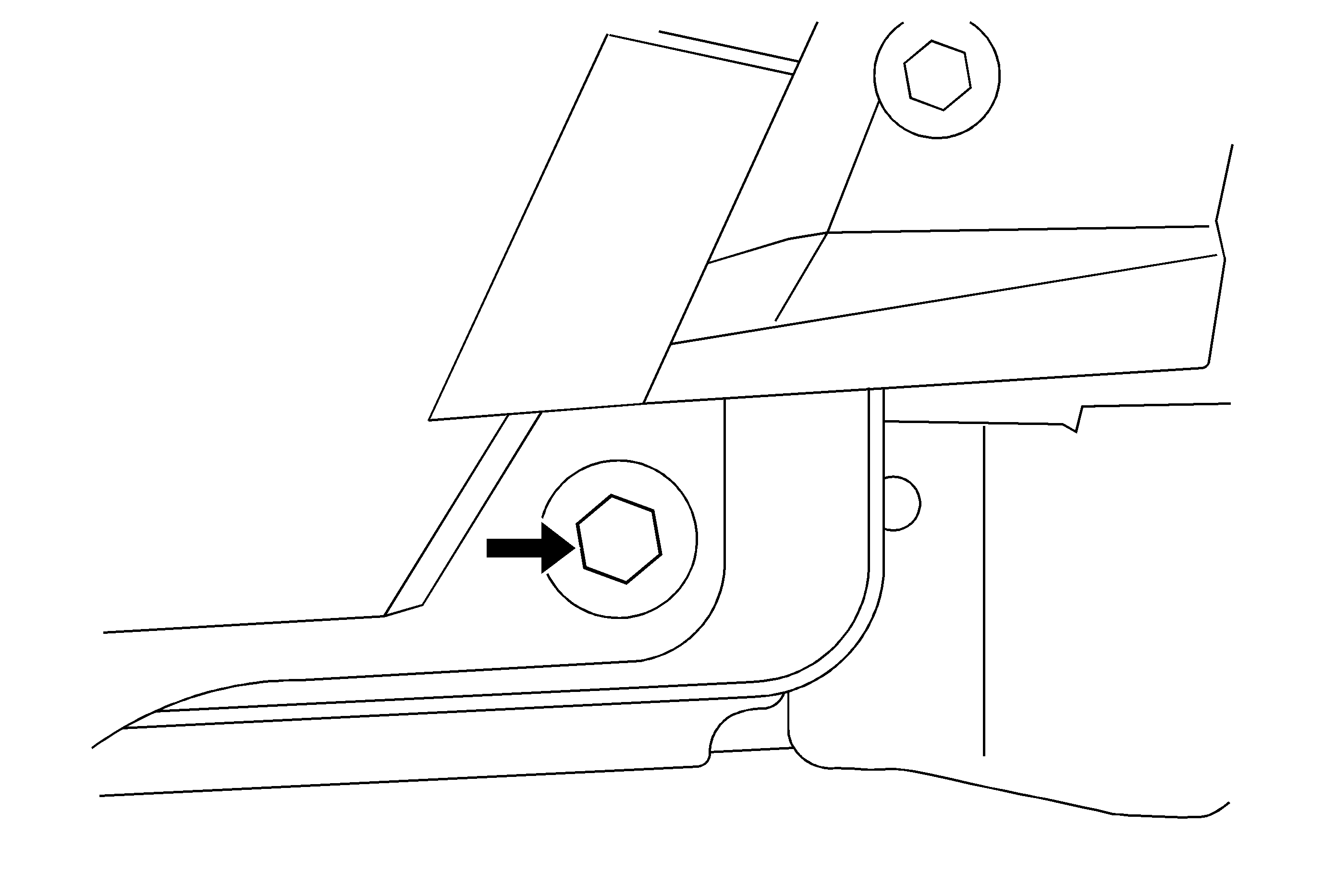
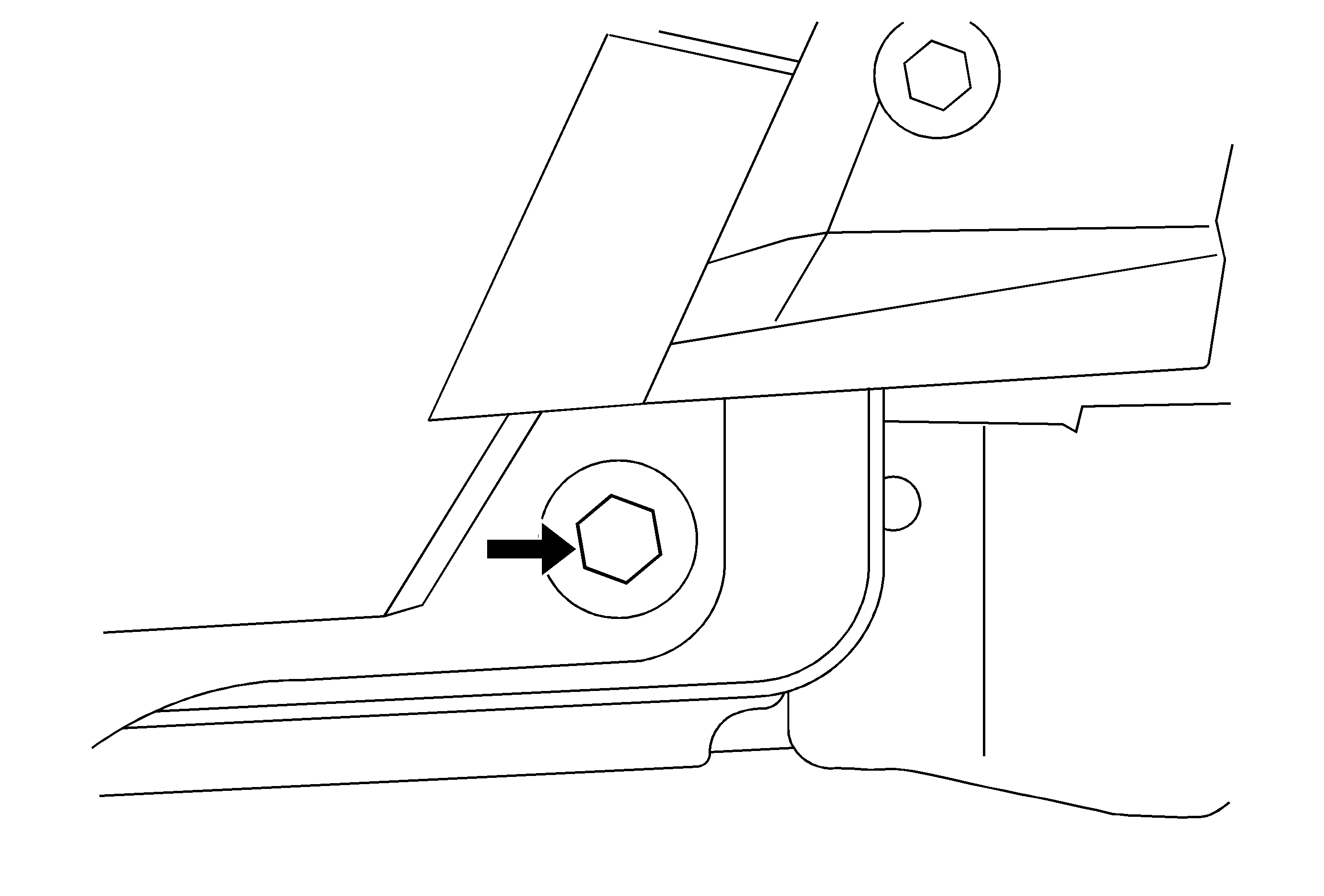
  21. Loosen, but do not completely remove (as shown in graphic), the six I/P secure bolts to body brackets (three per side) at the ends of the I/P. Four of the bolts run horizontally, securing the I/P in a fore/aft direction. Two of the bolts run vertically, securing the I/P in an up/down direction. All six bolts need to be loosened enough to allow the I/P to seat downward.

  22. Object Number: 1969056  Size: MF
  23. Loosen the top five dash screws.

  24. Object Number: 1962887  Size: MF
  25. Loosen the top bolt, as shown in the graphic, through the windshield.
  26. Important: You are now ready to re-secure the I/P in a prescribed order. The primary goal is to set the height of the I/P without compromising the sealing at the front of dash. If the I/P trim is lower than the door trim (I/P needs to be raised), proceed to Step 17.

  27. Push down on the I/P at each end to fully seat the cockpit down on the body brackets. You may need to grab the entire I/P and try to wiggle it up/down or it may just seat downward by applying pressure to the top pad.

  28. Object Number: 1962890  Size: MF
  29. With an assistant, apply downward pressure on the I/P while completely securing the top vertical bolt to the proper torque. Do this on both sides to the top bolts, as shown, through the windshield.
  30. Tighten
    Tighten the bolts to 25 N·m (18 lb ft).

  31. Fasten the four I/P to body bracket horizontal bolts to the proper torque. These bolts do not need to be tightened in any particular order. Proceed to Step 20.
  32. Tighten
    Tighten the bolts to 25 N·m (18 lb ft).

  33. Push up on the I/P at each end to align the I/P trim to the door trim. You may need to grab the entire I/P and try to wiggle it up/down.
  34. While holding the I/P in position, fasten the four I/P to body bracket horizontal bolts to the proper torque. Tighten two bolts on one side and then the other side.
  35. Tighten
    Tighten the bolts to 25 N·m (18 lb ft).

  36. Secure the top vertical bolt to the proper torque. Do this on both sides.
  37. Tighten
    Tighten the bolts to 25 N·m (18 lb ft).


    Object Number: 1969057  Size: MF
  38. When the dash is at the correct height, tighten the four I/P retaining screws on each side in the order called out in the illustration.

  39. Object Number: 1969056  Size: MF
  40. Tighten the top five dash screws.

  41. Object Number: 1962882  Size: MF

    Object Number: 1962883  Size: MF

    Important: Verify that the I/P trim and the door trim are in proper alignment before proceeding. If not, then return to Step 11 and loosen the bolts on the side that is not aligned.

  42. Tighten the five bolts at the I/P to floor bracket.
  43. Tighten
    Tighten the bolts to 9 N·m (80 lb in).


    Object Number: 1962894  Size: MF
  44. Position the center console and install the four console to I/P screws.
  45. Tighten
    Tighten the screws to 2 N·m (18 lb in).


    Object Number: 1962880  Size: MF
  46. Install the console screws under the shifter plate in the four locations shown above.

  47. Object Number: 1962879  Size: MF
  48. Install the shifter plate bezel and shifter surround trim in order to access the console secure screws. Refer to Front Floor Upper Console Trim Plate Replacement.

  49. Object Number: 1962895  Size: MF
  50. Install the four screws to the side of the center console at the I/P (two per side).
  51. Tighten
    Tighten the screws to 2 N·m (18 lb in).


    Object Number: 1962875  Size: MF

    Object Number: 1962876  Size: MF
  52. Install the console side covers. Refer to Front Floor Console Side Trim Panel Replacement - Right Side and Front Floor Console Side Trim Panel Replacement - Left Side.

  53. Object Number: 1962874  Size: MF
  54. Install the I/P upper trim panel. Refer to Instrument Panel Upper Trim Panel Replacement.

  55. Object Number: 1962872  Size: MF

    Object Number: 1962873  Size: MF
  56. Install the A pillar garnish moldings. Refer to Windshield Pillar Garnish Molding Replacement.

  57. Object Number: 1962870  Size: MF

    Object Number: 1962871  Size: MF
  58. Install the I/P end caps. Refer to Instrument Panel Outer Trim Cover Replacement.

Warranty Information

For vehicles repaired under warranty, use:

Labor Operation

Description

Labor Time

C9789*

Dash Alignment

0.9 hr

*This is a unique labor operation for bulletin use only. It will not be published in the Labor Time Guide.