GM Service Manual Online
For 1990-2009 cars only
Makes
🢒
Saturn
🢒
2007
🢒
AURA
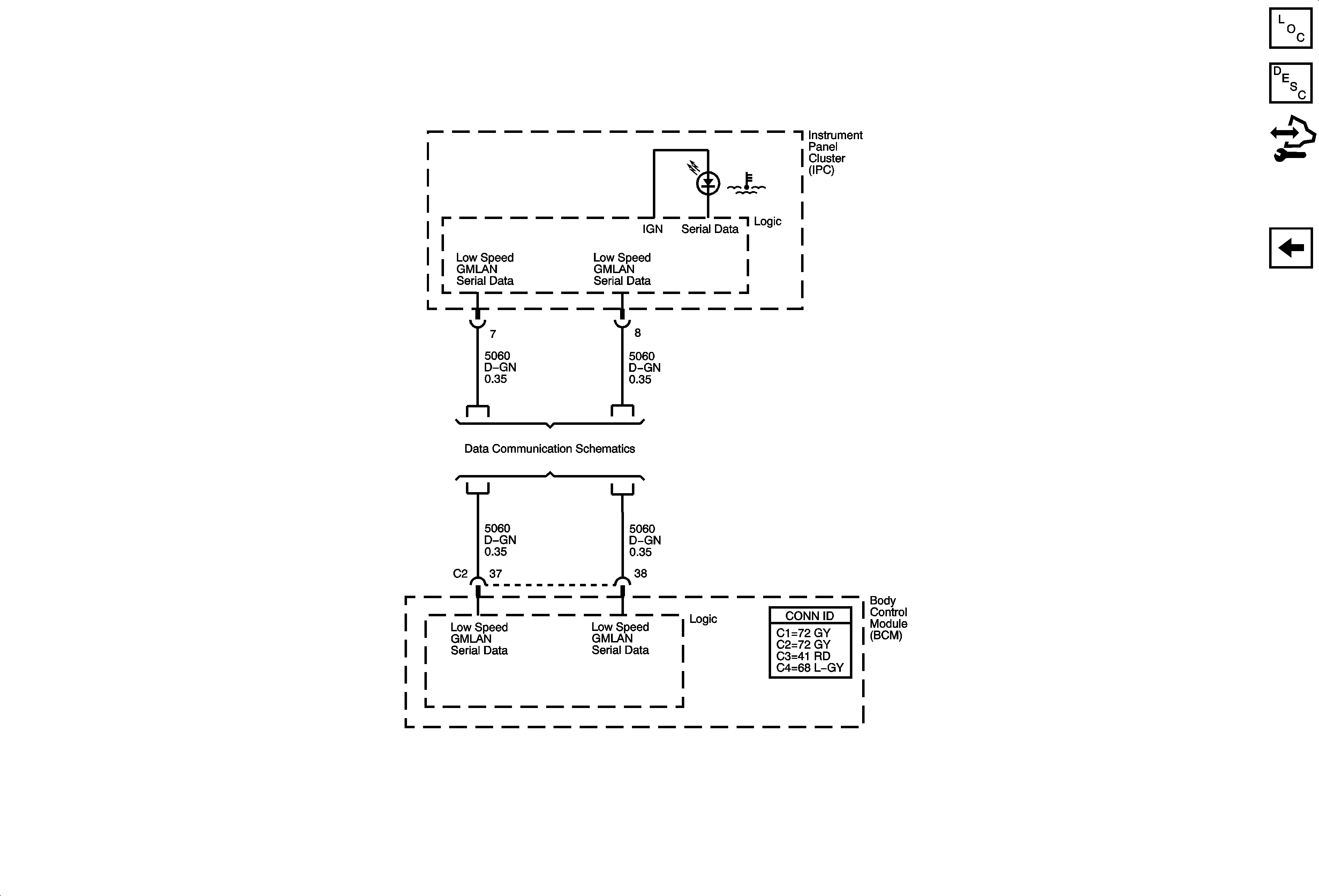
🢒 Coolant Indicators
Coolant Indicators
Coolant Indicators
Master Electrical Component List
Cooling Fan Description and Operation
Control Module References
Cooling Fans (w/o LAT)
Low Speed Serial Data