GM Service Manual Online
For 1990-2009 cars only

Special Tools

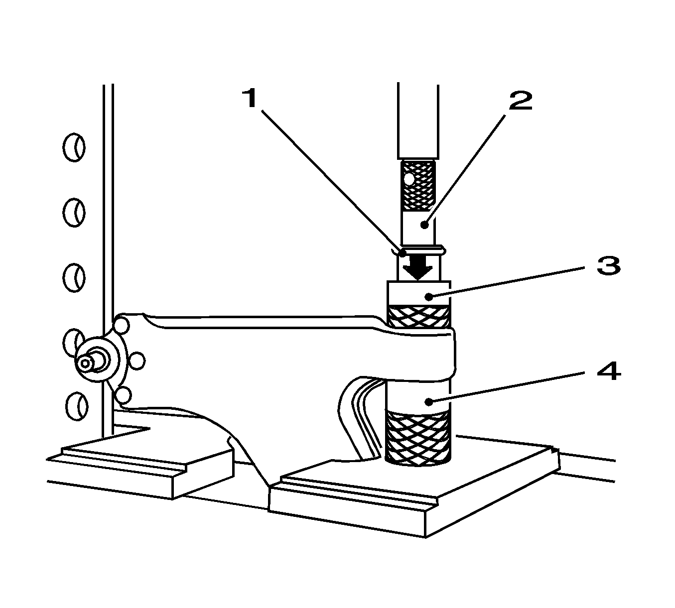
KM-508-A /KM-508-A-2/KM-508-A-3 Control Arm Bushing Remover/Installer

Removal Procedure

    Important: In general, both damping bushings must be replaced in lower control arm.

  1. Remove the lower control arm. Refer to Lower Control Arm Replacement .

  2. Object Number: 1936047  Size: SH
  3. Press the front damping bushing out with KM-508-A KM-508-A-1  (1) and  (2).

Installation Procedure

  1. Coat the front damping bushing (1) and inside of tool KM-508-A and lower control arm with soap solution before pressing in.
  2. Press in the front damping bushing with KM-508-A  (3), KM-508-A  (2) and KM-508-A  (4).

  3. Object Number: 1936005  Size: SH
  4. Install the lower control arm. Refer to Lower Control Arm Replacement .