GM Service Manual Online
For 1990-2009 cars only

Removal Procedure

  1. Ensure the vehicle is in park or gear.
  2. Release the handbrake.

  3. Object Number: 1940501  Size: SH
  4. Detach the boot of the handbrake lever (2).
  5. Slacken the handbrake cable by turning back the adjusting nut (3).
  6. Raise and support the vehicle. Refer to Lifting and Jacking the Vehicle .
  7. Remove the rear wheels. Refer to Tire and Wheel Removal and Installation .

  8. Object Number: 1973147  Size: SH
  9. Push down the 2 operating levers (1) at the brake caliper with a screwdriver.
  10. Detach the 2 handbrake cables from operating levers.
  11. Remove the 2 retaining clips (2).
  12. Detach the 2 handbrake cables from brake caliper.
  13. Separate the handbrake cables from the restraining clips along the axle.
  14. Important: The brake system remains closed and the brake linings installed.

  15. Disconnect the restraining brackets holding the wheel speed sensor wires and service brake hoses to the rear axle.
  16. Disconnect both wheel speed sensors.
  17. Place a hydraulic lift table under the rear axle.
  18. Important: Ensure that the vehicle does not lift from the lifting platform attachment points.

  19. Raise the hydraulic lift table.
  20. Remove the 2 shock absorbers from the rear axle.
  21. Remove the 2 bolts.

  22. Lower the hydraulic lift table enough to allow for spring removal.
  23. Important: Note installation position of damping rings.

  24. Remove the 2 springs.
  25. Remove the 4 damping rings.

  26. Object Number: 2038219  Size: SH
  27. Separate both brake/hub assemblies from the axle by removing the bolts (1) and suspend hub/brake assembly in the wheel wells.

  28. Object Number: 2038218  Size: SH
  29. Mark all body to bracket bolt locations on both rear axle bushing brackets.
  30. Important: The bolts must not be removed from the rear axle bracket using an impulse or impact screwdriver.

  31. Make sure the hydraulic lift table is supporting the rear axle.
  32. Remove the 6 bolts from the vehicle underbody.
  33. Lower the rear axle with the hydraulic lift table.

Disassemble Procedure

  1. Remove the rear axle. Refer to Rear Axle Replacement .

  2. Object Number: 2038221  Size: SH
  3. Remove the handbrake cable brackets (1) and clips (2) from the rear axle.
  4. Remove bushing through bolts and rear axel bushing bracket.

Assemble Procedure

    Notice: Refer to Fastener Notice in the Preface section.

  1. Loosely install rear axel bushing bracket and new bushing through bolts.

  2. Object Number: 2038221  Size: SH
  3. Install the handbrake cable brackets and clips to the rear axle.
  4. Tighten
    Tighten the bolted handbrake cable brackets to 8 N·m (71 lb in).

  5. Install the rear axle. Refer to Rear Axle Replacement .

Installation Procedure

  1. Inspect the thread of the cage nuts on the vehicle underbody for damage.
  2. Important: The rear axle bracket bolts must not be installed using an impulse or impact screwdriver.

  3. Install the rear axle to vehicle underbody.
  4. Loosely install the 6 new bolts.


    Object Number: 2038218  Size: SH
  5. Align the rear axle by using the previously marked bolt locations.
  6. Tighten the 6 new bolts on the rear axle bracket on the vehicle underbody.
  7. Tighten
    Tighten the rear axle bracket bolts on the vehicle underbody to 90 N·m (67 lb ft), plus 30 degrees, plus 15 degrees.


    Object Number: 1941913  Size: SH
  8. Raise the rear axle with hydraulic lift table until a distance of I=173±10 mm is achieved between the spring mounts at the rear axle and the spring mounts at the vehicle underbody.
  9. ยท Distance has to be adjusted on both sides.


    Object Number: 1941916  Size: SH
  10. If the bolted joint on the rear axle bracket on the damping bush is undone.
  11. Tighten
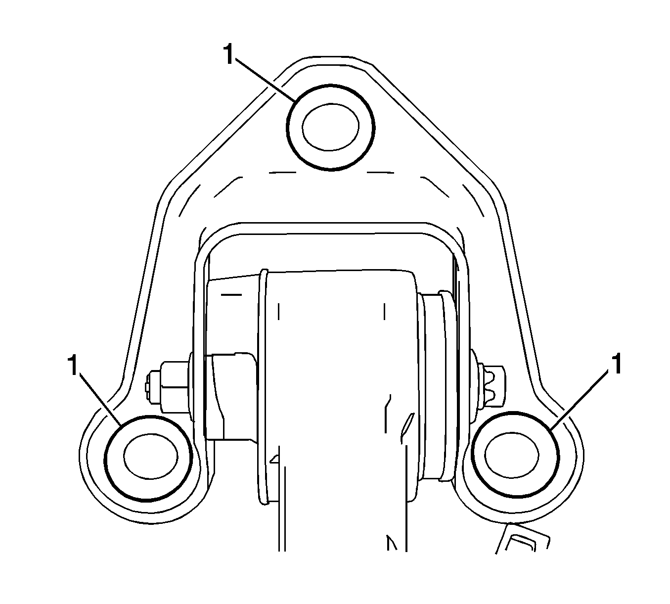
    Tighten the new bolted joint (1) on the rear axle bracket on the damping bush to 90 N·m (67 lb ft) plus 60 degrees, plus 15 degrees.


    Object Number: 2038219  Size: SH
  12. Install the hub/rotor/brake assemblies.
  13. Tighten
    Tighten the 4 new nuts to 50 N·m (37 lb ft) plus 30 degrees, plus 15 degrees.

  14. Reconnect both wheel speed sensors.
  15. Lower the hydraulic lift table enough to allow for spring installation.
  16. Install the 4 damping rings to the springs.
  17. Insert the 2 springs
  18. Important: Ensure that the vehicle does not lift from the lifting platform attachment points.

  19. Raise the rear axle until both shock absorbers can be attached to rear axle.
  20. Install the shock absorbers to the rear axle.
  21. Tighten
    Tighten the 2 bolts to 130 N·m (96 lb ft).

  22. Lower the hydraulic lift table and remove.

  23. Object Number: 1973147  Size: SH
  24. Attach the handbrake cable to the brake caliper.
  25. • Insert the 2 handbrake cables into the bracket on the brake caliper.
    • Attach the 2 retaining clips (2) to handbrake cable.
    • Push down the 2 operating levers (1) at brake caliper with a screwdriver.
    • Attach the 2 handbrake cables.
  26. Reattach parking brake cables to retaining brackets.
  27. Reconnect the restraining brackets holding the wheel speed sensor wires and service brake hoses to the rear axle.
  28. Install the rear wheels. Refer to Tire and Wheel Removal and Installation .
  29. Lower the vehicle.
  30. Adjust the handbrake. Refer to Park Brake Adjustment .