GM Service Manual Online
For 1990-2009 cars only
Connector 1: 1/2-3/4 Shift Solenoid (SS) Valve (MNF)
Connector 2: 2/3 Shift Solenoid (SS) Valve (MNF)
Connector 3: Accessory Power Outlet
Connector 4: A/C Compressor Clutch (C60)
Connector 5: A/C Refrigerant Pressure Sensor (C60)
Connector 6: Accelerator Pedal Position (APP) Sensor
Connector 7: Air Temperature Actuator
Connector 8: Ambient Air Temperature Sensor 1
Connector 9: Ambient Air Temperature Sensor 2
Connector 10: Antenna
Connector 11: Automatic Transmisssion Input Shaft Speed (ISS) Sensor (MNF)
Connector 12: Automatic Transmisssion Fluid Temperature (TFT) Sensor (MNF)
Connector 13: Automatic Transmisssion Output Shaft Speed (OSS) Sensor (MNF)
Connector 14: Automatic Transmission Shift Lever Position Indicator (MNF)
Connector 15: Backup Lamp Switch (M25)
Connector 16: Barometric Pressure (BARO) Sensor
Connector 17: Battery
Connector 18: Blower Motor
Connector 19: Blower Motor Resistor Assembly
Connector 20: Brake Booster Pump Motor
Connector 21: Brake Fluid Level Switch
Connector 22: Camshaft Position (CMP) Actuator Solenoid Valve - Exhaust
Connector 23: Camshaft Position (CMP) Actuator Solenoid Valve - Intake
Connector 24: Camshaft Position (CMP) Sensor - Exhaust
Connector 25: Camshaft Position (CMP) Sensor - Intake
Connector 26: Cargo Lamp
Connector 27: Cellular Telephone Microphone
Connector 28: Center High Mounted Stop Lamp (CHMSL)
Connector 29: Clutch Pedal Position (CPP) Switch (M25)
Connector 30: Courtesy/Reading Lamps - 2nd Row
Connector 31: Crankshaft Position (CKP) Sensor
Connector 32: Cruise Control Clutch Pedal Release Switch (M25)
Connector 33: Data Link Connector (DLC)
Connector 34: Dome/Reading Lamp - Front
Connector 35: Door Lock - Driver
Connector 36: Door Lock - Left Rear
Connector 37: Door Lock - Passenger
Connector 38: Door Lock Relay
Connector 39: Door Lock - Right Rear
Connector 40: Door Unlock Relay
Connector 41: Driver Information Center (DIC)
Connector 42: Electronic Brake Control Module (EBCM)
Connector 43: Engine Control Module (ECM) X1
Connector 44: Engine Control Module (ECM) X2
Connector 45: Engine Control Module (ECM) X3
Connector 46: Engine Coolant Level Switch
Connector 47: Engine Coolant Temperature (ECT) Sensor
Connector 48: Engine Cooling Fan (MNF with C41 or M25)
Connector 49: Engine Cooling Fan - Left (MNF with C60)
Connector 50: Engine Cooling Fan - Right (MNF with C60)
Connector 51: Engine Oil Level (EOL) Switch
Connector 52: Engine Oil Pressure (EOP) Switch
Connector 53: Evaporative Emission (EVAP) Canister Purge Solenoid Valve
Connector 54: Evaporative Emission (EVAP) Canister Vent Solenoid Valve
Connector 55: Fog Lamp - Left Front (T96)
Connector 56: Fog Lamp - Right Front (T96)
Connector 57: Fuel Door Release Actuator
Connector 58: Fuel Injector 1
Connector 59: Fuel Injector 2
Connector 60: Fuel Injector 3
Connector 61: Fuel Injector 4
Connector 62: Fuel Pump and Sender Assembly
Connector 63: Fuel Tank Pressure (FTP) Sensor
Connector 64: Generator - X1
Connector 65: Generator - X2
Connector 66: Headlamp - Left High Beam Solenoid
Connector 67: Headlamp - Left Low Beam
Connector 68: Headlamp - Right High Beam Solenoid
Connector 69: Headlamp - Right Low Beam
Connector 70: Headlamp and Panel Dimmer Switch
Connector 71: Heated Oxygen Sensor (HO2S) 1
Connector 72: Heated Oxygen Sensor (HO2S) 2
Connector 73: Heated Seat Element - Driver Cushion (KA1)
Connector 74: Heated Seat Element - Passenger Cushion (KA1)
Connector 75: Hood Ajar Switch
Connector 76: Horn
Connector 77: HVAC Control Module, X1
Connector 78: HVAC Control Module, X2
Connector 79: I/P Compartment - Lamp
Connector 80: Ignition Control Module (ICM)
Connector 81: Inflatable Restraints Front End Sensor - Left
Connector 82: Inflatable Restraint Front End Sensor - Right
Connector 83: Inflatable Restraint Front Passenger Presence System (PPS) Module
Connector 84: Inflatable Restraint I/P Module - X1
Connector 85: Inflatable Restraint I/P Module - X2
Connector 86: Inflatable Restraint Steering Wheel Module - X1
Connector 87: Inflatable Restraint Steering Wheel Module - X2
Connector 88: Inflatable Restraint Roof Rail Module - Left
Connector 89: Inflatable Restraint Roof Rail Module - Right
Connector 90: Inflatable Restraint Sensing and Diagnostic Module (SDM) - X1
Connector 91: Inflatable Restraint Sensing and Diagnostic Module (SDM) - X2
Connector 92: Inflatable Restraint Side Impact Sensor (SIS) - Left
Connector 93: Inflatable Restraint Side Impact Sensor (SIS) - Right
Connector 94: Inflatable Restraint Steering Wheel Module Coil
Connector 95: Inside Rearview Mirror (ISRVM)
Connector 96: Instrument Panel Cluster (IPC)
Connector 97: Intake Manifold Tuning (IMT) Solenoid Valve
Connector 98: Intake Manifold Tuning Valve (IMTV) Sensor
Connector 99: K50 Relay (C3U)
Connector 100: K93 Relay (MNF)
Connector 101: Knock Sensor (KS)
Connector 102: License Lamp - Left
Connector 103: License Lamp - Right
Connector 104: Liftgate Latch Assembly
Connector 105: Liftgate Release Switch
Connector 106: Mass Air Flow (MAF) / Intake Air Temperature (IAT) sensor
Connector 107: Mode Actuator
Connector 108: Multifunction Switch - I/P
Connector 109: Neutral Control Solenoid Valve (MNF)
Connector 110: Outside Rearview Mirror - Driver
Connector 111: Outside Rearview Mirror - Passenger
Connector 112: Park Brake Switch
Connector 113: Park/Neutral Position (PNP) Switch (MNF)
Connector 114: Position Lamp - Left
Connector 115: Position Lamp - Right
Connector 116: Power Steering Control Module (PSCM) - X1 (NS2/NR1)
Connector 117: Power Steering Control Module (PSCM) - X2
Connector 118: Pressure Control (PC) Solenoid Valve (MNF)
Connector 119: Radio - X1
Connector 120: Rear Window Defogger Grid - X1
Connector 121: Rear Window Defogger Grid - X2
Connector 122: Rear Window Wiper Motor
Connector 123: Recirculation Actuator
Connector 124: Repeater Lamp - Left Front
Connector 125: Repeater Lamp - Right Front
Connector 126: Seat Position Sensor - Passenger
Connector 127: Side Marker Lamp - Left Front
Connector 128: Side Marker Lamp - Left Rear
Connector 129: Side Marker Lamp - Right Front
Connector 130: Side Marker Lamp - Right Rear
Connector 131: Speaker - Center I/P
Connector 132: Speaker - Left Front Tweeter (U65)
Connector 133: Speaker - Left Front
Connector 134: Speaker - Left Rear
Connector 135: Speaker - Right Front
Connector 136: Speaker - Right Front Tweeter (U65)
Connector 137: Speaker - Right Rear
Connector 138: Starter - X1
Connector 139: Starter - X2
Connector 140: Steering Wheel Control Switch - Left
Connector 141: Steering Wheel Control Switch - Right
Connector 142: Steering Column Control Module
Connector 143: Stop Lamp Switch
Connector 144: Sunroof Control Module (C3U)
Connector 145: Sunroof Shade Module (C3U)
Connector 146: Sunroof Shade Switch (C3U)
Connector 147: Sunroof Switch (C3U)
Connector 148: Sunshade - Left
Connector 149: Sunshade - Right
Connector 150: Tail Lamp - Left
Connector 151: Tail Lamp - Right
Connector 152: Throttle Body
Connector 153: Tire Pressure Module
Connector 154: Torque Converter Clutch (TCC) Solenoid Valve (MNF)
Connector 155: Transmission Control Module (TCM) (MNF)
Connector 156: Vehicle Communication Interface Module (VCIM) Battery
Connector 157: Vehicle Communications Interface Module (VCIM) - Left - X1
Connector 158: Vehicle Communications Interface Module (VCIM) - Left - X2
Connector 159: Vehicle Communications Interface Module (VCIM) - Left - X4
Connector 160: Vehicle Communications Interface Module (VCIM) - Left - X5
Connector 161: Vehicle Communications Interface Module (VCIM) - Left - X6
Connector 162: Vehicle Communications Interface Module (VCIM) - Right
Connector 163: Wheel Speed Sensor (WSS) - Left Front
Connector 164: Wheel Speed Sensor (WSS) - Left Rear
Connector 165: Wheel Speed Sensor (WSS) - Right Front
Connector 166: Wheel Speed Sensor (WSS) - Right Rear
Connector 167: Window Motor - Driver
Connector 168: Window Motor - Left Rear (5 Door)
Connector 169: Window Motor - Passenger
Connector 170: Window Motor - Right Rear (5 Door)
Connector 171: Window Switch - Driver
Connector 172: Window Switch - Left Rear (5 Door)
Connector 173: Window Switch - Passenger
Connector 174: Window Switch - Right Rear (5 Door)
Connector 175: Windshield Outside Moisture Sensor
Connector 176: Windshield Washer Fluid Level Switch
Connector 177: Windshield Washer Fluid Pump
Connector 178: Windshield Wiper Motor
Connector 179: Winter Mode Switch (MNF)
Connector 180: Yaw and Lateral Accelerometer Sensor (FX3)

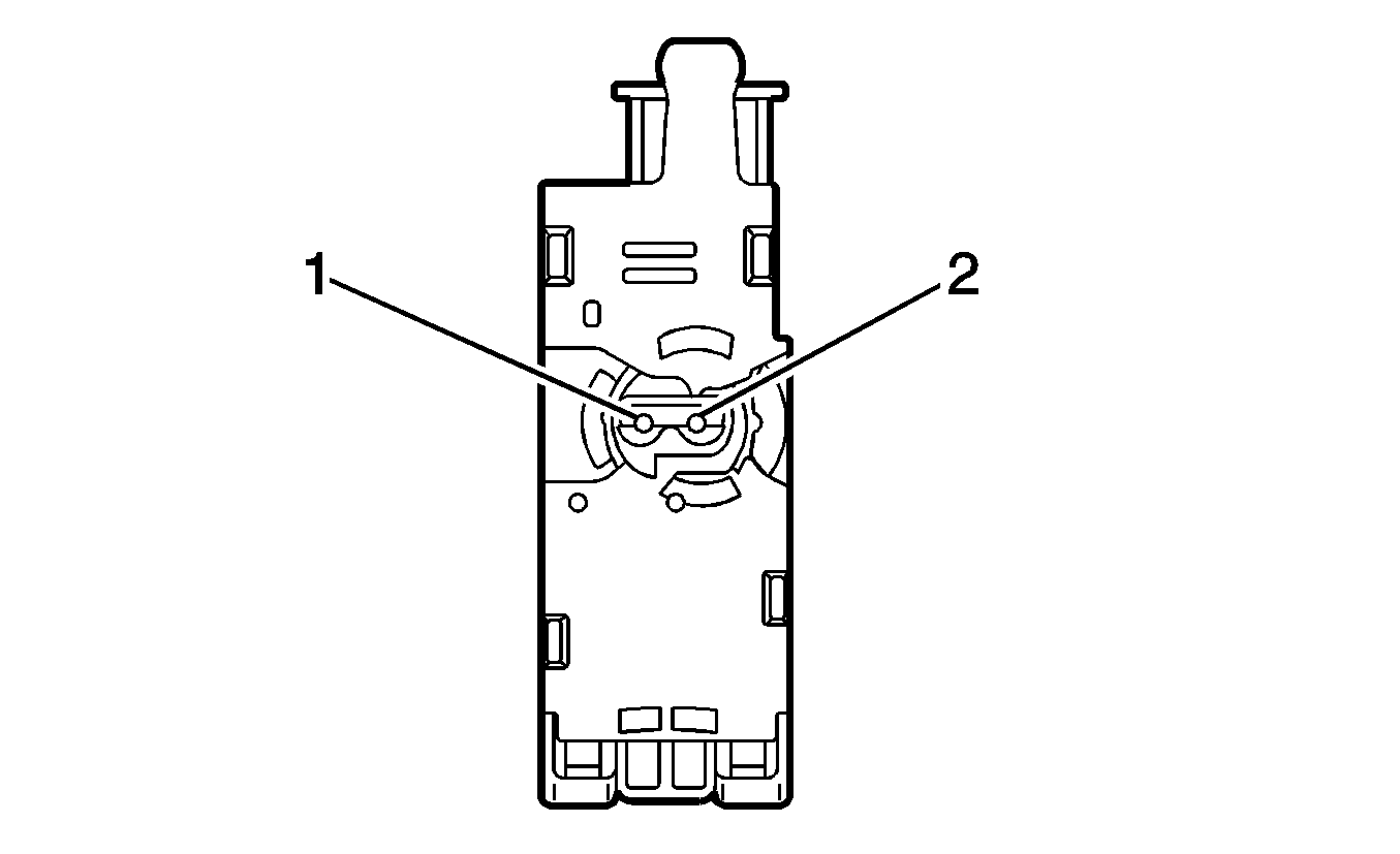
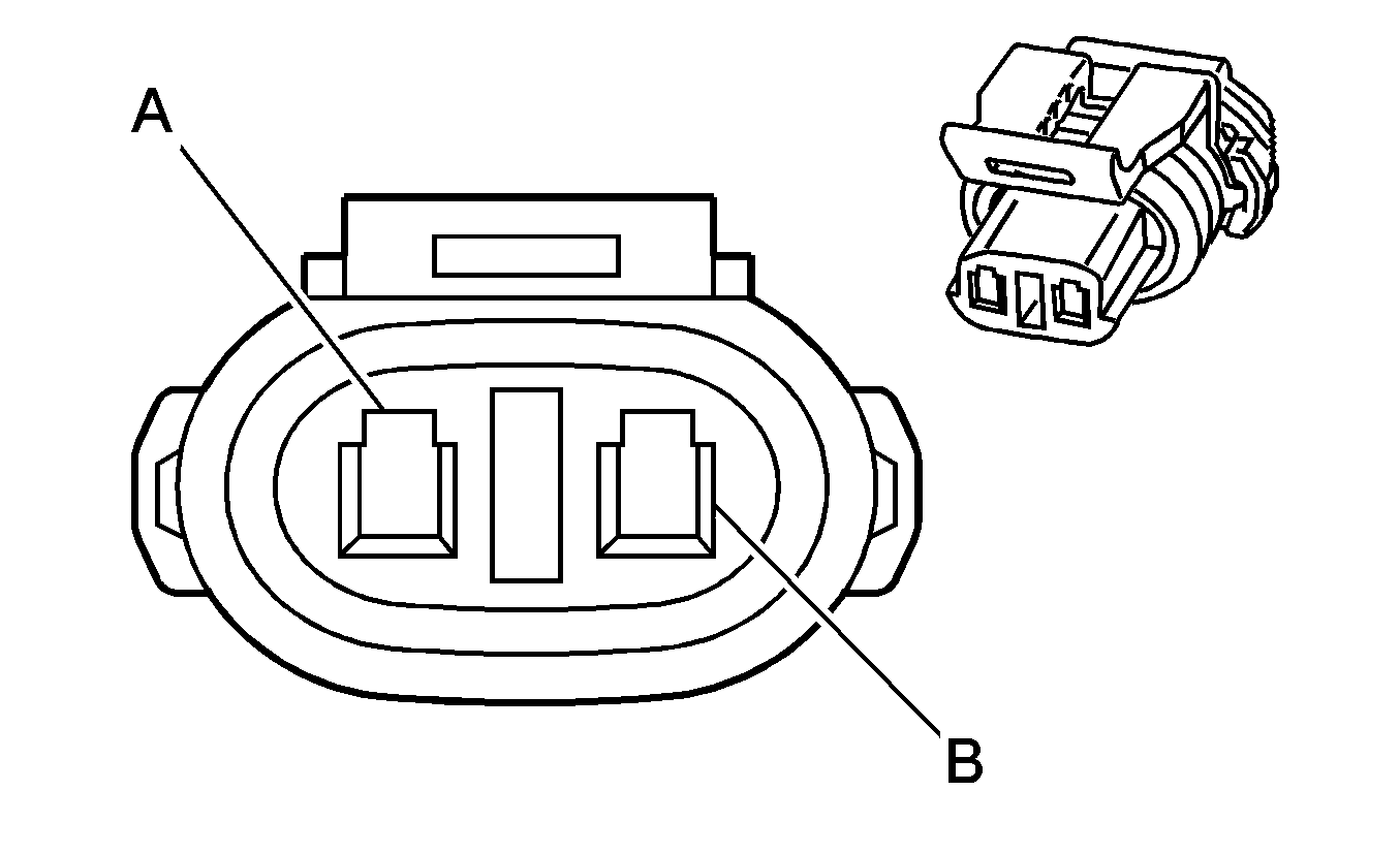
1/2-3/4 Shift Solenoid (SS) Valve (MNF)

Connector Part Information

  • OEM: See Catalog
  • Service: Service by Harness - See Part Catalog
  • Description: 2-Way F (BK)

Terminal Part Information

  • Terminal/Tray: Service by Harness - See Part Catalog
  • Release Tool/Test Probe: N/A

1/2-3/4 Shift Solenoid (SS) Valve (MNF)

Pin

Wire Color

Circuit No.

Function

A

--

--

Low Reference

B

BK

1526

Shift Solenoid Supply Voltage 2

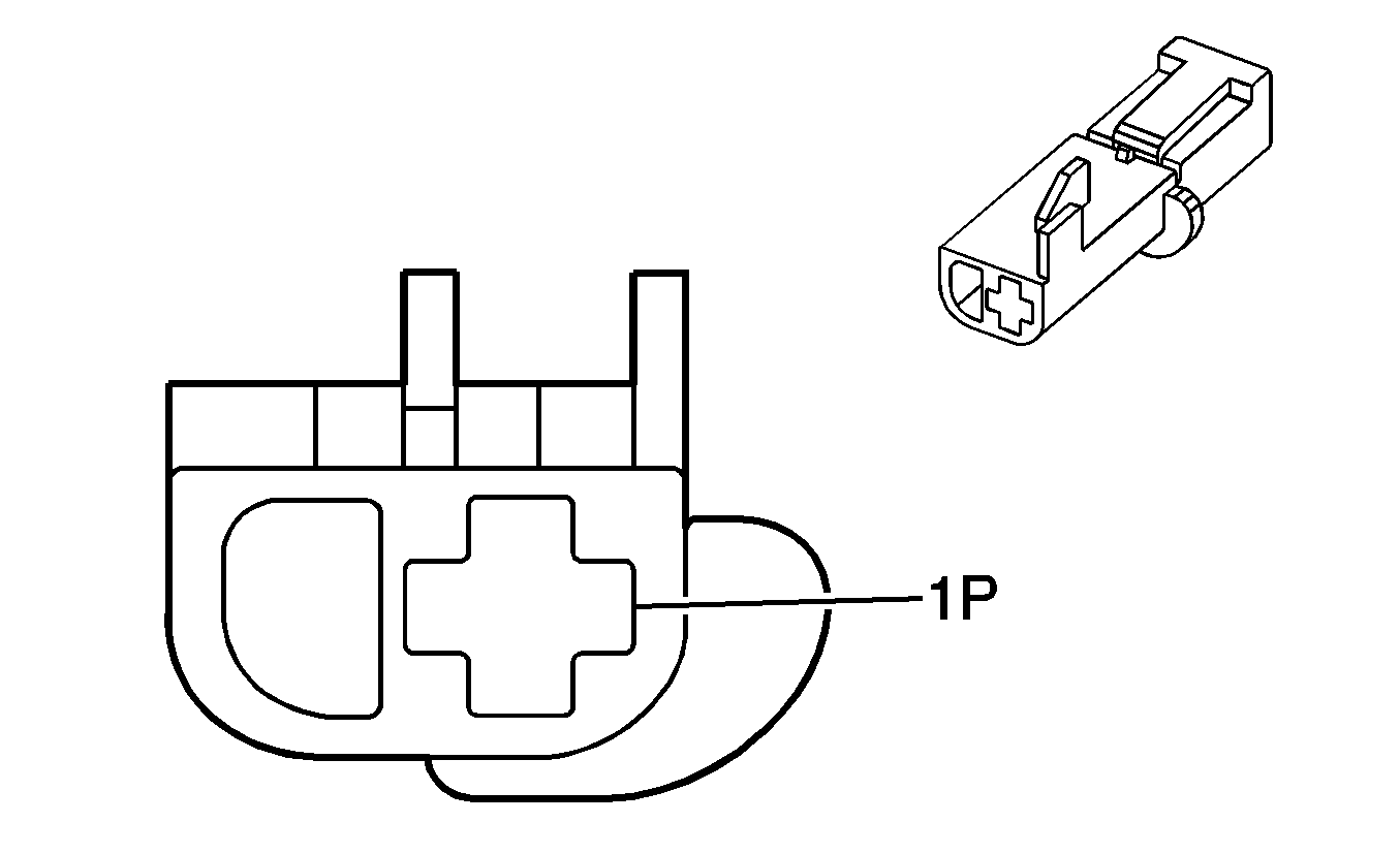
2/3 Shift Solenoid (SS) Valve (MNF)

Connector Part Information

  • OEM: See Catalog
  • Service: Service by Harness - See Part Catalog
  • Description: 2-Way F (BK)

Terminal Part Information

  • Terminal/Tray: Service by Harness - See Part Catalog
  • Release Tool/Test Probe: N/A

2/3 Shift Solenoid (SS) Valve (MNF)

Pin

Wire Color

Circuit No.

Function

A

--

--

Low Reference

B

WH

1525

Shift Solenoid Supply Voltage 1

Accessory Power Outlet


Object Number: 1865589  Size: CH

Connector Part Information

  • OEM: 926522-1
  • Service: 9198842
  • Description: 2-Way F Positive Lock Series (BK)

Terminal Part Information

  • Terminal/Tray: Service Connector Assembly - 9198842
  • Release Tool/Test Probe: N/A

Accessory Power Outlet

Pin

Wire Color

Circuit No.

Function

1

1.5 BN

1650

Ground

2

1.5 RD

502

Battery Positive Voltage

A/C Compressor Clutch (C60)


Object Number: 2039676  Size: CH

Connector Part Information

  • OEM: 2880-4147-0773
  • Service: Service by Harness - See Part Catalog
  • Description: 2-Way F Sealed (BK)

Terminal Part Information

  • Terminal/Tray: Service by Harness - See Part Catalog
  • Release Tool/Test Probe: N/A

A/C Compressor Clutch (C60)

Pin

Wire Color

Circuit No.

Function

A

1.5 BN/RD

1250

Ground

B

1 BK/WH

59

A/C Compressor Clutch Supply Voltage

A/C Refrigerant Pressure Sensor (C60)


Object Number: 2039682  Size: CH

Connector Part Information

  • OEM: 30432421
  • Service: Service by Harness - See Part Catalog
  • Description: 3-Way F Sealed (BK)

Terminal Part Information

  • Terminal/Tray: Service by Harness - See Part Catalog
  • Release Tool/Test Probe: N/A

A/C Refrigerant Pressure Sensor (C60)

Pin

Wire Color

Circuit No.

Function

1

0.5 BN/BK

5514

Low Reference

2

0.5 BK/WH

2700

5 Volt Reference 1

3

0.5 GN

380

A/C Refrigerant Pressure Sensor Signal

Accelerator Pedal Position (APP) Sensor


Object Number: 1468854  Size: CH

Connector Part Information

  • OEM: 6-929264-1
  • Service: 89046653
  • Description: 6-Way F MT2 Housing (BK)

Terminal Part Information

  • Terminal/Tray: Service by Connector Assembly - 89046653
  • Release Tool/Test Probe: N/A

Accelerator Pedal Position (APP) Sensor

Pin

Wire Color

Circuit No.

Function

1

0.5 BK/YE

1274

5 Volt Reference 2

2

0.5 BK/RD

1164

5 Volt Reference 1

3

0.5 WH/YE

1161

Accelerator Pedal Position Signal 1

4

0.5 BN/RD

1271

Low Reference

5

0.5 BN/WH

1272

Low Reference

6

0.5 WH/GN

1162

Accelerator Pedal Position Signal 2

Air Temperature Actuator


Object Number: 2071630  Size: CH

Connector Part Information

  • OEM:1355082-1
  • Service: Service by Harness - See Part Catalog
  • Description: 6-Way F MQS Series, (BK)

Terminal Part Information

  • Terminal/Tray: Service by Harness - See Part Catalog
  • Release Tool/Test Probe: N/A

Air Temperature Actuator

Pin

Wire Color

Circuit No.

Function

1

BN/BK

--

8V Reference

2

GY

--

Air Temperature Actuator Position Signal

3

BK

--

Low Reference

4

--

--

Not Used

5

RD

--

Air Temperature Actuator Motor Control B

6

WH

--

Air Temperature Actuator Motor Control A

Ambient Air Temperature Sensor 1


Object Number: 2039635  Size: CH

Connector Part Information

  • OEM: 1452680-2
  • Service: Service by Harness - See Part Catalog
  • Description: 2-Way F 1.2 Timer Series, Sealed (BK)

Terminal Part Information

  • Terminal/Tray: Service by Harness - See Part Catalog
  • Release Tool/Test Probe: N/A

Ambient Air Temperature Sensor 1

Pin

Wire Color

Circuit No.

Function

1

0.5 BU

636

Outside Ambient Air Temperature Sensor Signal

2

0.5 BU/BN

61

Low Reference

Ambient Air Temperature Sensor 2


Object Number: 2039635  Size: CH

Connector Part Information

  • OEM: 1452680-2
  • Service: Service by Harness - See Part Catalog
  • Description: 2-Way F 1.2 Timer Series, Sealed (BK)

Terminal Part Information

  • Terminal/Tray: Service by Harness - See Part Catalog
  • Release Tool/Test Probe: N/A

Ambient Air Temperature Sensor 2

Pin

Wire Color

Circuit No.

Function

1

0.5 BU

636

Outside Ambient Air Temperature Sensor Signal

2

0.5 BU/BN

61

Low Reference

Antenna


Object Number: 2039625  Size: CH

Connector Part Information

  • OEM: 1355648-1
  • Service: Service by Harness - See Part Catalog
  • Description: 4-Way M 64 MQS Series, Sealed (D-BU)

Terminal Part Information

  • Terminal/Tray: Service by Harness - See Part Catalog
  • Release Tool/Test Probe: N/A

Antenna

Pin

Wire Color

Circuit No.

Function

1

0.35 COAX

5173

Antenna Radio Screen

2

--

--

Not Used

3

0.35 COAX

6797

GSM Antenna Screen

4

0.35 COAX

5175

Antenna Navigation Screen

Automatic Transmisssion Input Shaft Speed (ISS) Sensor (MNF)

Connector Part Information

  • OEM: See Catalog
  • Service: Service by Harness - See Part Catalog
  • Description: 2-Way F (BK)

Terminal Part Information

  • Terminal/Tray: Service by Harness - See Part Catalog
  • Release Tool/Test Probe: N/A

Automatic Transmisssion Input Shaft Speed (ISS) Sensor (MNF)

Pin

Wire Color

Circuit No.

Function

A

GN

1231

Low Reference

B

YE/BK

1230

Transmission Speed Sensor Signal

Automatic Transmisssion Fluid Temperature (TFT) Sensor (MNF)

Connector Part Information

  • OEM: See Catalog
  • Service: Service by Harness - See Part Catalog
  • Description: 2-Way F (BK)

Terminal Part Information

  • Terminal/Tray: Service by Harness - See Part Catalog
  • Release Tool/Test Probe: N/A

Automatic Transmisssion Fluid Temperature (TFT) Sensor (MNF)

Pin

Wire Color

Circuit No.

Function

A

OG

586

Low Reference

B

OG

585

Transmission Oil Temperature Sensor Signal

Automatic Transmisssion Output Shaft Speed (OSS) Sensor (MNF)

Connector Part Information

  • OEM: See Catalog
  • Service: Service by Harness - See Part Catalog
  • Description: 2-Way F (BK)

Terminal Part Information

  • Terminal/Tray: Service by Harness - See Part Catalog
  • Release Tool/Test Probe: N/A

Automatic Transmisssion Output Shaft Speed (OSS) Sensor (MNF)

Pin

Wire Color

Circuit No.

Function

A

GY

401

Low Reference

B

YE

400

Vehicle Speed Sensor Signal

Automatic Transmission Shift Lever Position Indicator (MNF)


Object Number: 814535  Size: CH

Connector Part Information

  • OEM: 962321-1
  • Service: Service by Harness - See Part Catalog
  • Description: 12-Way F 064 Series (BK)

Terminal Part Information

  • Terminal/Tray: Service by Harness - See Part Catalog
  • Release Tool/Test Probe: N/A

Automatic Transmission Shift Lever Position Indicator (MNF)

Pin

Wire Color

Circuit No.

Function

1

--

--

Not Used

2

0.5 BN

2150

Ground

3-4

--

--

Not Used

5

0.5 BK

539

Run/Crank Ignition 1 Voltage

6

--

--

Not Used

7

0.5 GY/YE

1382

LED Dimming Signal

8

0.5 WH

771

Transmission Position Switch Bit 1 Signal

9

0.5 GN

772

Transmission Position Switch Bit 2 Signal

10

0.5 GY

773

Transmission Position Switch Bit 3 Signal

11

0.5 WH/YE

1371

Transmission Position Switch Bit 4 Signal

12

--

--

Not Used

Backup Lamp Switch (M25)


Object Number: 2039677  Size: CH

Connector Part Information

  • OEM: ID401561
  • Service: Service by Harness - See Part Catalog
  • Description: 2-Way F Sealed (BK)

Terminal Part Information

  • Terminal/Tray: Service by Harness - See Part Catalog
  • Release Tool/Test Probe: N/A

Backup Lamp Switch (M25)

Pin

Wire Color

Circuit No.

Function

A

0.75 BN

650

Ground

B

0.75 WH/BK

5007

Reverse Switch Signal

Barometric Pressure (BARO) Sensor


Object Number: 1914850  Size: CH

Connector Part Information

  • OEM: 15397338
  • Service: Service by Harness - See Part Catalog
  • Description: 3-Way F 2.8 Series, Sealed (BK)

Terminal Part Information

  • Terminal/Tray: Service by Harness - See Part Catalog
  • Release Tool/Test Probe: N/A

Barometric Pressure (BARO) Sensor

Pin

Wire Color

Circuit No.

Function

1

0.5 BK/BN

474

5 Volt Reference 1

2

0.5 GN/BK

6014

Low Reference

3

0.5 GN/BN

5266

Ambient Air Pressure Sensor Signal

Battery

Connector Part Information

  • OEM: KBP25-10
  • Service: Service by Harness - See Part Catalog
  • Description: 1-Way F

Terminal Part Information

  • Terminal/Tray: Service by Harness - See Part Catalog
  • Release Tool/Test Probe: N/A

Battery

Pin

Wire Color

Circuit No.

Function

--

50 BK

1

Unfused Battery Positive Voltage

25 RD

1

Unfused Battery Positive Voltage

Blower Motor

Connector Part Information

  • OEM: See Catalog
  • Service: Service by Harness - See Part Catalog
  • Description: 2-Way F (BK)

Terminal Part Information

  • Terminal/Tray: Service by Harness - See Part Catalog
  • Release Tool/Test Probe: N/A

Blower Motor

Pin

Wire Color

Circuit No.

Function

A

PU

--

Blower Motor Supply Voltage

B

BK

--

Ground

Blower Motor Resistor Assembly

Connector Part Information

  • OEM: See Catalog
  • Service: Service by Harness - See Part Catalog
  • Description: 7-Way F (BK)

Terminal Part Information

  • Terminal/Tray: Service by Harness - See Part Catalog
  • Release Tool/Test Probe: N/A

Blower Motor Resistor Assembly

Pin

Wire Color

Circuit No.

Function

1

PU

--

Medium 1 Blower Motor Control

2

BU

--

Medium 2 Blower Motor Control

3

BK

1850

Ground

4

OG

--

Low Blower Motor Control

5

GN

--

High Blower Motor Control

6

PU

--

Blower Motor Supply Voltage

7

BK

--

Ground

Brake Booster Pump Motor


Object Number: 811182  Size: CH

Connector Part Information

  • OEM: 7283-5575-10
  • Service: Service by Harness - See Part Catalog
  • Description: 2-Way F YESC/USCAR Class III Series, Sealed (D-GY)

Terminal Part Information

  • Terminal/Tray: Service by Harness - See Part Catalog
  • Release Tool/Test Probe: N/A

Brake Booster Pump Motor

Pin

Wire Color

Circuit No.

Function

1

2.5 BK

7448

Brake Booster Pump Supply Voltage

2

2.5 BN

1350

Ground

Brake Fluid Level Switch


Object Number: 2039635  Size: CH

Connector Part Information

  • OEM: 1452680-2
  • Service: 93186673
  • Description: 2-Way F 1.2 Timer Series, Sealed (BK)

Terminal Part Information

  • Terminal/Tray: Service Connector Assembly - 93186673
  • Release Tool/Test Probe: N/A

Brake Fluid Level Switch

Pin

Wire Color

Circuit No.

Function

1

0.5 BN

1350

Ground

2

0.5 BN/RD

333

Brake Fluid Level Sensor Signal

Camshaft Position (CMP) Actuator Solenoid Valve - Exhaust


Object Number: 2039679  Size: CH

Connector Part Information

  • OEM: 248556-1
  • Service: Service by Harness - See Part Catalog
  • Description: 2-Way F Sealed (BK)

Terminal Part Information

  • Terminal/Tray: Service by Harness - See Part Catalog
  • Release Tool/Test Probe: N/A

Camshaft Position (CMP) Actuator Solenoid Valve - Exhaust

Pin

Wire Color

Circuit No.

Function

1

0.75 BN/YE

5284

CMP Actuator Solenoid Control - Exhaust

2

0.75 RD/BU

5291

Ignition Voltage

Camshaft Position (CMP) Actuator Solenoid Valve - Intake


Object Number: 2039679  Size: CH

Connector Part Information

  • OEM: 248556-1
  • Service: Service by Harness - See Part Catalog
  • Description: 2-Way F Sealed (BK)

Terminal Part Information

  • Terminal/Tray: Service by Harness - See Part Catalog
  • Release Tool/Test Probe: N/A

Camshaft Position (CMP) Actuator Solenoid Valve - Intake

Pin

Wire Color

Circuit No.

Function

1

0.75 BN/YE

5272

CMP Actuator Solenoid Control - Intake

2

0.75 RD/BU

5291

Ignition Voltage

Camshaft Position (CMP) Sensor - Exhaust


Object Number: 2039684  Size: CH

Connector Part Information

  • OEM: 2FW 3-45
  • Service: 19179748
  • Description: 3-Way F Sealed (BK)

Terminal Part Information

  • Terminal/Tray: Service Connector Assembly - 19179748
  • Release Tool/Test Probe: N/A

Camshaft Position (CMP) Sensor - Exhaust

Pin

Wire Color

Circuit No.

Function

1

0.5 BU

633

Camshaft Position Sensor Signal - Exhaust

2

0.5 BN/YE

632

Low Reference

3

0.5 BK/WH

474

5 Volt Reference 1

Camshaft Position (CMP) Sensor - Intake


Object Number: 2039684  Size: CH

Connector Part Information

  • OEM: 2FW 3-45
  • Service: 19179748
  • Description: 3-Way F Sealed (BK)

Terminal Part Information

  • Terminal/Tray: Service by Connector Assembly - 19179748
  • Release Tool/Test Probe: N/A

Camshaft Position (CMP) Sensor - Intake

Pin

Wire Color

Circuit No.

Function

1

0.5 BU

633

Camshaft Position Sensor Signal - Intake

2

0.5 BN/YE

632

Low Reference

3

0.5 BK/WH

474

5 Volt Reference 1

Cargo Lamp


Object Number: 1892155  Size: CH

Connector Part Information

  • OEM: F2-14
  • Service: 19178170
  • Description: 2-Way F 6.3 Faston Series (BK)

Terminal Part Information

  • Terminal/Tray: Service by Connector Assembly - 19178170
  • Release Tool/Test Probe: N/A

Cargo Lamp

Pin

Wire Color

Circuit No.

Function

1

0.5 GY/GN

737

Trunk Lamp Control

2

0.5 BN

2350

Ground

Cellular Telephone Microphone


Object Number: 2039623  Size: CH

Connector Part Information

  • OEM: ID696728
  • Service: 12085481
  • Description: 2-Way F Metri-Pack 150 Lang Series (BK)

Terminal Part Information

  • Terminal/Tray: Service Connector Assembly - 12085481
  • Release Tool/Test Probe: N/A

Cellular Telephone Microphone

Pin

Wire Color

Circuit No.

Function

A

0.35 BK

5193

Low Reference

B

0.35 BU/RD

5191

Cellular Telephone Microphone Signal

Center High Mounted Stop Lamp (CHMSL)


Object Number: 1974969  Size: CH

Connector Part Information

  • OEM: 1452140-3
  • Service: Service by Harness - See Part Catalog
  • Description: 2-Way F 1.2 Timer Series (BK)

Terminal Part Information

  • Terminal/Tray: Service by Harness - See Part Catalog
  • Release Tool/Test Probe: N/A

Center High Mounted Stop Lamp (CHMSL)

Pin

Wire Color

Circuit No.

Function

1

0.5 BN

2550

Ground

2

0.5 BK/YE

820

CHMSL Supply Voltage

Clutch Pedal Position (CPP) Switch (M25)


Object Number: 882103  Size: CH

Connector Part Information

  • OEM: 12033711
  • Service: 93184057
  • Description: 2-Way F Metri-Pack 480 Series (BU)

Terminal Part Information

  • Terminal/Tray: Service by Connector Assembly - 93184057
  • Release Tool/Test Probe: N/A

Clutch Pedal Position (CPP) Switch (M25)

Pin

Wire Color

Circuit No.

Function

A

0.5 VT

1935

CPP Starter Control

B

0.5 BK

1039

ECM Starter Control

Courtesy/Reading Lamps - 2nd Row


Object Number: 2039686  Size: CH

Connector Part Information

  • OEM: F4-28
  • Service: Service by Harness - See Part Catalog
  • Description: 4-Way F (BK)

Terminal Part Information

  • Terminal/Tray: Service by Harness - See Part Catalog
  • Release Tool/Test Probe: N/A

Courtesy/Reading Lamps - 2nd Row

Pin

Wire Color

Circuit No.

Function

1

0.18 FW

1550

Ground (-C3U)

0.18 WH

1550

Ground (C3U)

2

0.18 FW

1732

Inadvertant Power Courtesy Lamp (-C3U)

0.18 GN

1732

Inadvertant Power Courtesy Lamp (C3U)

3

--

--

Not Used

4

0.18 FW

157

Interior Lamp Control (-C3U)

0.18 YE

157

Interior Lamp Control (C3U)

Crankshaft Position (CKP) Sensor


Object Number: 2039684  Size: CH

Connector Part Information

  • OEM: ZFW 3-45
  • Service: 19179748
  • Description: 3-Way F Sealed (BK)

Terminal Part Information

  • Terminal/Tray: Service by Connector Assembly - 19179748
  • Release Tool/Test Probe: N/A

Crankshaft Position (CKP) Sensor

Pin

Wire Color

Circuit No.

Function

1

0.5 BU

573

Crankshaft Position Sensor Signal

2

0.5 BN/YE

574

Low Reference

3

0.5 BK/WH

474

5 Volt Reference 1

Cruise Control Clutch Pedal Release Switch (M25)


Object Number: 872587  Size: CH

Connector Part Information

  • OEM: 968943-3
  • Service: 93184057
  • Description: 4-Way F 64 MQS Series (BN)

Terminal Part Information

  • Terminal/Tray: Service by Connector Assembly - 93184057
  • Release Tool/Test Probe: N/A

Cruise Control Clutch Pedal Release Switch (M25)

Pin

Wire Color

Circuit No.

Function

1-2

--

--

Not Used

3

0.5 BK

1039

Run/Crank Ignition 1 Voltage

4

0.5 GY

379

Cruise Control Clutch Pedal Position Switch Signal

Data Link Connector (DLC)


Object Number: 1243575  Size: CH

Connector Part Information

  • OEM: 15488184
  • Service: 19115029
  • Description: 16-Way F 1.2 Timer, Unsealed (BK)

Terminal Part Information

  • Terminal/Tray: Service by Harness - See Part Catalog
  • Release Tool/Test Probe: N/A

Data Link Connector (DLC)

Pin

Wire Color

Circuit No.

Function

1

0.5 GN

5060

Low Speed GMLAN Serial Data

2

0.5 BN/VT

1132

DLC Class 2 Serial Data

3

0.5 GN

5169

Mid Speed GMLAN Serial Data (+)

4

0.5 BN

2150

Ground

5

0.5 BN

2150

Ground

6

0.5 GN

2500

High Speed GMLAN Serial Data (+)

7

0.5 GN/WH

377

Serial Data

8-10

--

--

Not Used

11

0.5 WH

5170

Mid Speed GMLAN Serial Data (-)

12-13

--

--

Not Used

14

0.5 WH

2501

High Speed GMLAN Serial Data (-)

15

--

--

Not Used

16

0.75 RD

1442

Battery Positive Voltage

Dome/Reading Lamp - Front


Object Number: 2039630  Size: CH

Connector Part Information

  • OEM: ID800092
  • Service: 93180710
  • Description: 18-Way F MQS Series (BK)

Terminal Part Information

  • Terminal/Tray: Service by Harness - See Part Catalog
  • Release Tool/Test Probe: N/A

Dome/Reading Lamp - Front

Pin

Wire Color

Circuit No.

Function

1-4

--

--

Not Used

5

0.5 BN

1550

Ground

6

0.5 RD/BU

1732

Inadvertant Power Courtesy Lamp

7

0.5 GY

157

Interior Lamp Control

8-13

--

--

Not Used

14

0.5 GY/YE

1382

LED Dimming Signal

15-18

--

--

Not Used

Door Lock - Driver


Object Number: 845631  Size: CH

Connector Part Information

  • OEM: 1355688-1
  • Service: Service by Harness - See Part Catalog
  • Description: 10-Way F Sealed (BK)

Terminal Part Information

  • Terminal/Tray: Service by Harness - See Part Catalog
  • Release Tool/Test Probe: N/A

Door Lock - Driver

Pin

Wire Color

Circuit No.

Function

1

--

--

Not Used

2

0.75 GY/WH

7305

Emergency Door Unlock 2 Signal

3-5

--

--

Not Used

6

0.5 WH/GY

49

Driver Door Ajar Switch Signal

7

0.5 BN

1550

Ground

8

0.75 WH

7304

Emergency Door Unlock 1 Signal

9-10

--

--

Not Used

Door Lock - Left Rear


Object Number: 812596  Size: CH

Connector Part Information

  • OEM: 6-1355683-1
  • Service: Service by Harness - See Part Catalog
  • Description: 6-Way F Sealed (BK)

Terminal Part Information

  • Terminal/Tray: Service by Harness - See Part Catalog
  • Release Tool/Test Probe: N/A

Door Lock - Left Rear

Pin

Wire Color

Circuit No.

Function

1

--

--

Not Used

2

0.75 GY/WH

7305

Emergency Door Unlock 2 Signal

3

--

--

Not Used

4

0.5 BN

2350

Ground

5

0.5 GY

747

Left Rear Door Ajar Switch Signal

6

0.75 WH

7304

Emergency Door Unlock 1 Signal

Door Lock - Passenger


Object Number: 845631  Size: CH

Connector Part Information

  • OEM: 6-1355688-1
  • Service: Service by Harness - See Part Catalog
  • Description: 10-Way F Sealed (BK)

Terminal Part Information

  • Terminal/Tray: Service by Harness - See Part Catalog
  • Release Tool/Test Probe: N/A

Door Lock - Passenger

Pin

Wire Color

Circuit No.

Function

1

--

--

Not Used

2

0.75 GY/WH

7305

Emergency Door Unlock 2 Signal

3-5

--

--

Not Used

6

0.5 GY

746

Right Front Door Ajar Switch Signal

7

0.5 BN

2050

Ground

8

0.75 WH

7304

Emergency Door Unlock 1 Signal

9-10

--

--

Not Used

Door Lock Relay


Object Number: 2100402  Size: CH

Connector Part Information

  • OEM: 12034003
  • Service: 88987189
  • Description: 5-Way F Special Metri-Pack 630 Unsealed, Series (GY)

Terminal Part Information

  • Terminal/Tray: Service by Connector Assembly - 88987189
  • Release Tool/Test Probe: N/A

Door Lock Relay

Pin

Wire Color

Circuit No.

Function

1

2.5 RD

342

Battery Positive Voltage

2

0.5 VT

7306

Emergency Door Unlock Control

3

1.5 GY/WH

7305

Emergency Door Unlock 1 Signal

4

1.5 RD

195

Door Unlock Control

5

1.5 BN

2350

Ground

Door Lock - Right Rear


Object Number: 812596  Size: CH

Connector Part Information

  • OEM: 6-1355683-1
  • Service: Service by Harness - See Part Catalog
  • Description: 6-Way F Sealed (BK)

Terminal Part Information

  • Terminal/Tray: Service by Harness - See Part Catalog
  • Release Tool/Test Probe: N/A

Door Lock - Right Rear

Pin

Wire Color

Circuit No.

Function

1

--

--

Not Used

2

0.75 GY/WH

7305

Emergency Door Unlock 2 Signal

3

--

--

Not Used

4

0.5 BN

2350

Ground

5

0.5 GY

748

Right Rear Door Ajar Switch Signal

6

0.75 WH

7304

Emergency Door Unlock 1 Signal

Door Unlock Relay


Object Number: 2100402  Size: CH

Connector Part Information

  • OEM: 12034003
  • Service: 88987189
  • Description: 5-Way F Special Metri-Pack 630 Unsealed, Series (GY)

Terminal Part Information

  • Terminal/Tray: Service by Connector Assembly - 88987189
  • Release Tool/Test Probe: N/A

Door Unlock Relay

Pin

Wire Color

Circuit No.

Function

1

2.5 RD

342

Battery Positive Voltage

2

0.5 VT

7306

Emergency Door Unlock Control

3

1.5 WH

7304

Emergency Door Unlock 2 Signal

4

1.5 WH

194

Door Lock Control

5

2.5 RD

342

Battery Positive Voltage

Driver Information Center (DIC)


Object Number: 1990503  Size: CH

Connector Part Information

  • OEM: 968265-1
  • Service: 88988405
  • Description: 32-Way F 0.64 Quadlock Series (BK)

Terminal Part Information

  • Terminal/Tray: Service by Harness - See Part Catalog
  • Release Tool/Test Probe: N/A

Driver Information Center (DIC)

Pin

Wire Color

Circuit No.

Function

1

0.75 BN

1750

Ground

2

0.75 BN

1750

Ground (UAG)

3

0.75 RD

3140

Battery Positive Voltage (UAG)

4

--

--

Not Used

5

0.75 RD

3140

Battery Positive Voltage

6-18

--

--

Not Used

19

0.5 WH

5170

Mid Speed GMLAN Serial Data (-)

20

0.5 GN

5169

Mid Speed GMLAN Serial Data (+)

21

--

--

Not Used

22

0.5 GN

5169

Mid Speed GMLAN Serial Data (+)

23

0.5 WH

5170

Mid Speed GMLAN Serial Data (-)

24

--

--

Not Used

25

0.5 GN

5060

Low Speed GMLAN Serial Data

26-27

--

--

Not Used

28

0.5 GN

5060

Low Speed GMLAN Serial Data

29-32

--

--

Not Used

Electronic Brake Control Module (EBCM)


Object Number: 1591670  Size: CH

Connector Part Information

  • OEM: 1452643-1
  • Service: 88988362
  • Description: 26-Way F MT2/SPT Series, Sealed (BK)

Terminal Part Information

  • Terminal/Tray: Service by Harness - See Part Catalog
  • Release Tool/Test Probe: N/A

Electronic Brake Control Module (EBCM)

Pin

Wire Color

Circuit No.

Function

1

4 RD

3240

Battery Positive Voltage

2

0.5 BN/BU

885

Low Reference

3

0.5 BU

884

Wheel Speed Sensor Signal - Left Rear

4

0.5 GN/BK

1338

Yaw Rate Sensor Signal 2

5

0.5 BU/RD

872

Wheel Speed Sensor Signal - Right Front

6

0.5 BN/RD

833

Low Reference

7

--

--

Not Used

8

0.5 BN/WH

873

Low Reference

9

0.5 BU/WH

830

Wheel Speed Sensor Signal - Left Front

10

0.5 GY/BK

1337

Yaw Rate Sensor Volt Reference

11

0.5 BU/RD

882

Wheel Speed Sensor Signal - Right Rear

12

0.5 BN/RD

883

Low Reference

13

4 BN

1450

Ground

14

4 RD

3340

Battery Positive Voltage

15-16

--

--

Not Used

17

0.5 BU/BN

1903

AAS Wheel Speed Sensor Signal - Left Front

18

--

--

Not Used

19

0.5 GN

2500

High Speed GMLAN Serial Data (+)

20

0.75 BK

3

Run/Crank Ignition 1 Voltage

21

0.5 WH

2501

High Speed GMLAN Serial Data (-)

22

0.5 BN/GY

17

Stop Lamp Switch Signal

23

0.5 GN

2500

High Speed GMLAN Serial Data (+)

24

0.5 RD

1202

Battery Positive Voltage

25

0.5 WH

2501

High Speed GMLAN Serial Data (-)

26

4 BN

1450

Ground

Engine Control Module (ECM) X1


Object Number: 2100090  Size: CH

Connector Part Information

  • OEM: 15368916
  • Service: 88956567
  • Description: 64-Way F 0.6 Series, Sealed (BK)

Terminal Part Information

  • Terminal/Tray: Service by Harness - See Part Catalog
  • Release Tool/Test Probe: N/A

Engine Control Module (ECM) X1

Pin

Wire Color

Circuit No.

Function

1

0.5 BU/RD

2121

Ignition Control 1

2

0.5 BU/RD

2121

Ignition Control 1

3

0.5 YE/VT

5041

Intake Manifold Control 1

4

--

--

Not Used

5

0.5 BU/YE

231

Oil Pressure Switch Signal

6

0.5 BK

808

Low Reference

7

0.5 BU

5042

Intake Manifold Tuning Valve Sensor Signal

8

0.5 BU

486

Throttle Position Sensor Signal 2

9

0.5 BU

485

Throttle Position Sensor Signal 1

10

0.5 GY/BK

496

KS Signal

11

0.5 BK

808

Low Reference

12

0.5 BN/GN

472

Intake Air Temperature Sensor Signal

13-14

--

--

Not Used

15

0.5 BK/WH

474

5 Volt Reference 1

16

0.5 BN/YE

5041

Low Reference

17

0.5 BU/WH

2122

Ignition Control 2

18

0.5 BU/WH

2122

Ignition Control 2

19

0.5 BK/BN

1423

Heated Oxygen Sensor Heater Low Control Sensor 2

20

--

--

Not Used

21

0.5 BU

633

Camshaft Position Sensor Signal

22

0.5 BU

633

Camshaft Position Sensor Signal

23

0.5 BN/YE

1664

Heated Oxygen Sensor Low Signal Sensor 1

24

0.5 BN/YE

632

Low Reference

25

0.5 BN/YE

2761

Low Reference

26

0.5 BN/YE

632

Low Reference

27

0.5 GY/RD

1716

KS Signal

28

0.5 BK/VT

469

Low Reference

29

0.5 BN/YE

1669

Heated Oxygen Sensor Low Signal Sensor 2

30

--

--

Not Used

31

0.5 YE/BK

581

Throttle Actuator Control Open

32

0.5 BK/WH

581

Throttle Actuator Control Open

33

0.5 BU/GN

2123

Ignition Control 3

34

0.5 BU/GN

2123

Ignition Control 3

35

0.5 BU

573

Crankshaft Position Sensor Signal 1

36

0.5 BU/WH

1174

Oil Level Switch Signal

37-38

--

--

Not Used

39

0.5 BN/YE

574

Low Reference

40

0.5 BN/WH

2752

Low Reference

41

0.5 BK/WH

2701

5 Volt Reference 2

42

0.5 BK/WH

474

5 Volt Reference 1

43

0.5 BN/YE

650

Low Reference

44

0.5 BK

808

Low Reference

45

--

--

Not Used

46

0.5 BN/WH

428

EVAP Canister Purge Solenoid Control

47

0.5 BN/WH

582

Throttle Actuator Control Close

48

0.5 BN/WH

582

Throttle Actuator Control Close

49

0.5 BU/YE

2124

Ignition Control 4

50

0.5 BU/YE

2124

Ignition Control 4

51-52

--

--

Not Used

53

0.5 BU

1665

Heated Oxygen Sensor High Signal Sensor 1

54

0.5 BU

1668

Heated Oxygen Sensor High Signal Sensor 2

55

0.75 BN/YE

5284

CMP Actuator Solenoid Control Exhaust

56

0.75 BN/YE

5272

CMP Actuator Solenoid Control Intake

57

--

--

Not Used

58

0.75 BK/BN

676

Heated Oxygen Sensor Heater High Control Sensor 1

59

0.5 GN/WH

492

Mass Air Flow Sensor Signal

60

0.5 BU/RD

410

Engine Coolant Temperature Sensor Signal

61

0.5 BN/BK

1745

Fuel Injector Control 2

62

0.5 BN/VT

1746

Fuel Injector Control 3

63

0.5 BN/YE

844

Fuel Injector Control 4

64

0.5 BN/RD

1744

Fuel Injector Control 1

Engine Control Module (ECM) X2


Object Number: 2100132  Size: CH

Connector Part Information

  • OEM: ZFW64-8
  • Service: Service by Harness - See Part Catalog
  • Description: 64-Way F Sealed (GY)

Terminal Part Information

  • Terminal/Tray: Service by Harness - See Part Catalog
  • Release Tool/Test Probe: N/A

Engine Control Module (ECM) X2

Pin

Wire Color

Circuit No.

Function

1

0.5 BK

998

MIL Control

2-5

--

--

Not Used

6

0.5 GN

2501

High Speed GMLAN Serial Data (-)

7-9

--

--

Not Used

10

0.5 RD/WH

335

Low Speed Cooling Fan Relay Control

11

--

--

Not Used

12

0.5 BN/PU

1

Brake Booster Pump Relay Control

13-15

--

--

Not Used

16

0.5 BK/YE

379

Cruise Control Clutch Pedal Position Switch Signal

17-22

--

--

Not Used

23

0.5 BK/WH

2700

5 Volt Reference 1

24

0.5 BK/WH

1164

5 Volt Reference 1

25

0.5 BK/WH

1274

5 Volt Reference 2

26

0.5 BN

1271

Low Reference

27

0.5 BN

1272

Low Reference

28-29

--

--

Not Used

30

0.5 BN/BU

5514

Low Reference

31

0.75 RD

5290

Ignition Voltage

32

0.5 RD

3540

Battery Positive Voltage

33-34

--

--

Not Used

35

0.5 BN/BU

6014

Low Reference

36

0.5 BN/VT

61

Low Reference

37

--

--

Not Used

38

0.5 BU

2500

High Speed GMLAN Serial Data (+)

39

0.5 BN/BU

251

Low Reference

40-41

--

--

Not Used

42

0.5 BU/YE

890

Fuel Tank Pressure Sensor Signal

43

0.5 BN/GN

636

Outside Ambient Air Temperature Sensor Signal

44

0.5 BU

5266

Ambient Air Pressure Sensor Signal

45

0.5 BK/YE

848

Brake Switch Signal

46

0.5 BN/YE

2759

Low Reference

47

0.75 RD

5290

Ignition Voltage

48

0.5 BN/VT

1

Brake Booster Vacuum Pump Control

49

0.5 BN/GN

465

Fuel Pump Primary Relay Control

50-51

--

--

Not Used

52

0.5 BU/WH

225

Generator Turn On Signal

53

0.5 BK/YE

1162

Accelerator Pedal Position Signal 2

54

0.5 BK/YE

1161

Accelerator Pedal Position Signal 1

55

0.5 GN/BU

30

Fuel Level Sensor Signal

56

0.5 YE/RD

203

A/C High Pressure Switch Signal

57

0.5 BK/YE

340

Stop Lamp Switch Signal

58

0.5 BN

2350

EVAP Canister Vent Solenoid Control

59

0.5 RD/WH

473

High Speed Cooling Fan Relay Control

60

0.5 BU/BK

1039

ECM Starter Control

61

0.5 RD/WH

5267

Turbo Cooling Fan Relay Control

62

0.5 BN/YE

5069

Engine Main Relay Coil Control

63

--

--

Not Used

64

0.5 BK

39

Run/Crank Ignition 1 Voltage

Engine Control Module (ECM) X3

Terminal Part Information

  • Terminal: 56.3-1
  • Core/Insulation Crimp: N/A
  • Description: Ring Terminal
 

Engine Control Module (ECM) X3

Pin

Wire Color

Circuit No.

Function

--

2.5 BN

650

Ground

Engine Coolant Level Switch


Object Number: 2039635  Size: CH

Connector Part Information

  • OEM: 1452680-2
  • Service: 93186673
  • Description: 2-Way F 1.2 Timer Series, Sealed (BK)

Terminal Part Information

  • Terminal/Tray: Service by Connector Assembly - 93186673
  • Release Tool/Test Probe: N/A

Engine Coolant Level Switch

Pin

Wire Color

Circuit No.

Function

1

0.5 BN/GN

68

Low Coolant Level Indicator Control

2

0.5 BN

1350

Ground

Engine Coolant Temperature (ECT) Sensor


Object Number: 1869767  Size: CH

Connector Part Information

  • OEM: 12162195
  • Service: 88987993
  • Description: 2-Way F Metri-Pack 150.2 Series, Pull-to-Seat Sealed (BK)

Terminal Part Information

  • Terminal/Tray: Service by Connector Assembly - 88987993
  • Release Tool/Test Probe: N/A

Engine Coolant Temperature (ECT) Sensor

Pin

Wire Color

Circuit No.

Function

1

0.5 BU/RD

410

Engine Coolant Temperature Sensor Signal

2

0.5 BN/YE

2761

Low Reference

Engine Cooling Fan (MNF with C41 or M25)


Object Number: 668832  Size: CH

Connector Part Information

  • OEM: 15446375
  • Service: 93186714
  • Description: 3-Way F Ducon 6.3 Series, Sealed (BK)

Terminal Part Information

  • Terminal/Tray: Service by Connector Assembly - 93186714
  • Release Tool/Test Probe: N/A

Engine Cooling Fan (MNF with C41 or M25)

Pin

Wire Color

Circuit No.

Function

A

6 BN

1250

Ground

B

6 RD/YE

409

Cooling Fan Motor Supply Voltage 1

C

6 RD/WH

532

Cooling Fan Motor Supply Voltage 2

Engine Cooling Fan - Left (MNF with C60)


Object Number: 668832  Size: CH

Connector Part Information

  • OEM: 15446375
  • Service: 93186714
  • Description: 3-Way F Ducon 6.3 Series, Sealed (BK)

Terminal Part Information

  • Terminal/Tray: Service by Connector Assembly - 93186714
  • Release Tool/Test Probe: N/A

Engine Cooling Fan - Left (MNF with C60)

Pin

Wire Color

Circuit No.

Function

A

6 BN

1250

Ground

B

--

--

Not Used

C

6 RD/YE

409

Cooling Fan Motor Supply Voltage 2

Engine Cooling Fan - Right (MNF with C60)


Object Number: 668832  Size: CH

Connector Part Information

  • OEM: 15446375
  • Service: 93186714
  • Description: 3-Way F Ducon 6.3 Series, Sealed (BK)

Terminal Part Information

  • Terminal/Tray: Service by Connector Assembly - 93186714
  • Release Tool/Test Probe: N/A

Engine Cooling Fan - Right (MNF with C60)

Pin

Wire Color

Circuit No.

Function

A

6 BN/GN

504

Low Reference

B

--

--

Not Used

C

6 RD/WH

532

Cooling Fan Motor Supply Voltage 1

Engine Oil Level (EOL) Switch


Object Number: 1855214  Size: CH

Connector Part Information

  • OEM: 15397337
  • Service: 88988744
  • Description: 2-Way F Power Timer Series, Sealed (BK)

Terminal Part Information

  • Terminal/Tray: Service by Connector Assenbly - 88988744
  • Release Tool/Test Probe: N/A

Engine Oil Level (EOL) Switch

Pin

Wire Color

Circuit No.

Function

1

0.5 BU/WH

1174

Oil Level Switch Signal

2

0.5 BN/YE

650

Ground

Engine Oil Pressure (EOP) Switch


Object Number: 95764  Size: CH

Connector Part Information

  • OEM: 12065299
  • Service: 12085500
  • Description: 1-Way F Metri-Pack 150 Series, Sealed (L-GY)

Terminal Part Information

  • Terminal/Tray: Service by Connector Assembly - 12085500
  • Release Tool/Test Probe: N/A

Engine Oil Pressure (EOP) Switch

Pin

Wire Color

Circuit No.

Function

1

0.5 BU/YE

231

Oil Pressure Switch Signal

Evaporative Emission (EVAP) Canister Purge Solenoid Valve


Object Number: 1855214  Size: CH

Connector Part Information

  • OEM: 12052637
  • Service: 12101858
  • Description: 2-Way F Metri-Pack 150 Series, Sealed (BK)

Terminal Part Information

  • Terminal/Tray: Service by Connector Assembly - 12101858
  • Release Tool/Test Probe: N/A

Evaporative Emission (EVAP) Canister Purge Solenoid Valve

Pin

Wire Color

Circuit No.

Function

1

0.5 RD/BU

5291

Ignition Voltage

2

0.5 BN/WH

428

EVAP Canister Purge Solenoid Control

Evaporative Emission (EVAP) Canister Vent Solenoid Valve


Object Number: 684795  Size: CH

Connector Part Information

  • OEM: 12052643
  • Service: Service by Harness - See Part Catalog
  • Description: 2-Way F Metri-Pack 150 Series, Sealed (RD)

Terminal Part Information

  • Terminal/Tray: Service by Harness - See Part Catalog
  • Release Tool/Test Probe: N/A

Evaporative Emission (EVAP) Canister Vent Solenoid Valve

Pin

Wire Color

Circuit No.

Function

A

1 BU

5372

Ignition Voltage

B

1 BN

2350

EVAP Canister Vent Solenoid Control

Fog Lamp - Left Front (T96)


Object Number: 1341464  Size: CH

Connector Part Information

  • OEM: ZFW2-10
  • Service: Service by Harness - See Part Catalog
  • Description: 2-Way F Sealed (BK)

Terminal Part Information

  • Terminal/Tray: Service by Harness - See Part Catalog
  • Release Tool/Test Probe: N/A

Fog Lamp - Left Front (T96)

Pin

Wire Color

Circuit No.

Function

1

1.5 BN

1150

Ground

2

1.5 BN/GY

5061

Left Front Fog Lamp Supply Voltage

Fog Lamp - Right Front (T96)


Object Number: 1341464  Size: CH

Connector Part Information

  • OEM: ZFW2-10
  • Service: Service by Harness - See Part Catalog
  • Description: 2-Way F Sealed (BK)

Terminal Part Information

  • Terminal/Tray: Service by Harness - See Part Catalog
  • Release Tool/Test Probe: N/A

Fog Lamp - Right Front (T96)

Pin

Wire Color

Circuit No.

Function

1

1.5 BN

1050

Ground

2

1.5 BN/GN

5062

Right Front Fog Lamp Supply Voltage

Fuel Door Release Actuator


Object Number: 1974969  Size: CH

Connector Part Information

  • OEM: 1452140-3
  • Service: Service by Harness - See Part Catalog
  • Description: 2-Way F 1.2 Timer Series (WH)

Terminal Part Information

  • Terminal/Tray: Service by Harness - See Part Catalog
  • Release Tool/Test Probe: N/A

Fuel Door Release Actuator

Pin

Wire Color

Circuit No.

Function

1

0.75 BU/BK

6801

Fuel Door Lock Control

2

0.75 BU

6800

Fuel Door Unlock Control

Fuel Injector 1


Object Number: 1363810  Size: CH

Connector Part Information

  • OEM: 15397337
  • Service: 88988744
  • Description: 2-Way F Power Timer Series, Sealed (BK)

Terminal Part Information

  • Terminal/Tray: Service by Connector Assembly - 88988744
  • Release Tool/Test Probe: N/A

Fuel Injector 1

Pin

Wire Color

Circuit No.

Function

1

0.5 RD/BU

260

Fuel Injection Control

2

0.5 BN/RD

1744

Fuel Injector Control 1

Fuel Injector 2


Object Number: 1363810  Size: CH

Connector Part Information

  • OEM: 15397337
  • Service: 88988744
  • Description: 2-Way F Power Timer Series, Sealed (BK)

Terminal Part Information

  • Terminal/Tray: Service by Connector Assembly - 88988744
  • Release Tool/Test Probe: N/A

Fuel Injector 2

Pin

Wire Color

Circuit No.

Function

1

0.5 RD/BU

260

Fuel Injection Control

2

0.5 BN/BK

1745

Fuel Injector Control 2

Fuel Injector 3


Object Number: 1363810  Size: CH

Connector Part Information

  • OEM: 15397337
  • Service: 88988744
  • Description: 2-Way F Power Timer Series, Sealed (BK)

Terminal Part Information

  • Terminal/Tray: Service by Connector Assembly - 88988744
  • Release Tool/Test Probe: N/A

Fuel Injector 3

Pin

Wire Color

Circuit No.

Function

1

0.5 RD/BU

260

Fuel Injection Control

2

0.5 BN/VT

1746

Fuel Injector Control 3

Fuel Injector 4


Object Number: 1363810  Size: CH

Connector Part Information

  • OEM: 15397337
  • Service: 88988744
  • Description: 2-Way F Power Timer Series, Sealed (BK)

Terminal Part Information

  • Terminal/Tray: Service by Connector Assembly - 88988744
  • Release Tool/Test Probe: N/A

Fuel Injector 4

Pin

Wire Color

Circuit No.

Function

1

0.5 RD/BU

260

Fuel Injection Control

2

0.5 BN/YE

844

Fuel Injector Control 4

Fuel Pump and Sender Assembly


Object Number: 684908  Size: CH

Connector Part Information

  • OEM: 15326631
  • Service: Service by Harness - See Part Catalog
  • Description: 4-Way F GT 280 Series, Sealed (BK)

Terminal Part Information

  • Terminal/Tray: Service by Harness - See Part Catalog
  • Release Tool/Test Probe: N/A

Fuel Pump and Sender Assembly

Pin

Wire Color

Circuit No.

Function

A

1.5 BN

2350

Ground

B

0.5 BN/YE

251

Low Reference

C

0.5 GN/BU

30

Fuel Level Sensor Signal

D

1.5 RD/BU

120

Fuel Pump Supply Voltage

Fuel Tank Pressure (FTP) Sensor


Object Number: 1962078  Size: CH

Connector Part Information

  • OEM: 13511996
  • Service: Service by Harness - See Part Catalog
  • Description: 3-Way F GT 150 Series, Sealed (GY)

Terminal Part Information

  • Terminal/Tray: Service by Harness - See Part Catalog
  • Release Tool/Test Probe: N/A

Fuel Tank Pressure (FTP) Sensor

Pin

Wire Color

Circuit No.

Function

1

0.5 BU/WH

890

Fuel Tank Pressure Sensor Signal

2

0.5 BK/GN

2759

Low Reference

3

0.5 BK/YE

2709

5 Volt Reference 1

Generator - X1

Connector Part Information

  • Terminal: S8.4-24
  • Core/Insulation Crimp: N/A
  • Description: Ring Terminal
 

Generator - X1

Pin

Wire Color

Circuit No.

Function

--

16 RD

1

Battery Positive Voltage

Generator - X2


Object Number: 617516  Size: CH

Connector Part Information

  • OEM: ZFW 2-141
  • Service: 88988744
  • Description: 2-Way F Junior Power Timer Series, Sealed (BK)

Terminal Part Information

  • Terminal/Tray: Service by Connector Assembly - 88988744
  • Release Tool/Test Probe: N/A

Generator - X2

Pin

Wire Color

Circuit No.

Function

1

0.75 BU/WH

225

Generator Turn On Signal

2

--

--

Not Used

Headlamp - Left High Beam Solenoid


Object Number: 1862031  Size: CH

Connector Part Information

  • OEM:1-968704-1
  • Service: Service by Harness - See Part Catalog
  • Description: 2-Way F MQS Series (BK)

Terminal Part Information

  • Terminal/Tray: Service by Harness - See Part Catalog
  • Release Tool/Test Probe: N/A

Headlamp - Left High Beam Solenoid

Pin

Wire Color

Circuit No.

Function

1

BK

1150

Ground

2

BK

711

Left Headlamp High Beam Supply Voltage

Headlamp - Left Low Beam


Object Number: 684797  Size: CH

Connector Part Information

  • OEM: See Catalog
  • Service: Service by Harness - See Part Catalog
  • Description: 2-Way F (BK)

Terminal Part Information

  • Terminal/Tray: Service by Harness - See Part Catalog
  • Release Tool/Test Probe: N/A

Headlamp - Left Low Beam

Pin

Wire Color

Circuit No.

Function

A

BK

1150

Ground

B

BK

712

Left Headlamp Low Beam Supply Voltage

Headlamp - Right High Beam Solenoid


Object Number: 1862031  Size: CH

Connector Part Information

  • OEM:1-968704-1
  • Service: Service by Harness - See Part Catalog
  • Description: 2-Way F MQS Series (BK)

Terminal Part Information

  • Terminal/Tray: Service by Harness - See Part Catalog
  • Release Tool/Test Probe: N/A

Headlamp - Right High Beam Solenoid

Pin

Wire Color

Circuit No.

Function

1

BK

1050

Ground

2

BK

311

Right Headlamp High Beam Supply Voltage

Headlamp - Right Low Beam


Object Number: 684797  Size: CH

Connector Part Information

  • OEM: See Catalog
  • Service: Service by Harness - See Part Catalog
  • Description: 2-Way F (BK)

Terminal Part Information

  • Terminal/Tray: Service by Harness - See Part Catalog
  • Release Tool/Test Probe: N/A

Headlamp - Right Low Beam

Pin

Wire Color

Circuit No.

Function

A

BK

1050

Ground

B

BK

312

Right Headlamp Low Beam Supply Voltage

Headlamp and Panel Dimmer Switch


Object Number: 2039662  Size: CH

Connector Part Information

  • OEM: 968473-1
  • Service: 93191114
  • Description: 12-Way F 64 MQS Series (BU)

Terminal Part Information

  • Terminal/Tray: Service by Connector Assembly - 93191114
  • Release Tool/Test Probe: N/A

Headlamp and Panel Dimmer Switch

Pin

Wire Color

Circuit No.

Function

1

--

--

Not Used

2

0.5 GY/GN

13

Headlamp Switch Park Lamp Signal

3

--

--

Not Used

4

0.5 GY/VT

44

Instrument Panel Lamp Dimmer Switch Signal

5

0.5 YE

1201

Headlamp Low Beam

6

0.5 BN

1650

Ground

7

0.5 BK

1039

Run/Crank Ignition 1 Voltage

8

0.5 GY/BU

192

Front Fog Lamp Switch Signal (T96)

9-10

--

--

Not Used

11

0.5 BN/YE

1651

Low Reference

12

--

--

Not Used

Heated Oxygen Sensor (HO2S) 1


Object Number: 2039685  Size: CH

Connector Part Information

  • OEM: ZMW4-7
  • Service: Service by Harness - See Part Catalog
  • Description: 4-Way M Sealed (BU)

Terminal Part Information

  • Terminal/Tray: Service by Harness - See Part Catalog
  • Release Tool/Test Probe: N/A

Heated Oxygen Sensor (HO2S) 1

Pin

Wire Color

Circuit No.

Function

1

0.75 BK/BN

676

Heated Oxygen Sensor Heater High Control Sensor 1

2

0.5 BU

1665

Heated Oxygen Sensor High Signal Sensor 1

3

0.75 RD/BU

5291

Ignition Voltage

4

0.5 BN/YE

1664

Heated Oxygen Sensor Low Signal Sensor 1

Heated Oxygen Sensor (HO2S) 2


Object Number: 2039685  Size: CH

Connector Part Information

  • OEM: ZMW4-7
  • Service: Service by Harness - See Part Catalog
  • Description: 4-Way M Sealed (BU)

Terminal Part Information

  • Terminal/Tray: Service by Harness - See Part Catalog
  • Release Tool/Test Probe: N/A

Heated Oxygen Sensor (HO2S) 2

Pin

Wire Color

Circuit No.

Function

1

0.5 BK/BN

1423

Heated Oxygen Sensor Heater Low Control Sensor 2

2

0.5 BU

1668

Heated Oxygen Sensor High Signal Sensor 2

3

0.75 RD/BU

5291

Ignition Voltage

4

0.5 BN/YE

1669

Heated Oxygen Sensor Low Signal Sensor 2

Heated Seat Element - Driver Cushion (KA1)


Object Number: 1396879  Size: CH

Connector Part Information

  • OEM: 365058-2
  • Service: Service by Harness - See Part Catalog
  • Description: 2-Way F Junior Timer Series, (GY)

Terminal Part Information

  • Terminal/Tray: Service by Harness - See Part Catalog
  • Release Tool/Test Probe: N/A

Heated Seat Element - Driver Cushion (KA1)

Pin

Wire Color

Circuit No.

Function

1

1 WH

2432

Driver Heated Seat Cushion Element Supply Voltage

2

1 BN

2150

Ground

1 BN

2150

Ground

Heated Seat Element - Passenger Cushion (KA1)


Object Number: 1396879  Size: CH

Connector Part Information

  • OEM: 365058-2
  • Service: Service by Harness - See Part Catalog
  • Description: 2-Way F Junior Timer Series, (GY)

Terminal Part Information

  • Terminal/Tray: Service by Harness - See Part Catalog
  • Release Tool/Test Probe: N/A

Heated Seat Element - Passenger Cushion (KA1)

Pin

Wire Color

Circuit No.

Function

1

1 WH

2436

Passenger Heated Seat Cushion Element Supply Voltage

2

1 BN

2150

Ground

1 BN

2150

Ground

Hood Ajar Switch


Object Number: 2039635  Size: CH

Connector Part Information

  • OEM: 1452680-2
  • Service: 93186673
  • Description: 2-Way F 1.2 Timer Series, Sealed (BK)

Terminal Part Information

  • Terminal/Tray: Service by Connector Assembly - 93186673
  • Release Tool/Test Probe: N/A

Hood Ajar Switch

Pin

Wire Color

Circuit No.

Function

1

0.5 BN/GN

109

Hood Ajar Switch Signal

2

0.5 BN

1350

Ground

Horn


Object Number: 416302  Size: CH

Connector Part Information

  • OEM: ID406152
  • Service: 21019425
  • Description: 2-Way F GT 280 Series, Sealed (BK)

Terminal Part Information

  • Terminal/Tray: Service by Connector Assembly - 21019425
  • Release Tool/Test Probe: N/A

Horn

Pin

Wire Color

Circuit No.

Function

1

1.5 BN/WH

2026

Low Note Horn Enable Signal

2

1.5 BN

1050

Ground

HVAC Control Module, X1


Object Number: 814534  Size: CH

Connector Part Information

  • OEM: 967597-1
  • Service: Service by Harness - See Part Catalog
  • Description: 32-Way F (BK)

Terminal Part Information

  • Terminal/Tray: Service by Harness - See Part Catalog
  • Release Tool/Test Probe: N/A

HVAC Control Module, X1

Pin

Wire Color

Circuit No.

Function

1

WH

--

Air Temperature Door Control A

2

PU

--

Mode Door Control A

3

--

--

Not Used

4

BN

--

Recirculation Door Control A

5

OG

1542

Battery Positive Voltage

6

YE/GN

839

Run/Crank Ignition 1 Voltage

7

BK

--

Low Reference

8

GY

--

Air Temperature Actuator Sensor Signal

9

YE

--

Mode Actuator Sensor Signal

10

--

--

Not Used

11

BK/WH

66

A/C Request Signal

12

BN/WH

193

Rear Defog Relay Control

13

BU

292

Rear Defog Switch Signal

14-16

--

--

Not Used

17

RD

--

Air Temperature Door Control B

18

BU/RD

--

Mode Door Control B

19

--

--

Not Used

20

OG/YE

--

Recirculation Door Control B

21

GN

1382

LED Dimming Signal

22

BN/BK

--

8-Volt Reference

23

YE/BK

1650

Ground

24-32

--

--

Not Used

HVAC Control Module, X2


Object Number: 1567536  Size: CH

Connector Part Information

  • OEM:1534390-1
  • Service: Service by Harness - See Part Catalog
  • Description: 5-Way F Power Timer Series, (BK)

Terminal Part Information

  • Terminal/Tray: Service by Harness - See Part Catalog
  • Release Tool/Test Probe: N/A

HVAC Control Module, X2

Pin

Wire Color

Circuit No.

Function

1

GN

--

High Blower Motor Control

2

BU

--

Medium 2 Blower Motor Control

3

PU

--

Medium 1 Blower Motor Control

4

OG

--

Low Blower Motor Control

5

RD

1241

Run Ignition 3 Voltage

I/P Compartment - Lamp


Object Number: 2039659  Size: CH

Connector Part Information

  • OEM: ID410224
  • Service: 19178170
  • Description: 2-Way F Flachsteckhülse 6,3 DIN46340 Series (BK)

Terminal Part Information

  • Terminal/Tray: Service by Connector Assembly - 19178170
  • Release Tool/Test Probe: N/A

I/P Compartment - Lamp

Pin

Wire Color

Circuit No.

Function

1

0.5 BN

1650

Ground

2

0.5 BK/YE

1733

Inadvertant Power Courtesy Lamp

Ignition Control Module (ICM)


Object Number: 415923  Size: CH

Connector Part Information

  • OEM: ZFW 6-7
  • Service: Service by Harness - See Part Catalog
  • Description: 6-Way F Sealed (BK)

Terminal Part Information

  • Terminal/Tray: Service by Harness - See Part Catalog
  • Release Tool/Test Probe: N/A

Ignition Control Module (ICM)

Pin

Wire Color

Circuit No.

Function

1

2.5 BN

650

Ground

2

1.5 BK

39

Run/Crank Ignition 1 Voltage

3

1 BU/YE

2124

Ignition Control 4

4

1 BU/GN

2123

Ignition Control 3

5

1 BU/WH

2122

Ignition Control 2

6

1 BU/RD

2121

Ignition Control 1

Inflatable Restraints Front End Sensor - Left


Object Number: 1974976  Size: CH

Connector Part Information

  • OEM: 1241905-4
  • Service: 93181669
  • Description: 2-Way F 64 MQS Series, Sealed (BK/BG)

Terminal Part Information

  • Terminal/Tray: Service by Connector Assembly - 93181669
  • Release Tool/Test Probe: N/A

Inflatable Restraints Front End Sensor - Left

Pin

Wire Color

Circuit No.

Function

1

0.5 BK/WH

6168

Middle Front Impact Sensing Module Supply Voltage

2

0.5 OG/BK

6169

Middle Front Impact Sensing Module Signal

Inflatable Restraint Front End Sensor - Right


Object Number: 1974976  Size: CH

Connector Part Information

  • OEM: 5-1241905-5
  • Service: Service by Harness - See Part Catalog
  • Description: 2-Way F 64 MQS Series, Sealed (BG)

Terminal Part Information

  • Terminal/Tray: Service by Harness - See Part Catalog
  • Release Tool/Test Probe: N/A

Inflatable Restraint Front End Sensor - Right

Pin

Wire Color

Circuit No.

Function

1

0.5 YE/GY

6776

Middle Front Impact Sensing Module 2 Supply Voltage

2

0.5 GN/WH

6777

Middle Front Impact Sensing Module 2 Signal

Inflatable Restraint Front Passenger Presence System (PPS) Module


Object Number: 831380  Size: CH

Connector Part Information

  • OEM: 15332142
  • Service: 89046638
  • Description: 6-Way F GT 150 Series, Unsealed (BK)

Terminal Part Information

  • Terminal/Tray: Service by Connector Assembly - 89046638
  • Release Tool/Test Probe: N/A

Inflatable Restraint Front Passenger Presence System (PPS) Module

Pin

Wire Color

Circuit No.

Function

A

0.5 BK

1539

Run/Crank Ignition 1 Voltage

B

0.5 OG/WH

5018

Occupant Sensor Serial Data

C

0.5 OG/VT

353

Passenger IP Module Suppression Indicator Control

D

0.5 OG/BN

2450

Ground

E

0.5 OG/BK

371

Passenger IP Module Disable Switch Signal

F

--

--

Not Used

Inflatable Restraint I/P Module - X1


Object Number: 2100414  Size: CH

Connector Part Information

  • OEM: 6 120 27 00
  • Service: Service by Harness - See Part Catalog
  • Description: 2-Way F (PU with OG Cover)

Terminal Part Information

  • Terminal/Tray: Service by Harness - See Part Catalog
  • Release Tool/Test Probe: N/A

Inflatable Restraint I/P Module - X1

Pin

Wire Color

Circuit No.

Function

1

0.5 OG/WH

3024

Passenger IP Module Stage 1 Low Control

2

0.5 WH

3025

Passenger IP Module Stage 1 High Control

Inflatable Restraint I/P Module - X2


Object Number: 1290044  Size: CH

Connector Part Information

  • OEM: 6 120 2700
  • Service: Service by Harness - See Part Catalog
  • Description: 2-Way F (YE with OG Cover)

Terminal Part Information

  • Terminal/Tray: Service by Harness - See Part Catalog
  • Release Tool/Test Probe: N/A

Inflatable Restraint I/P Module - X2

Pin

Wire Color

Circuit No.

Function

1

0.5 VT

3026

Passenger IP Module Stage 2 Low Control

2

0.5 OG/BK

3027

Passenger IP Module Stage 2 High Control

Inflatable Restraint Steering Wheel Module - X1


Object Number: 2100414  Size: CH

Connector Part Information

  • OEM: 6 120 27 00
  • Service: Service by Harness - See Part Catalog
  • Description: 2-Way F (PU with OG Cover)

Terminal Part Information

  • Terminal/Tray: Service by Harness - See Part Catalog
  • Release Tool/Test Probe: N/A

Inflatable Restraint Steering Wheel Module - X1

Pin

Wire Color

Circuit No.

Function

1

BU

3020

Steering Wheel Module Stage 1 Low Control

2

WH

3021

Steering Wheel Module Stage 1 High Control

Inflatable Restraint Steering Wheel Module - X2


Object Number: 1290044  Size: CH

Connector Part Information

  • OEM: 6 120 27 00
  • Service: Service by Harness - See Part Catalog
  • Description: 2-Way F (YE with OG Cover)

Terminal Part Information

  • Terminal/Tray: Service by Harness - See Part Catalog
  • Release Tool/Test Probe: N/A

Inflatable Restraint Steering Wheel Module - X2

Pin

Wire Color

Circuit No.

Function

1

GN

3022

Steering Wheel Module Stage 2 Low Control

2

YE

3023

Steering Wheel Module Stage 2 High Control

Inflatable Restraint Roof Rail Module - Left


Object Number: 2100411  Size: CH

Connector Part Information

  • OEM: 12186799
  • Service: 15306012
  • Description: 2-Way M 280 Series (GN Encased in YE)

Terminal Part Information

  • Terminal/Tray: Service by Connector Assembly - 15306012
  • Release Tool/Test Probe: N/A

Inflatable Restraint Roof Rail Module - Left

Pin

Wire Color

Circuit No.

Function

1

0.5 GN

5020

Left Front Head Curtain Module Low Control

2

0.5 OG/GN

5019

Left Front Head Curtain Module High Control

Inflatable Restraint Roof Rail Module - Right


Object Number: 2100411  Size: CH

Connector Part Information

  • OEM: 12186799
  • Service: 15306012
  • Description: 2-Way M 280 Series (GN Encased in YE)

Terminal Part Information

  • Terminal/Tray: Service by Connector Assembly -15306012
  • Release Tool/Test Probe: N/A

Inflatable Restraint Roof Rail Module - Right

Pin

Wire Color

Circuit No.

Function

1

0.5 GY

5022

Right Front Head Curtain Module Low Control

2

0.5 OG/GY

5021

Right Front Head Curtain Module High Control

Inflatable Restraint Sensing and Diagnostic Module (SDM) - X1


Object Number: 2071664  Size: CH

Connector Part Information

  • OEM: ZF56-10
  • Service: Service by Harness - See Part Catalog
  • Description: 56-Way F MX123 34576 Series (BN w/YE Lock)

Terminal Part Information

  • Terminal/Tray: Service by Harness - See Part Catalog
  • Release Tool/Test Probe: N/A

Inflatable Restraint Sensing and Diagnostic Module (SDM) - X1

Pin

Wire Color

Circuit No.

Function

1-14

--

--

Not Used

15

0.5 WH

3025

Passenger IP Module Stage 1 High Control

16

0.5 OG/WH

3024

Passenger IP Module Stage 1 Low Control

17

0.5 VT

3026

Passenger IP Module Stage 2 Low Control

18

0.5 OG/BK

3027

Passenger IP Module Stage 2 High Control

19-22

--

--

Not Used

23

0.5 OG/BK

3023

Steering Wheel Module Stage 2 High Control

24

0.5 BK

3022

Steering Wheel Module Stage 2 Low Control

25

0.5 VT

3020

Steering Wheel Module Stage 1 Low Control

26

0.5 OG/VT

3021

Steering Wheel Module Stage 1 High Control

27-28

--

--

Not Used

29

0.5 OG/WH

5018

Occupant Sensor Serial Data

30

0.5 OG/GY

5246

SIR Deployed Signal

31-33

--

--

Not Used

34

0.5 BU/BK

234

Seat Belt Indicator Control

35

0.5 GN

5060

Low Speed GMLAN Serial Data

36

--

--

Not Used

37

0.5 GN

5060

Low Speed GMLAN Serial Data

38

0.5 GN

5060

Low Speed GMLAN Serial Data

39-56

--

--

Not Used

Inflatable Restraint Sensing and Diagnostic Module (SDM) - X2


Object Number: 2071632  Size: CH

Connector Part Information

  • OEM: ZF56-1 (2 Door) ZF56-2 (4 Door)
  • Service: Service by Harness - See Part Catalog
  • Description: 56-Way F MX123 34576 Series (GY w/YE Lock)

Terminal Part Information

  • Terminal/Tray: Service by Harness - See Part Catalog
  • Release Tool/Test Probe: N/A

Inflatable Restraint Sensing and Diagnostic Module (SDM) - X2

Pin

Wire Color

Circuit No.

Function

1-15

--

--

Not Used

16

0.75 OG/BN

2450

Ground

17

0.5 OG/GY

5021

Right Front Head Curtain Module High Control

18

0.5 GY

5022

Right Front Head Curtain Module Low Control

19

0.5 BU

2117

Passenger Seat Belt Pretensioner Low Control

20

0.5 OG/GY

2116

Passenger Seat Belt Pretensioner High Control

21

0.5 OG/GN

5019

Left Front Head Curtain Module High Control

22

0.5 GN

5020

Left Front Head Curtain Module Low Control

23

0.5 BK/WH

2104

Right Side Impact Module Low Control

24

0.5 OG/BK

2103

Right Side Impact Module High Control

25

0.5 OG/BN

2118

Driver Seat Belt Pretensioner High Control

26

0.5 BN

2119

Driver Seat Belt Pretensioner Low Control

27

0.5 BU

2138

Left Front Side Impact Module Low Control

28

0.5 OG/BU

2137

Left Front Side Impact Module High Control

29

0.75 BK

3

Run/Crank Ignition 1 Voltage

30

0.5 BK/WH

6168

Middle Front Impact Sensing Module Supply Voltage

31

0.5 OG/BK

6169

Middle Front Impact Sensing Module Signal

32

0.5 YE/GY

6776

Middle Front Impact Sensing Module 2 Supply Voltage

33

0.5 GN/WH

6777

Middle Front Impact Sensing Module 2 Signal

34

0.5 BN/WH

238

Driver Seat Belt Switch Signal

35

0.5 VT/BK

1363

Low Reference

36

0.5 BU

1362

Passenger Seat Belt Switch Signal

37

0.5 BU/BK

1361

Low Reference

38

0.5 BU/YE

5056

Passenger Seat Position Switch Signal

39

0.5 GN/WH

2131

Left Front Side Impact Sensing Module Supply Voltage

40

0.5 OG/GN

2132

Left Front Side Impact Sensing Module Signal

41

0.5 BN/WH

2133

Right Front Side Impact Sensing Module Supply Voltage

42

0.5 OG/BN

2134

Right Front Side Impact Sensing Module Signal

43-56

--

--

Not Used

Inflatable Restraint Side Impact Sensor (SIS) - Left


Object Number: 1974976  Size: CH

Connector Part Information

  • OEM: 1241905-4
  • Service: Service by Harness - See Part Catalog
  • Description: 2-Way F 64 MQS Series, Sealed (YE)

Terminal Part Information

  • Terminal/Tray: Service by Harness - See Part Catalog
  • Release Tool/Test Probe: N/A

Inflatable Restraint Side Impact Sensor (SIS) - Left

Pin

Wire Color

Circuit No.

Function

1

0.5 GN/WH

2131

Left Front Side Impact Sensing Module Supply Voltage

2

0.5 OG/GN

2132

Left Front Side Impact Sensing Module Signal

Inflatable Restraint Side Impact Sensor (SIS) - Right


Object Number: 1974976  Size: CH

Connector Part Information

  • OEM: 5-1241905-4
  • Service: Service by Harness - See Part Catalog
  • Description: 2-Way F 64 MQS Series, Sealed (YE)

Terminal Part Information

  • Terminal/Tray: Service by Harness - See Part Catalog
  • Release Tool/Test Probe: N/A

Inflatable Restraint Side Impact Sensor (SIS) - Right

Pin

Wire Color

Circuit No.

Function

1

0.5 BN/WH

2133

Right Front Side Impact Sensing Module Supply Voltage

2

0.5 OG/BN

2134

Right Front Side Impact Sensing Module Signal

Inflatable Restraint Steering Wheel Module Coil


Object Number: 1715242  Size: CH

Connector Part Information

  • OEM: See Catalog
  • Service: Service by Harness - See Part Catalog
  • Description: 6-Way F (BK)

Terminal Part Information

  • Terminal/Tray: Service by Harness - See Part Catalog
  • Release Tool/Test Probe: N/A

Inflatable Restraint Steering Wheel Module Coil

Pin

Wire Color

Circuit No.

Function

1-2

--

--

Not Used

3

0.5 YE

--

--

4

0.5 GN

--

--

5

0.5 BU

--

--

6

0.5 PU

--

--

Inside Rearview Mirror (ISRVM)


Object Number: 655810  Size: CH

Connector Part Information

  • OEM: 917981-2
  • Service: 15306351
  • Description: 16-Way F MQS Series (BK)

Terminal Part Information

  • Terminal/Tray: Service by Harness - See Part Catalog
  • Release Tool/Test Probe: N/A

Inside Rearview Mirror (ISRVM)

Pin

Wire Color

Circuit No.

Function

1-2

--

--

Not Used

3

0.5 OG/VT

353

Passenger IP Module Suppression Indicator Control

4

0.5 OG/BK

371

Passenger IP Module Disable Switch Signal

5-7

--

--

Not Used

8

0.5 BN

1550

Ground

9-10

--

--

Not Used

11

0.5 GN/WH

2514

Keypad Signal

12

0.5 OG/BK

2518

10-Volt Reference

13

0.5 BK

139

Run/Crank Ignition 1 Voltage

14

0.5 YE/BK

2516

Keypad Green LED

15

0.5 BN/WH

2517

Keypad Red LED

16

--

--

Not Used

Instrument Panel Cluster (IPC)


Object Number: 2039620  Size: CH

Connector Part Information

  • OEM: 1241727-1
  • Service: 93186677
  • Description: 42-Way F MQS Series (BK)

Terminal Part Information

  • Terminal/Tray: Service by Harness - See Part Catalog
  • Release Tool/Test Probe: N/A

Instrument Panel Cluster (IPC)

Pin

Wire Color

Circuit No.

Function

1-5

--

--

Not Used

6

0.5 BK/WH

292

Rear Defog Switch Signal

7-9

--

--

Not Used

10

0.5 BK/VT

66

A/C Request Signal (C60)

11

0.5 YE/RD

1591

Auto LED Control

12-13

--

--

Not Used

14

0.5 BN/YE

998

MIL Control

15

--

--

Not Used

16

0.75 RD

1742

Battery Positive Voltage

17

0.5 BK/VT

1717

Hazard Switch Indicator Control

18

--

--

Not Used

19

0.5 GY/YE

1382

LED Dimming Signal

20

0.5 BN

1650

Ground

21

0.5 BN

1650

Ground

22-26

--

--

Not Used

27

0.5 BK

1039

Run/Crank Ignition 1 Voltage

28

0.5 GY/BU

192

Front Fog Lamp Switch Signal (T96)

29

0.5 GY/VT

44

Instrument Panel Lamp Dimmer Switch Signal

30-32

--

--

Not Used

33

0.5 YE

1201

Headlamp Low Beam

34

0.5 GN

5060

Low Speed GMLAN Serial Data

35

0.5 GN

5060

Low Speed GMLAN Serial Data

36

0.5 BN/YE

1651

Low Reference

37

0.5 GY/GN

13

Headlamp Switch Park Lamp Signal

38

0.5 BN/WH

682

Door Lock Lock/Unlock Signal

39

0.5 BK/BN

1145

Tire Inflation Monitor Reset Switch Signal

40

0.5 GN/WH

111

Hazard Switch Signal

41

0.5 YE/BK

1436

Auto Switch Signal

42

0.5 BN/WH

193

Rear Defog Relay Control

Intake Manifold Tuning (IMT) Solenoid Valve


Object Number: 1869767  Size: CH

Connector Part Information

  • OEM: 1-0967644-1
  • Service: 93188697
  • Description: 2-Way F 2.8 Timer Series, Sealed (BK)

Terminal Part Information

  • Terminal/Tray: Service by Connector Assembly - 93188697
  • Release Tool/Test Probe: N/A

Intake Manifold Tuning (IMT) Solenoid Valve

Pin

Wire Color

Circuit No.

Function

1

0.5 YE/VT

5041

Intake Manifold Control 1

2

0.5 RD/BU

5291

Ignition Voltage

Intake Manifold Tuning Valve (IMTV) Sensor


Object Number: 1914850  Size: CH

Connector Part Information

  • OEM: ZFW 3-45
  • Service: 19179748
  • Description: 3-Way F (BK)

Terminal Part Information

  • Terminal/Tray: Service by Connector Assembly - 19179748
  • Release Tool/Test Probe: N/A

Intake Manifold Tuning Valve (IMTV) Sensor

Pin

Wire Color

Circuit No.

Function

1

0.5 BU

5042

Intake Manifold Tuning Valve Sensor Signal

2

0.5 BN/YE

5041

Low Reference

3

0.5 BK/WH

474

5 Volt Reference 1

K50 Relay (C3U)


Object Number: 872587  Size: CH

Connector Part Information

  • OEM: 12034003
  • Service: 88987189
  • Description: 4-Way F (BK)

Terminal Part Information

  • Terminal/Tray: Service by Connector Assembly - 88987189
  • Release Tool/Test Probe: N/A

K50 Relay (C3U)

Pin

Wire Color

Circuit No.

Function

1

0.5 GN/WH

129

Sunroof Motor Close Control

2

0.75 BK

1039

Run/Crank Ignition 1 Voltage

3

0.75 BN

1650

Ground

4

0.5 BU/WH

110

Sunroof Switch Close Signal

K93 Relay (MNF)


Object Number: 281199  Size: CH

Connector Part Information

  • OEM: 12034003
  • Service: Service by Harness - See Part Catalog
  • Description: 5-Way F Metri-Pack 630 Series (BK)

Terminal Part Information

  • Terminal/Tray: Service by Harness - See Part Catalog
  • Release Tool/Test Probe: N/A

K93 Relay (MNF)

Pin

Wire Color

Circuit No.

Function

1

0.75 BK

539

Run/Crank Ignition 1 Voltage

2

0.5 BN

2150

Ground

3

0.5 BN/GY

17

Stop Lamp Switch Signal

4

--

--

Not Used

5

0.5 BN/GY

17

Stop Lamp Switch Signal

Knock Sensor (KS)


Object Number: 2039675  Size: CH

Connector Part Information

  • OEM: ZFW 2-30
  • Service: Service by Harness - See Part Catalog
  • Description: 2-Way F Sealed (BK)

Terminal Part Information

  • Terminal/Tray: Service by Harness - See Part Catalog
  • Release Tool/Test Probe: N/A

Knock Sensor (KS)

Pin

Wire Color

Circuit No.

Function

1

0.5 GY/BK

496

KS Signal

2

0.5 GY/RD

1716

KS Signal

License Lamp - Left


Object Number: 1898384  Size: CH

Connector Part Information

  • OEM: 1452680-1
  • Service: Service by Harness - See Part Catalog
  • Description: 2-Way F 1.2 Timer Series, Sealed (BK)

Terminal Part Information

  • Terminal/Tray: Service by Harness - See Part Catalog
  • Release Tool/Test Probe: N/A

License Lamp - Left

Pin

Wire Color

Circuit No.

Function

1

0.5 BN

2550

Ground

2

0.5 GY/GN

1255

License Supply Voltage Signal

License Lamp - Right


Object Number: 1898384  Size: CH

Connector Part Information

  • OEM: 1452680-1
  • Service: Service by Harness - See Part Catalog
  • Description: 2-Way F 1.2 Timer Series, Sealed (BK)

Terminal Part Information

  • Terminal/Tray: Service by Harness - See Part Catalog
  • Release Tool/Test Probe: N/A

License Lamp - Right

Pin

Wire Color

Circuit No.

Function

1

0.5 BN

2550

Ground

2

0.5 GY/GN

1255

License Supply Voltage Signal

Liftgate Latch Assembly


Object Number: 2039670  Size: CH

Connector Part Information

  • OEM: 15426710
  • Service: Service by Harness - See Part Catalog
  • Description: 4-Way F 1.2 Timer Series, Sealed (BK)

Terminal Part Information

  • Terminal/Tray: Service by Harness - See Part Catalog
  • Release Tool/Test Probe: N/A

Liftgate Latch Assembly

Pin

Wire Color

Circuit No.

Function

1

0.75 BN/WH

5799

Lift Gate Open/Close Motor Close Control

2

0.75 BN

2550

Ground

3

0.5 BK/BU

1303

Liftgate Ajar Switch Signal

4

--

--

Not Used

Liftgate Release Switch


Object Number: 872587  Size: CH

Connector Part Information

  • OEM: 968943-2
  • Service: Service by Harness - See Part Catalog
  • Description: 4-Way F 64 MQS Series (GY)

Terminal Part Information

  • Terminal/Tray: Service by Harness - See Part Catalog
  • Release Tool/Test Probe: N/A

Liftgate Release Switch

Pin

Wire Color

Circuit No.

Function

1

0.5 BU/YE

5797

Rear Closure Handle Switch Open Signal

2

--

--

Not Used

3

0.5 BN

2550

Ground

4

--

--

Not Used

Mass Air Flow (MAF) / Intake Air Temperature (IAT) sensor


Object Number: 2039688  Size: CH

Connector Part Information

  • OEM: 1.93E+09
  • Service: Service by Harness - See Part Catalog
  • Description: 4-Way F (BK)

Terminal Part Information

  • Terminal/Tray: Service by Harness - See Part Catalog
  • Release Tool/Test Probe: N/A

Mass Air Flow (MAF) / Intake Air Temperature (IAT) sensor

Pin

Wire Color

Circuit No.

Function

1

0.5 BK/VT

469

Low Reference

2

0.5 BN/GN

472

Intake Air Temperature Sensor Signal

3

0.5 GN/WH

492

Mass Air Flow Sensor Signal

4

0.5 RD/BU

5291

Ignition Voltage

Mode Actuator


Object Number: 2071630  Size: CH

Connector Part Information

  • OEM: 1-355082-1
  • Service: Service by Harness - See Part Catalog
  • Description: 6-Way F MQS Series, (BK)

Terminal Part Information

  • Terminal/Tray: Service by Harness - See Part Catalog
  • Release Tool/Test Probe: N/A

Mode Actuator

Pin

Wire Color

Circuit No.

Function

1

BK

--

Low Reference

2

YE

--

Mode Actuator Sensor Signal

3

BN/BK

--

8V Reference

4

--

--

Not Used

5

PU

--

Mode Door Control A

6

BU/RD

--

Mode Door Control B

Multifunction Switch - I/P


Object Number: 2039666  Size: CH

Connector Part Information

  • OEM: 1355348-1
  • Service: 93187174
  • Description: 18-way F MQS Series (BK)

Terminal Part Information

  • Terminal/Tray: Service by Harness - See Part Catalog
  • Release Tool/Test Probe: N/A

Multifunction Switch - I/P

Pin

Wire Color

Circuit No.

Function

1

--

--

Not Used

2

0.5 BN

1650

Ground

3

0.5 BN/GY

1462

Driver Heated Seat Switch Control

4

0.5 BK/BN

1145

Tire Inflation Monitor Reset Switch Signal

5

0.5 BN/WH

682

Door Lock Lock/Unlock Signal

6

0.5 GN/WH

111

Hazard Switch Signal

7

--

--

Not Used

8

0.5 YE/BK

1436

Auto Switch Signal

9

0.5 BK/YE

1505

Front Passenger Heated Seat Switch Control

10

--

--

Not Used

11

0.5 BU/BK

234

Seat Belt Indicator Control

12

0.5 BK

1139

Run/Crank Ignition 1 Voltage

13

0.5 BK

1039

Run/Crank Ignition 1 Voltage

14

0.5 VT/BN

5968

Driver Door Lock Status Indicator Signal

15

0.5 BK/VT

1717

Hazard Switch Indicator Control

16

--

--

Not Used

17

0.5 YE/RD

1591

Auto LED Control

18

0.5 GY/YE

1382

LED Dimming Signal

Neutral Control Solenoid Valve (MNF)

Connector Part Information

  • OEM: See Catalog
  • Service: Service by Harness - See Part Catalog
  • Description: 2-Way F (BK)

Terminal Part Information

  • Terminal/Tray: Service by Harness - See Part Catalog
  • Release Tool/Test Probe: N/A

Neutral Control Solenoid Valve (MNF)

Pin

Wire Color

Circuit No.

Function

A

--

--

Low Reference

B

RD

1527

Shift Solenoid Supply Voltage 3

Outside Rearview Mirror - Driver


Object Number: 2039631  Size: CH

Connector Part Information

  • OEM: ID815839
  • Service: Service by Harness - See Part Catalog
  • Description: 18-Way F MQS Series (GY)

Terminal Part Information

  • Terminal/Tray: Service by Harness - See Part Catalog
  • Release Tool/Test Probe: N/A

Outside Rearview Mirror - Driver

Pin

Wire Color

Circuit No.

Function

1

0.5 BU/WH

6160

Outside Left Mirror Vertical Position Control

2

0.5 GN/WH

6159

Outside Left Mirror Horizontal Position Control

3

0.5 BN

6163

Outside Mirror Position Motor Drain Wire

4-7

--

--

Not Used

8

0.75 WH/BK

2267

Mirror Heating Element Supply Voltage

9

0.75 BN

1550

Ground

10-18

--

--

Not Used

Outside Rearview Mirror - Passenger


Object Number: 2039631  Size: CH

Connector Part Information

  • OEM: ID815839
  • Service: Service by Harness - See Part Catalog
  • Description: 18-Way F MQS Series (GY)

Terminal Part Information

  • Terminal/Tray: Service by Harness - See Part Catalog
  • Release Tool/Test Probe: N/A

Outside Rearview Mirror - Passenger

Pin

Wire Color

Circuit No.

Function

1

0.5 BU/BK

6162

Outside Right Mirror Vertical Position Control

2

0.5 GN/BK

6161

Outside Right Mirror Horizontal Position Control

3

0.5 BN

6163

Outside Mirror Position Motor Drain Wire

4-7

--

--

Not Used

8

0.75 WH/BK

2267

Mirror Heating Element Supply Voltage

9

0.75 BN

1550

Ground

10-18

--

--

Not Used

Park Brake Switch


Object Number: 2039657  Size: CH

Connector Part Information

  • OEM: 13242.562.699
  • Service: 93186705
  • Description: 1-Way F 1.5 Series (BK)

Terminal Part Information

  • Terminal/Tray: Service by Connector Assembly - 93186705
  • Release Tool/Test Probe: N/A

Park Brake Switch

Pin

Wire Color

Circuit No.

Function

1

0.5 BN/RD

1134

Park Brake Switch Signal

Park/Neutral Position (PNP) Switch (MNF)


Object Number: 2039690  Size: CH

Connector Part Information

  • OEM: ZFW10-2
  • Service: Service by Harness - See Part Catalog
  • Description: 10-Way F (BK)

Terminal Part Information

  • Terminal/Tray: Service by Harness - See Part Catalog
  • Release Tool/Test Probe: N/A

Park/Neutral Position (PNP) Switch (MNF)

Pin

Wire Color

Circuit No.

Function

1

0.75 WH

771

Transmission Position Switch Bit 1 Signal

2

0.75 GN/WH

772

Transmission Position Switch Bit 2 Signal

3

0.75 GY

773

Transmission Position Switch Bit 3 Signal

4

0.75 WH/YE

1371

Transmission Position Switch Bit 4 Signal

5

--

--

Not Used

6

2.5 BK/RD

6

Starter Solenoid Crank Voltage

7

0.75 BK/WH

5007

Reverse Switch Signal

8

0.75 BK

539

Run/Crank Ignition 1 Voltage

9

0.75 BN

650

Ground

10

2.5 BK/RD

6

Starter Solenoid Crank Voltage

Position Lamp - Left


Object Number: 1290411  Size: CH

Connector Part Information

  • OEM: See Catalog
  • Service: Service by Harness - See Part Catalog
  • Description: 2-Way F (BK)

Terminal Part Information

  • Terminal/Tray: Service by Harness - See Part Catalog
  • Release Tool/Test Probe: N/A

Position Lamp - Left

Pin

Wire Color

Circuit No.

Function

--

BK

709

Left Park Lamp Supply Voltage

--

BK

1150

Ground

Position Lamp - Right


Object Number: 1290411  Size: CH

Connector Part Information

  • OEM: See Catalog
  • Service: Service by Harness - See Part Catalog
  • Description: 2-Way F (BK)

Terminal Part Information

  • Terminal/Tray: Service by Harness - See Part Catalog
  • Release Tool/Test Probe: N/A

Position Lamp - Right

Pin

Wire Color

Circuit No.

Function

--

BK

309

Right Park Lamp Supply Voltage

--

BK

1050

Ground

Power Steering Control Module (PSCM) - X1 (NS2/NR1)


Object Number: 816171  Size: CH

Connector Part Information

  • OEM: ZFW 3-45
  • Service: Service by Harness - See Part Catalog
  • Description: 3-Way F Sealed (BK)

Terminal Part Information

  • Terminal/Tray: Service by Harness - See Part Catalog
  • Release Tool/Test Probe: N/A

Power Steering Control Module (PSCM) - X1 (NS2/NR1)

Pin

Wire Color

Circuit No.

Function

1

0.5 BK

639

Run/Crank Ignition 1 Voltage

2

0.75 GN

2500

High Speed GMLAN Serial Data (+)

3

0.75 WH

2501

High Speed GMLAN Serial Data (-)

Power Steering Control Module (PSCM) - X2


Object Number: 2071667  Size: CH

Connector Part Information

  • OEM: ZFW 2-130
  • Service: Service by Harness - See Part Catalog
  • Description: 2-Way F Sealed (BK)

Terminal Part Information

  • Terminal/Tray: Service by Harness - See Part Catalog
  • Release Tool/Test Probe: N/A

Power Steering Control Module (PSCM) - X2

Pin

Wire Color

Circuit No.

Function

1

10 RD

702

Battery Positive Voltage

2

10 BN

150

Ground

Pressure Control (PC) Solenoid Valve (MNF)

Connector Part Information

  • OEM: See Catalog
  • Service: Service by Harness - See Part Catalog
  • Description: 2-Way F (BK)

Terminal Part Information

  • Terminal/Tray: Service by Harness - See Part Catalog
  • Release Tool/Test Probe: N/A

Pressure Control (PC) Solenoid Valve (MNF)

Pin

Wire Color

Circuit No.

Function

A

GN

5503

Low Reference

B

OG

1530

Transmission Mainline Pressure Solenoid Control

Radio - X1


Object Number: 1996329  Size: CH

Connector Part Information

  • OEM: 30235101
  • Service: 93186752
  • Description: 40-Way F Mixed Series (BK)

Terminal Part Information

  • Terminal/Tray: Service by Harness - See Part Catalog
  • Release Tool/Test Probe: N/A

Radio - X1

Pin

Wire Color

Circuit No.

Function

1

0.75 WH

46

Right Rear Speaker (+)

2

0.75 YE

200

Right Front Speaker (+)

3

0.75 BU

201

Left Front Speaker (+)

4

0.75 GN

199

Left Rear Speaker (+)

5

0.75 BN/WH

115

Right Rear Speaker Signal (-)

6

0.75 BN/YE

117

Right Front Speaker Signal (-)

7

0.75 BN/BU

118

Left Front Speaker Signal (-)

8

0.75 BN/GN

116

Left Rear Speaker Signal (-)

9

0.5 GN

5169

Mid Speed GMLAN Serial Data (+)

10

0.5 WH

5170

Mid Speed GMLAN Serial Data (-)

11

0.5 BK

693

Cellular Telephone Mute Signal

12

2.5 BN

1750

Ground

13

--

--

Not Used

14

0.5 WH/BN

1960

Front Center Speaker (-)

15

2.5 RD

3040

Battery Positive Voltage

16

0.5 YE/WH

1860

Front Center Speaker (+)

17-30

--

--

Not Used

31

0.35 VT/WH

5839

Left Auxiliary Audio Signal 2

32

0.35 VT/RD

5841

Right Auxiliary Audio Signal 2

33

--

--

Not Used

34

0.5 YE

658

Cellular Telephone Voice Signal

35-37

--

--

Not Used

38

0.35 BK

5842

Auxiliary Audio Screen 2

39

--

--

Not Used

40

0.5 YE/BN

659

Low Reference

Rear Window Defogger Grid - X1


Object Number: 1467072  Size: CH

Connector Part Information

  • OEM: 16000.649.696
  • Service: Service by Harness - See Part Catalog
  • Description: 1-Way F (BK)

Terminal Part Information

  • Terminal/Tray: Service by Harness - See Part Catalog
  • Release Tool/Test Probe: N/A

Rear Window Defogger Grid - X1

Pin

Wire Color

Circuit No.

Function

1

2.5 BK

293

Rear Defog Element Supply Voltage

Rear Window Defogger Grid - X2


Object Number: 1467072  Size: CH

Connector Part Information

  • OEM: 16000.649.696
  • Service: Service by Harness - See Part Catalog
  • Description: 1-Way F (BK)

Terminal Part Information

  • Terminal/Tray: Service by Harness - See Part Catalog
  • Release Tool/Test Probe: N/A

Rear Window Defogger Grid - X2

Pin

Wire Color

Circuit No.

Function

1

2.5 BN

2550

Ground

Rear Window Wiper Motor


Object Number: 2039669  Size: CH

Connector Part Information

  • OEM: ID601807
  • Service: Service by Harness - See Part Catalog
  • Description: 3-Way F Metri-Pack 280 Series (BK)

Terminal Part Information

  • Terminal/Tray: Service by Harness - See Part Catalog
  • Release Tool/Test Probe: N/A

Rear Window Wiper Motor

Pin

Wire Color

Circuit No.

Function

A

1.5 BU

393

Rear Window Wiper Motor Control

B

1.5 BN

2550

Ground

C

1.5 BK

1939

Run/Crank Ignition 1 Voltage

Recirculation Actuator


Object Number: 82383  Size: CH

Connector Part Information

  • OEM:12047662
  • Service: Service by Harness - See Part Catalog
  • Description: 2-Way F Metri-Pack 150 Series, (BK)

Terminal Part Information

  • Terminal/Tray: Service by Harness - See Part Catalog
  • Release Tool/Test Probe: N/A

Recirculation Actuator

Pin

Wire Color

Circuit No.

Function

A

BN

--

Recirculation Door Control A

B

OG/YE

--

Recirculation Door Control B

Repeater Lamp - Left Front


Object Number: 1667405  Size: CH

Connector Part Information

  • OEM: E0146
  • Service: Service by Harness - See Part Catalog
  • Description: 2-Way F Bulb Base (GY)

Terminal Part Information

  • Terminal/Tray: Service by Harness - See Part Catalog
  • Release Tool/Test Probe: N/A

Repeater Lamp - Left Front

Pin

Wire Color

Circuit No.

Function

A

0.5 GY/BK

2114

Left Turn Signal Lamp Supply Voltage

B

0.5 BN

1150

Ground

Repeater Lamp - Right Front


Object Number: 1667405  Size: CH

Connector Part Information

  • OEM: E0146
  • Service: Service by Harness - See Part Catalog
  • Description: 2-Way F Bulb Base (GY)

Terminal Part Information

  • Terminal/Tray: Service by Harness - See Part Catalog
  • Release Tool/Test Probe: N/A

Repeater Lamp - Right Front

Pin

Wire Color

Circuit No.

Function

A

0.5 GY/GN

2115

Right Turn Signal Lamp Supply Voltage

B

0.5 BN

1050

Ground

Seat Position Sensor - Passenger


Object Number: 1664592  Size: CH

Connector Part Information

  • OEM: 89047381
  • Service: Service by Harness - See Part Catalog
  • Description: 2-Way F (BK)

Terminal Part Information

  • Terminal/Tray: Service by Harness - See Part Catalog
  • Release Tool/Test Probe: N/A

Seat Position Sensor - Passenger

Pin

Wire Color

Circuit No.

Function

1

0.5 BN

1361

Low Reference

2

0.35 BK

5056

Passenger Seat Position Switch Signal

Side Marker Lamp - Left Front


Object Number: 1283850  Size: CH

Connector Part Information

  • OEM: E-5229
  • Service: Service by Harness - See Part Catalog
  • Description: 2-Way F Sealed (L-GY)

Terminal Part Information

  • Terminal/Tray: Service by Harness - See Part Catalog
  • Release Tool/Test Probe: N/A

Side Marker Lamp - Left Front

Pin

Wire Color

Circuit No.

Function

1

0.5 BK/WH

1414

Left Front Turn Signal Switch Signal

2

0.5 BN

1150

Ground

Side Marker Lamp - Left Rear


Object Number: 1283850  Size: CH

Connector Part Information

  • OEM: E-5229
  • Service: Service by Harness - See Part Catalog
  • Description: 2-Way F Sealed (L-GY)

Terminal Part Information

  • Terminal/Tray: Service by Harness - See Part Catalog
  • Release Tool/Test Probe: N/A

Side Marker Lamp - Left Rear

Pin

Wire Color

Circuit No.

Function

1

0.5 BN

2550

Ground

2

0.5 GY/GN

1255

Side Marker/License Supply Voltage Signal

Side Marker Lamp - Right Front


Object Number: 1283850  Size: CH

Connector Part Information

  • OEM: E-5229
  • Service: Service by Harness - See Part Catalog
  • Description: 2-Way F Sealed (L-GY)

Terminal Part Information

  • Terminal/Tray: Service by Harness - See Part Catalog
  • Release Tool/Test Probe: N/A

Side Marker Lamp - Right Front

Pin

Wire Color

Circuit No.

Function

1

0.5 BK/GN

1415

Right Front Turn Signal Switch Signal

2

0.5 BN

1050

Ground

Side Marker Lamp - Right Rear


Object Number: 1283850  Size: CH

Connector Part Information

  • OEM: E-5229
  • Service: Service by Harness - See Part Catalog
  • Description: 2-Way F Sealed (L-GY)

Terminal Part Information

  • Terminal/Tray: Service by Harness - See Part Catalog
  • Release Tool/Test Probe: N/A

Side Marker Lamp - Right Rear

Pin

Wire Color

Circuit No.

Function

1

0.5 BN

2550

Ground

2

0.5 GY/GN

1255

Side Marker/License Supply Voltage Signal

Speaker - Center I/P


Object Number: 872587  Size: CH

Connector Part Information

  • OEM: 968943-3
  • Service: 93184057
  • Description: 4-Way F 64 MQS Series (BN)

Terminal Part Information

  • Terminal/Tray: Service by Connector Assembly - 93184057
  • Release Tool/Test Probe: N/A

Speaker - Center I/P

Pin

Wire Color

Circuit No.

Function

1

0.5 YE/WH

1860

Front Center Speaker (+)

2-3

--

--

Not Used

4

0.5 WH/BN

1960

Front Center Speaker (-)

Speaker - Left Front Tweeter (U65)


Object Number: 1282877  Size: CH

Connector Part Information

  • OEM: ID404665
  • Service: Service by Harness - See Part Catalog
  • Description: 2-Way F FASTIN-FASTON 2.8 Series (WH)

Terminal Part Information

  • Terminal/Tray: Service by Harness - See Part Catalog
  • Release Tool/Test Probe: N/A

Speaker - Left Front Tweeter (U65)

Pin

Wire Color

Circuit No.

Function

1

0.75 BN/BU

118

Left Front Speaker Signal (-)

2

0.75 BU

201

Left Front Speaker (+)

Speaker - Left Front


Object Number: 2039668  Size: CH

Connector Part Information

  • OEM: ID404665
  • Service: Service by Harness - See Part Catalog
  • Description: 2-Way F FASTIN-FASTON 2.8 Series (BK)

Terminal Part Information

  • Terminal/Tray: Service by Harness - See Part Catalog
  • Release Tool/Test Probe: N/A

Speaker - Left Front

Pin

Wire Color

Circuit No.

Function

1

0.75 BU

201

Left Front Speaker (+)

2

0.75 BN/BU

118

Left Front Speaker Signal (-)

Speaker - Left Rear


Object Number: 2039668  Size: CH

Connector Part Information

  • OEM: ID404665
  • Service: Service by Harness - See Part Catalog
  • Description: 2-Way F FASTIN-FASTON 2.8 Series (BK)

Terminal Part Information

  • Terminal/Tray: Service by Harness - See Part Catalog
  • Release Tool/Test Probe: N/A

Speaker - Left Rear

Pin

Wire Color

Circuit No.

Function

1

0.75 GN

199

Left Rear Speaker (+)

2

0.75 BN/GN

116

Left Rear Speaker Signal (-)

Speaker - Right Front


Object Number: 2039668  Size: CH

Connector Part Information

  • OEM: ID404665
  • Service: Service by Harness - See Part Catalog
  • Description: 2-Way F FASTIN-FASTON 2.8 Series (BK)

Terminal Part Information

  • Terminal/Tray: Service by Harness - See Part Catalog
  • Release Tool/Test Probe: N/A

Speaker - Right Front

Pin

Wire Color

Circuit No.

Function

1

0.75 YE

200

Right Front Speaker (+)

2

0.75 BN/YE

117

Right Front Speaker Signal (-)

Speaker - Right Front Tweeter (U65)


Object Number: 1282877  Size: CH

Connector Part Information

  • OEM: ID404665
  • Service: Service by Harness - See Part Catalog
  • Description: 2-Way F FASTIN-FASTON 2.8 Series (WH)

Terminal Part Information

  • Terminal/Tray: Service by Harness - See Part Catalog
  • Release Tool/Test Probe: N/A

Speaker - Right Front Tweeter (U65)

Pin

Wire Color

Circuit No.

Function

1

0.75 BN/YE

117

Right Front Speaker Signal (-)

2

0.75 YE

200

Right Front Speaker (+)

Speaker - Right Rear


Object Number: 2039668  Size: CH

Connector Part Information

  • OEM: ID404665
  • Service: Service by Harness - See Part Catalog
  • Description: 2-Way F FASTIN-FASTON 2.8 Series (BK)

Terminal Part Information

  • Terminal/Tray: Service by Harness - See Part Catalog
  • Release Tool/Test Probe: N/A

Speaker - Right Rear

Pin

Wire Color

Circuit No.

Function

1

0.75 WH

46

Right Rear Speaker (+) (3 Door)

0.75 GN

199

Right Rear Speaker (+) (5 Door)

2

0.75 BN/WH

115

Right Rear Speaker Signal (-) (3 Door)

0.75 BN/GN

116

Right Rear Speaker Signal (-) (5 Door)

Starter - X1

Connector Part Information

  • Terminal: S4.3-8
  • Core/Insulation Crimp: N/A
  • Description: Ring Terminal
 

Starter - X1

Pin

Wire Color

Circuit No.

Function

--

25 RD

1B

Battery Positive Voltage

--

16 RD

1

Battery Positive Voltage

Starter - X2

Connector Part Information

  • Terminal: S4.3-8
  • Core/Insulation Crimp: N/A
  • Description: Ring Terminal
 

Starter - X2

Pin

Wire Color

Circuit No.

Function

--

2.5 BK/RD

6

Starter Solenoid Crank Voltage

Steering Wheel Control Switch - Left


Object Number: 605502  Size: CH

Connector Part Information

  • OEM:See Catalog
  • Service: Service by Harness - See Part Catalog
  • Description: 4-Way F (BK)

Terminal Part Information

  • Terminal/Tray: Service by Harness - See Part Catalog
  • Release Tool/Test Probe: N/A

Steering Wheel Control Switch - Left

Pin

Wire Color

Circuit No.

Function

1

GN

--

--

2

PU

--

--

3

RD

--

--

4

GY

--

--

Steering Wheel Control Switch - Right


Object Number: 605507  Size: CH

Connector Part Information

  • OEM:See Catalog
  • Service: Service by Harness - See Part Catalog
  • Description: 6-Way F (BK)

Terminal Part Information

  • Terminal/Tray: Service by Harness - See Part Catalog
  • Release Tool/Test Probe: N/A

Steering Wheel Control Switch - Right

Pin

Wire Color

Circuit No.

Function

1

BN/WH

--

Low Reference

2

BN

--

Horn Switch Signal

3

RD

--

--

4

YE

--

--

5

GY

--

--

6

BU

--

--

Steering Column Control Module


Object Number: 1506608  Size: CH

Connector Part Information

  • OEM: 1241726-1
  • Service: Service by Harness - See Part Catalog
  • Description: 32-Way F (YE Encased in BK)

Terminal Part Information

  • Terminal/Tray: Service by Harness - See Part Catalog
  • Release Tool/Test Probe: N/A

Steering Column Control Module

Pin

Wire Color

Circuit No.

Function

1

0.75 RD

1540

Battery Positive Voltage

2

0.75 BK

3

Run/Crank Ignition 1 Voltage

3

--

--

Not Used

4

0.5 GN

5060

Low Speed GMLAN Serial Data

5

0.5 GN

2500

High Speed GMLAN Serial Data (+)

6

0.5 WH

2501

High Speed GMLAN Serial Data (-)

7

0.75 BN

1650

Ground

8-10

--

--

Not Used

11

0.5 VT

3020

Steering Wheel Module Stage 1 Low Control

12

0.5 OG/VT

3021

Steering Wheel Module Stage 1 High Control

13

--

--

Not Used

14

0.5 BK

3022

Steering Wheel Module Stage 2 Low Control

15

0.5 OG/BK

3023

Steering Wheel Module Stage 2 High Control

16

--

--

Not Used

17

0.5 BN/GN

1884

Ignition Voltage

18

--

--

Not Used

19

0.5 GN

5060

Low Speed GMLAN Serial Data

20

0.5 GN

5060

Low Speed GMLAN Serial Data

21

0.5 GN

2500

High Speed GMLAN Serial Data (+)

22

0.5 WH

2501

High Speed GMLAN Serial Data (-)

23-32

--

--

Not Used

Stop Lamp Switch


Object Number: 872587  Size: CH

Connector Part Information

  • OEM: 968943-2
  • Service: 93186707
  • Description: 4-Way F 64 MQS Series (GY)

Terminal Part Information

  • Terminal/Tray: Service by Connector Assembly - 93186707
  • Release Tool/Test Probe: N/A

Stop Lamp Switch

Pin

Wire Color

Circuit No.

Function

1

0.5 RD

302

Battery Positive Voltage

2

0.5 BN/GY

17

Stop Lamp Switch Signal

3

0.5 RD/BU

5293

Ignition Voltage

4

0.5 BK/BN

848

Brake Switch Signal

Sunroof Control Module (C3U)


Object Number: 1341506  Size: CH

Connector Part Information

  • OEM: 927458-1
  • Service: Service by Harness - See Part Catalog
  • Description: 12-Way F (BK)

Terminal Part Information

  • Terminal/Tray: Service by Harness - See Part Catalog
  • Release Tool/Test Probe: N/A

Sunroof Control Module (C3U)

Pin

Wire Color

Circuit No.

Function

1

0.5 OG

110

Sunroof Switch Close Signal

2

0.5 BN

--

Sunroof Motor Close Control

3

0.5 PK

--

Sunroof Open/Closed Signal

4

0.5 BU

4

Accessory Voltage

5

2.5 RD

140

Battery Positive Voltage

6

2.5 BK

1550

Ground

7

0.5 GY

--

Not Used

8-12

--

--

Not Used

Sunroof Shade Module (C3U)


Object Number: 1341506  Size: CH

Connector Part Information

  • OEM: 927458-1
  • Service: Service by Harness - See Part Catalog
  • Description: 12-Way F (BK)

Terminal Part Information

  • Terminal/Tray: Service by Harness - See Part Catalog
  • Release Tool/Test Probe: N/A

Sunroof Shade Module (C3U)

Pin

Wire Color

Circuit No.

Function

1

0.5 OG

--

Sunroof Shade Switch Close Signal

2

0.5 BN

--

Sunroof Shade Switch Open Signal

3

0.5 PK

--

Sunroof Open/Closed Signal

4

--

--

Not Used

5

2.5 RD

142

Battery Positive Voltage

6

2.5 BK

1550

Ground

7-12

--

--

Not Used

Sunroof Shade Switch (C3U)


Object Number: 1697500  Size: CH

Connector Part Information

  • OEM: 968291-2
  • Service: Service by Harness - See Part Catalog
  • Description: 6-Way F Micro Quadlok Series (BK)

Terminal Part Information

  • Terminal/Tray: Service by Harness - See Part Catalog
  • Release Tool/Test Probe: N/A

Sunroof Shade Switch (C3U)

Pin

Wire Color

Circuit No.

Function

1

--

--

Not Used

2

0.5 OG

--

Sunroof Shade Switch Close Signal

3

0.5 RD

1382

LED Dimming Signal

4

0.5 BK

1550

Ground

5

0.5 BN

--

Sunroof Shade Switch Open Signal

6

0.5 BK

1550

Ground

Sunroof Switch (C3U)


Object Number: 1697500  Size: CH

Connector Part Information

  • OEM: 2-968291-1
  • Service: Service by Harness - See Part Catalog
  • Description: 6-Way F Micro Quadlok Series (WH)

Terminal Part Information

  • Terminal/Tray: Service by Harness - See Part Catalog
  • Release Tool/Test Probe: N/A

Sunroof Switch (C3U)

Pin

Wire Color

Circuit No.

Function

1

--

--

Not Used

2

0.5 OG

129

Sunroof Motor Close Control

3

0.5 RD

1382

LED Dimming Signal

4

0.5 BK

1550

Ground

5

0.5 BN

--

Sunroof Motor Close Control

6

0.5 BK

1550

Ground

Sunshade - Left


Object Number: 82383  Size: CH

Connector Part Information

  • OEM: ID401561
  • Service: 93182537
  • Description: 2-Way F (BK)

Terminal Part Information

  • Terminal/Tray: Service by Connector Assembly - 93182537
  • Release Tool/Test Probe: N/A

Sunshade - Left

Pin

Wire Color

Circuit No.

Function

A

0.5 RD/BU

1732

Inadvertant Power Courtesy Lamp

B

0.5 BN

1550

Ground

Sunshade - Right


Object Number: 82383  Size: CH

Connector Part Information

  • OEM: ID401561
  • Service: 93182537
  • Description: 2-Way F (BK)

Terminal Part Information

  • Terminal/Tray: Service by Connector Assembly - 93182537
  • Release Tool/Test Probe: N/A

Sunshade - Right

Pin

Wire Color

Circuit No.

Function

A

0.5 RD/BU

1732

Inadvertant Power Courtesy Lamp

B

0.5 BN

1550

Ground

Tail Lamp - Left


Object Number: 2039667  Size: CH

Connector Part Information

  • OEM: ID404398
  • Service: Service by Harness - See Part Catalog
  • Description: 6-Way F (BK)

Terminal Part Information

  • Terminal/Tray: Service by Harness - See Part Catalog
  • Release Tool/Test Probe: N/A

Tail Lamp - Left

Pin

Wire Color

Circuit No.

Function

1

1.5 BN

2550

Ground (3 Door)

0.5 WH/BK

5219

Left Backup Lamp Supply Voltage (5 Door)

2

0.5 WH/BK

5219

Left Backup Lamp Supply Voltage (3 Door)

3

--

--

Not Used

4

0.5 BK/YE

5221

Left Brake Lamp Supply Voltage (5 Door)

5

0.5 BK/WH

1334

Left Rear Turn Signal Lamp Supply Voltage

6

0.5 BK/YE

5221

Left Brake Lamp Supply Voltage (3 Door)

1.5 BN

2550

Ground (5 Door)

Tail Lamp - Right


Object Number: 2039667  Size: CH

Connector Part Information

  • OEM: ID404398
  • Service: Service by Harness - See Part Catalog
  • Description: 6-Way F (BK)

Terminal Part Information

  • Terminal/Tray: Service by Harness - See Part Catalog
  • Release Tool/Test Probe: N/A

Tail Lamp - Right

Pin

Wire Color

Circuit No.

Function

1

0.5 BK/YE

5222

Right Brake Lamp Supply Voltage (3 Door)

1.5 BN

2550

Ground (5 Door)

2

0.5 BK/GN

1335

Right Rear Turn Signal Lamp Supply Voltage

3

0.5 BK/YE

5222

Right Brake Lamp Supply Voltage (5 Door)

4

--

--

Not Used

5

0.5 WH/BK

5220

Right Backup Lamp Supply Voltage (3 Door)

6

1.5 BN

2550

Ground (3 Door)

0.5 WH/BK

5220

Right Backup Lamp Supply Voltage (5 Door)

Throttle Body


Object Number: 1523692  Size: CH

Connector Part Information

  • OEM: FEP 42121700
  • Service: Service by Harness - See Part Catalog
  • Description: 6-Way F Sealed (BK)

Terminal Part Information

  • Terminal/Tray: Service by Harness - See Part Catalog
  • Release Tool/Test Probe: N/A

Throttle Actuator Control (TAC) Module

Pin

Wire Color

Circuit No.

Function

1

0.5 BU

485

Throttle Position Sensor Signal 1

2

0.5 BK/WH

2701

5 Volt Reference 2

3

1 BK/WH

581

Throttle Actuator Control Open

4

0.5 BU

486

Throttle Position Sensor Signal 2

5

1 BN/WH

582

Throttle Actuator Control Close

6

0.5 BN/WH

2752

Low Reference

Tire Pressure Module


Object Number: 2039662  Size: CH

Connector Part Information

  • OEM: 968473-1
  • Service: 93187175
  • Description: 12-Way F 64 MQS Series (BK)

Terminal Part Information

  • Terminal/Tray: Service by Harness - See Part Catalog
  • Release Tool/Test Probe: N/A

Tire Pressure Module

Pin

Wire Color

Circuit No.

Function

1

0.5 GN

5060

Low Speed GMLAN Serial Data

2

--

--

Not Used

3

0.5 BK

239

Run/Crank Ignition 1 Voltage

4

0.5 BN

1650

Ground

5-12

--

--

Not Used

Torque Converter Clutch (TCC) Solenoid Valve (MNF)

Connector Part Information

  • OEM: See Catalog
  • Service: Service by Harness - See Part Catalog
  • Description: 2-Way F (BK)

Terminal Part Information

  • Terminal/Tray: Service by Harness - See Part Catalog
  • Release Tool/Test Probe: N/A

Torque Converter Clutch (TCC) Solenoid Valve (MNF)

Pin

Wire Color

Circuit No.

Function

A

TN

2879

Low Reference

B

YE

1994

TCC PWM Solenoid Valve Control

Transmission Control Module (TCM) (MNF)


Object Number: 2039620  Size: CH

Connector Part Information

  • OEM: 1241727-1
  • Service: Service by Harness - See Part Catalog
  • Description: 42-Way F MQS Series, Sealed (BK)

Terminal Part Information

  • Terminal/Tray: Service by Harness - See Part Catalog
  • Release Tool/Test Probe: N/A

Transmission Control Module (TCM) (MNF)

Pin

Wire Color

Circuit No.

Function

1

0.5 YE/RD

1230

Transmission Speed Sensor Signal

2

0.5 YE/BN

401

Low Reference

3

0.5 GN

772

Transmission Position Switch Bit 2 Signal

4

0.5 WH

771

Transmission Position Switch Bit 1 Signal

5

0.5 GN

1078

Ignition Key/Shifter Interlock Solenoid Lock Signal

6-9

--

--

Not Used

10

0.5 GN

2500

High Speed GMLAN Serial Data (+)

11

0.5 GN

2500

High Speed GMLAN Serial Data (+)

12-13

--

--

Not Used

14

0.5 BU/WH

5503

Low Reference

15

0.5 BN/GN

2879

Low Reference

16

0.5 WH/GN

1530

Transmission Mainline Pressure Solenoid Control

17

0.5 WH/BK

1994

TCC PWM Solenoid Valve Control

18

0.5 BK/WH

1527

Shift Solenoid Supply Voltage 3

19

0.5 BK/VT

1526

Shift Solenoid Supply Voltage 2

20

0.5 BK/GN

1525

Shift Solenoid Supply Voltage 1

21

0.75 BK

539

Run/Crank Ignition 1 Voltage

22

0.5 YE/BK

1231

Low Reference

23

0.5 YE/VT

400

Vehicle Speed Sensor Signal

24

0.5 WH/YE

1371

Transmission Position Switch Bit 4 Signal

25

0.5 GY

773

Transmission Position Switch Bit 3 Signal

26-30

--

--

Not Used

31

0.5 WH

2501

High Speed GMLAN Serial Data (-)

32

0.5 WH

2501

High Speed GMLAN Serial Data (-)

33-34

--

--

Not Used

35

0.5 BU/YE

488

Winter Mode Switch Signal

36

--

--

Not Used

37

0.5 BK/BU

585

Transmission Oil Temperature Sensor Signal

38

0.5 BN/BK

586

Low Reference

39

0.5 BN

2150

Ground

40

0.5 BN

2150

Ground

41

0.75 RD

3740

Battery Positive Voltage

42

0.75 BK

539

Run/Crank Ignition 1 Voltage

Vehicle Communication Interface Module (VCIM) Battery


Object Number: 82383  Size: CH

Connector Part Information

  • OEM: ID401561
  • Service: 93182537
  • Description: 2-Way F (BK)

Terminal Part Information

  • Terminal/Tray: Service by Connector Assembly - 93182537
  • Release Tool/Test Probe: N/A

Vehicle Communication Interface Module (VCIM) Battery

Pin

Wire Color

Circuit No.

Function

A

0.5 RD/WH

5235

Battery Backup Supply Voltage

B

0.5 GY/BK

5167

Low Reference

Vehicle Communications Interface Module (VCIM) - Left - X1


Object Number: 814530  Size: CH

Connector Part Information

  • OEM: 917981-1
  • Service: 15306351
  • Description: 16-Way F (WH)

Terminal Part Information

  • Terminal/Tray: Service by Harness - See Part Catalog
  • Release Tool/Test Probe: N/A

Vehicle Communications Interface Module (VCIM) - Left - X1

Pin

Wire Color

Circuit No.

Function

1

--

--

Not Used

2

0.5 BN/WH

2517

Keypad Red LED

3

0.5 YE/BK

2516

Keypad Green LED

4-5

--

--

Not Used

6

0.5 OG/BK

2518

10-Volt Reference

7

--

--

Not Used

8

0.75 BN

1750

Ground

9-10

--

--

Not Used

11

0.5 GN/WH

2514

Keypad Signal

12

--

--

Not Used

13

0.5 GY/BK

5167

Low Reference

14

0.5 RD/WH

5235

Battery Backup Supply Voltage

15

0.75 RD

3140

Battery Positive Voltage

16

--

--

Not Used

Vehicle Communications Interface Module (VCIM) - Left - X2


Object Number: 814532  Size: CH

Connector Part Information

  • OEM: 917975-1
  • Service: 88952886
  • Description: 12-Way F (WH)

Terminal Part Information

  • Terminal/Tray: Service by Harness - See Part Catalog
  • Release Tool/Test Probe: N/A

Vehicle Communications Interface Module (VCIM) - Left - X2

Pin

Wire Color

Circuit No.

Function

1

0.5 YE

658

Cellular Telephone Voice Signal

2

0.5 YE/BN

659

Low Reference

3-4

--

--

Not Used

5

0.5 BN/VT

1132

DLC Class 2 Serial Data

6

0.5 YE

710

Class 2 Serial Data Secondary

7

--

--

Not Used

8

0.5 BK

5842

Auxiliary Audio Screen 2

9

0.35 BU/RD

5191

Cellular Telephone Microphone Signal

10

0.35 BK

5193

Low Reference

11

--

--

Not Used

12

0.5 BK

693

Cellular Telephone Mute Signal

Vehicle Communications Interface Module (VCIM) - Left - X4


Object Number: 1592605  Size: CH

Connector Part Information

  • OEM: 638695-2
  • Service: 88988545
  • Description: 12-Way F (BK)

Terminal Part Information

  • Terminal/Tray: Service by Harness - See Part Catalog
  • Release Tool/Test Probe: N/A

Vehicle Communications Interface Module (VCIM) - Left - X4

Pin

Wire Color

Circuit No.

Function

1

--

--

Not Used

2

0.5 GN

2500

High Speed GMLAN Serial Data (+)

3

0.5 WH

2501

High Speed GMLAN Serial Data (-)

4-7

--

--

Not Used

8

0.5 GN

2500

High Speed GMLAN Serial Data (+)

9

0.5 WH

2501

High Speed GMLAN Serial Data (-)

10-12

--

--

Not Used

Vehicle Communications Interface Module (VCIM) - Left - X5


Object Number: 2071675  Size: CH

Connector Part Information

  • OEM: T00100B1300
  • Service: Service by Harness - See Part Catalog
  • Description: 2-Way M (Metal)

Terminal Part Information

  • Terminal/Tray: Service by Harness - See Part Catalog
  • Release Tool/Test Probe: N/A

Vehicle Communications Interface Module (VCIM) - Left - X5

Pin

Wire Color

Circuit No.

Function

1

0.35 BK

6797

GSM Antenna Screen

2

0.35 BK

6794

GSM Antenna Signal

Vehicle Communications Interface Module (VCIM) - Left - X6


Object Number: 2071672  Size: CH

Connector Part Information

  • OEM: 59K28A-102A4-Y
  • Service: Service by Harness - See Part Catalog
  • Description: 2-Way M (BU)

Terminal Part Information

  • Terminal/Tray: Service by Harness - See Part Catalog
  • Release Tool/Test Probe: N/A

Vehicle Communications Interface Module (VCIM) - Left - X6

Pin

Wire Color

Circuit No.

Function

1

0.35 BK

5175

Antenna Navigation Screen

2

0.35 BK

5174

Antenna Navigation Signal

Vehicle Communications Interface Module (VCIM) - Right


Object Number: 814530  Size: CH

Connector Part Information

  • OEM: 175966-2
  • Service: 88975902
  • Description: 16-Way F (BK)

Terminal Part Information

  • Terminal/Tray: Service by Harness - See Part Catalog
  • Release Tool/Test Probe: N/A

Vehicle Communications Interface Module (VCIM) - Right

Pin

Wire Color

Circuit No.

Function

1

0.5 YE

710

Class 2 Serial Data Secondary

2

--

--

Not Used

3

0.5 WH

194

Door Unlock Control

4

0.5 BN/WH

28

Horn Relay Control

5-8

--

--

Not Used

9

0.5 BU/BN

1903

ABS Wheel Speed Sensor Signal Left Front

10

0.5 OG/GY

5246

SIR Deployed Signal

11

--

--

Not Used

12

0.5 BN/GN

1884

Ignition Voltage

13

0.5 BK

3

Run/Crank Ignition 1 Voltage

14

0.5 RD

3140

Battery Positive Voltage

15

0.5 BN

1750

Ground

16

--

--

Not Used

Wheel Speed Sensor (WSS) - Left Front


Object Number: 2039650  Size: CH

Connector Part Information

  • OEM: 2880 4147 0773
  • Service: Service by Harness - See Part Catalog
  • Description: 2-Way F Sealed (BK)

Terminal Part Information

  • Terminal/Tray: Service by Harness - See Part Catalog
  • Release Tool/Test Probe: N/A

Wheel Speed Sensor (WSS) - Left Front

Pin

Wire Color

Circuit No.

Function

1

0.5 BU/WH

830

Wheel Speed Sensor Signal Left Front

2

0.5 BN/WH

873

Low Reference

Wheel Speed Sensor (WSS) - Left Rear


Object Number: 1855214  Size: CH

Connector Part Information

  • OEM: 15397337
  • Service: Service by Harness - See Part Catalog
  • Description: 2-Way F Power Timer Series, Sealed (BK)

Terminal Part Information

  • Terminal/Tray: Service by Harness - See Part Catalog
  • Release Tool/Test Probe: N/A

Wheel Speed Sensor (WSS) - Left Rear

Pin

Wire Color

Circuit No.

Function

1

0.5 BU

884

Wheel Speed Sensor Signal Left Rear

2

0.5 BN/BU

885

Low Reference

Wheel Speed Sensor (WSS) - Right Front


Object Number: 2039650  Size: CH

Connector Part Information

  • OEM: 2880 4147 0773
  • Service: Service by Harness - See Part Catalog
  • Description: 2-Way F Sealed (BK)

Terminal Part Information

  • Terminal/Tray: Service by Harness - See Part Catalog
  • Release Tool/Test Probe: N/A

Wheel Speed Sensor (WSS) - Right Front

Pin

Wire Color

Circuit No.

Function

1

0.5 BU/RD

872

Wheel Speed Sensor Signal Right Front

2

0.5 BN/RD

833

Low Reference

Wheel Speed Sensor (WSS) - Right Rear


Object Number: 1855214  Size: CH

Connector Part Information

  • OEM: 15397337
  • Service: Service by Harness - See Part Catalog
  • Description: 2-Way F Power Timer Series, Sealed (BK)

Terminal Part Information

  • Terminal/Tray: Service by Harness - See Part Catalog
  • Release Tool/Test Probe: N/A

Wheel Speed Sensor (WSS) - Right Rear

Pin

Wire Color

Circuit No.

Function

1

0.5 BU/RD

882

Wheel Speed Sensor Signal Right Rear

2

0.5 BN/RD

883

Low Reference

Window Motor - Driver


Object Number: 2039653  Size: CH

Connector Part Information

  • OEM: ID404743
  • Service: Service by Harness - See Part Catalog
  • Description: 6-Way F Sealed (BK)

Terminal Part Information

  • Terminal/Tray: Service by Harness - See Part Catalog
  • Release Tool/Test Probe: N/A

Window Motor - Driver

Pin

Wire Color

Circuit No.

Function

1

2.5 RD

2040

Battery Positive Voltage

2

0.5 WH/GN

1300

Power Window Master Switch Left Front Up Signal

3

0.5 GY

1136

Power Window Master Switch Left Front Down Signal

4

2.5 BN

1550

Ground

5

--

--

Not Used

6

0.5 BN/BK

5200

Power Window Comfort Close Signal

Window Motor - Left Rear (5 Door)


Object Number: 2039653  Size: CH

Connector Part Information

  • OEM: ID404743
  • Service: Service by Harness - See Part Catalog
  • Description: 6-Way F Sealed (BK)

Terminal Part Information

  • Terminal/Tray: Service by Harness - See Part Catalog
  • Release Tool/Test Probe: N/A

Window Motor - Left Rear (5 Door)

Pin

Wire Color

Circuit No.

Function

1

2.5 RD

2240

Battery Positive Voltage

2

0.5 VT/GN

168

Power Window Master Switch Left Rear Up Signal

3

0.5 VT/BN

169

Power Window Master Switch Left Rear Down Signal

4

2.5 BN

2350

Ground

5

--

--

Not Used

6

0.5 BN/BK

5200

Power Window Comfort Close Signal

Window Motor - Passenger


Object Number: 2039653  Size: CH

Connector Part Information

  • OEM: ID404743
  • Service: Service by Harness - See Part Catalog
  • Description: 6-Way F Sealed (BK)

Terminal Part Information

  • Terminal/Tray: Service by Harness - See Part Catalog
  • Release Tool/Test Probe: N/A

Window Motor - Passenger

Pin

Wire Color

Circuit No.

Function

1

2.5 RD

2140

Battery Positive Voltage

2

0.5 YE/GN

166

Power Window Master Switch Right Front Up Signal

3

0.5 YE/BN

167

Power Window Master Switch Right Front Down Signal

4

2.5 BN

1550

Ground

5

--

--

Not Used

6

0.5 BN/BK

5200

Power Window Comfort Close Signal

Window Motor - Right Rear (5 Door)


Object Number: 2039653  Size: CH

Connector Part Information

  • OEM: ID404743
  • Service: Service by Harness - See Part Catalog
  • Description: 6-Way F Sealed (BK)

Terminal Part Information

  • Terminal/Tray: Service by Harness - See Part Catalog
  • Release Tool/Test Probe: N/A

Window Motor - Right Rear (5 Door)

Pin

Wire Color

Circuit No.

Function

1

2.5 RD

2240

Battery Positive Voltage

2

0.5 VT/GN

168

Power Window Master Switch Right Rear Up Signal

3

0.5 VT/BN

169

Power Window Master Switch Right Rear Down Signal

4

2.5 BN

2350

Ground

5

--

--

Not Used

6

0.5 BN/BK

5200

Power Window Comfort Close Signal

Window Switch - Driver


Object Number: 814534  Size: CH

Connector Part Information

  • OEM: 968265-1
  • Service: Service by Harness - See Part Catalog
  • Description: 32-Way F 0.64 Quadlock Series (BK)

Terminal Part Information

  • Terminal/Tray: Service by Harness - See Part Catalog
  • Release Tool/Test Probe: N/A

Window Switch - Driver

Pin

Wire Color

Circuit No.

Function

1-7

--

--

Not Used

8

0.5 BU/BN

171

Power Window Master Switch Right Rear Down Signal (5 Door)

9

0.5 BU/GN

170

Power Window Master Switch Right Rear Up Signal (5 Door)

10

0.5 WH/BU

1307

Power Window Master Switch Lockout Signal (5 Door)

11

0.5 YE/BN

167

Power Window Master Switch Right Front Down Signal

12

0.5 YE/GN

166

Power Window Master Switch Right Front Up Signal

13

--

--

Not Used

14

0.5 BU/BK

6162

Outside Right Mirror Vertical Position Control

15

0.5 GN/BK

6161

Outside Right Mirror Horizontal Position Control

16-23

--

--

Not Used

24

0.5 VT/BN

169

Power Window Master Switch Left Rear Down Signal (5 Door)

25

0.5 VT/GN

168

Power Window Master Switch Left Rear Up Signal (5 Door)

26

0.5 BK

4

Accessory Voltage

27

0.5 GY

1136

Power Window Master Switch Left Front Down Signal

28

0.5 WH/GN

1300

Power Window Master Switch Left Front Up Signal

29

0.5 BN

6163

Outside Mirror Position Motor Drain Wire

30

0.5 BU/WH

6160

Outside Left Mirror Vertical Position Control

31

0.5 GN/WH

6159

Outside Left Mirror Horizontal Position Control

32

0.75 BN

1550

Ground

Window Switch - Left Rear (5 Door)


Object Number: 1697500  Size: CH

Connector Part Information

  • OEM: 1-0968291-2
  • Service: Service by Harness - See Part Catalog
  • Description: 6-Way F Micro Quadlok Series (BK)

Terminal Part Information

  • Terminal/Tray: Service by Harness - See Part Catalog
  • Release Tool/Test Probe: N/A

Window Switch - Left Rear (5 Door)

Pin

Wire Color

Circuit No.

Function

1

0.5 WH/BU

1307

Power Window Master Switch Lockout Signal

2

0.5 VT/BN

169

Power Window Master Switch Left Rear Down Signal

3

0.5 VT/BN

169

Power Window Master Switch Left Rear Down Signal

4

0.5 BN

2350

Ground

5

0.5 VT/GN

168

Power Window Master Switch Left Rear Up Signal

6

0.5 VT/GN

168

Power Window Master Switch Left Rear Up Signal

Window Switch - Passenger


Object Number: 1697500  Size: CH

Connector Part Information

  • OEM: 1-0968291-2
  • Service: Service by Harness - See Part Catalog
  • Description: 6-Way F Micro Quadlok Series (BK)

Terminal Part Information

  • Terminal/Tray: Service by Harness - See Part Catalog
  • Release Tool/Test Probe: N/A

Window Switch - Passenger

Pin

Wire Color

Circuit No.

Function

1

0.5 BK

4

Accessory Voltage

2

0.5 YE/BN

167

Power Window Master Switch Right Front Down Signal

3

0.5 YE/BN

167

Power Window Master Switch Right Front Down Signal

4

0.5 BN

2050

Ground

5

0.5 YE/GN

166

Power Window Master Switch Right Front Up Signal

6

0.5 YE/GN

166

Power Window Master Switch Right Front Up Signal

Window Switch - Right Rear (5 Door)


Object Number: 1697500  Size: CH

Connector Part Information

  • OEM: 1-0968291-2
  • Service: Service by Harness - See Part Catalog
  • Description: 6-Way F Micro Quadlok Series (BK)

Terminal Part Information

  • Terminal/Tray: Service by Harness - See Part Catalog
  • Release Tool/Test Probe: N/A

Window Switch - Right Rear (5 Door)

Pin

Wire Color

Circuit No.

Function

1

0.5 WH/BU

1307

Power Window Master Switch Lockout Signal

2

0.5 VT/BN

169

Power Window Master Switch Right Rear Down Signal

3

0.5 VT/BN

169

Power Window Master Switch Right Rear Down Signal

4

0.5 BN

2350

Ground

5

0.5 VT/GN

168

Power Window Master Switch Right Rear Up Signal

6

0.5 VT/GN

168

Power Window Master Switch Right Rear Up Signal

Windshield Outside Moisture Sensor


Object Number: 647970  Size: CH

Connector Part Information

  • OEM: 968705-1
  • Service: 88953152
  • Description: 3-Way F MQS Series (BK)

Terminal Part Information

  • Terminal/Tray: Service by Connector Assembly - 88953152
  • Release Tool/Test Probe: N/A

Windshield Outside Moisture Sensor

Pin

Wire Color

Circuit No.

Function

1

0.5 BK

139

Run/Crank Ignition 1 Voltage

2

0.5 BK

1550

Ground

3

0.5 GN

481

Rain Sense Signal 1

Windshield Washer Fluid Level Switch


Object Number: 1898384  Size: CH

Connector Part Information

  • OEM: 1452680-1
  • Service: 93186680
  • Description: 2-Way F 1.2 Timer Series, Sealed (BK)

Terminal Part Information

  • Terminal/Tray: Service by Connector Assembly - 93186680
  • Release Tool/Test Probe: N/A

Windshield Washer Fluid Level Switch

Pin

Wire Color

Circuit No.

Function

1

0.5 BN

1150

Ground

2

0.5 GN/WH

99

Windshield Washer Fluid Level Sensor Signal

Windshield Washer Fluid Pump


Object Number: 2039634  Size: CH

Connector Part Information

  • OEM: ID401589
  • Service: 93186714
  • Description: 2-Way F Mini Timer Series, Sealed (BK)

Terminal Part Information

  • Terminal/Tray: Service by Connector Assembly - 93186714
  • Release Tool/Test Probe: N/A

Windshield Washer Fluid Pump

Pin

Wire Color

Circuit No.

Function

1

1 BK/RD

228

Windshield Washer Pump Control

2

1 BK/VT

392

Rear Window Washer Pump Control

Windshield Wiper Motor


Object Number: 2039628  Size: CH

Connector Part Information

  • OEM: 42122100
  • Service: 93191103
  • Description: 4-Way F 2. 8 Junior Power Timer Series, Sealed (BK)

Terminal Part Information

  • Terminal/Tray: Service by Connector Assembly - 93191103
  • Release Tool/Test Probe: N/A

Windshield Wiper Motor

Pin

Wire Color

Circuit No.

Function

1

2.5 WH

92

Windshield Wiper Motor High Speed Control

2

2.5 YE

95

Windshield Wiper Motor Low Speed Control

3

0.5 BN/GN

196

Windshield Wiper Motor Park Switch Signal

4

2.5 BN

1350

Ground

Winter Mode Switch (MNF)


Object Number: 565919  Size: CH

Connector Part Information

  • OEM: ID608416
  • Service: Service by Harness - See Part Catalog
  • Description: 4-Way M (BK)

Terminal Part Information

  • Terminal/Tray: Service by Harness - See Part Catalog
  • Release Tool/Test Probe: N/A

Winter Mode Switch (MNF)

Pin

Wire Color

Circuit No.

Function

A

0.5 BU/YE

488

Winter Mode Switch Signal

B

0.5 BN

2150

Ground

C

--

--

Not Used

D

0.75 BK

539

Run/Crank Ignition 1 Voltage

Yaw and Lateral Accelerometer Sensor (FX3)


Object Number: 831393  Size: CH

Connector Part Information

  • OEM: 2-967616-1
  • Service: 88953345
  • Description: 6-Way F MQS Socket Housing, Sealed (GY with BK Housing)

Terminal Part Information

  • Terminal/Tray: Service by Connector Assembly - 88953345
  • Release Tool/Test Probe: N/A

Yaw and Lateral Accelerometer Sensor (FX3)

Pin

Wire Color

Circuit No.

Function

1

0.5 WH

2501

High Speed GMLAN Serial Data (-)

2

0.5 GN

2500

High Speed GMLAN Serial Data (+)

3

0.5 GN/BK

1338

Yaw Rate Sensor Signal 2

4

--

--

Not Used

5

0.5 GY/BK

1337

Yaw Rate Sensor Volt Reference

6

--

--

Not Used