GM Service Manual Online
For 1990-2009 cars only

Rear Window Washer Nozzle Replacement Sedan

Removal Procedure

  1. Remove the liftgate upper trim panel.

  2. Object Number: 1936847  Size: LH
  3. Remove the high mounted stop lamp.
  4. Release the 6 clips (1).

  5. Remove the high mounted stop lamp.
  6. • Disconnect the wiring harness plug (2) and remove.
    • Remove the hose (3) from the washer/wiper system.

    Object Number: 1938383  Size: SH
  7. Remove the washer nozzle (1).

Installation Procedure

  1. Install the washer nozzle.
  2. Install the high mounted stop lamp.
  3. • Connect the hose for the washer/wiper system.
    • Connect the wiring harness plug.
    • Install the 6 clips.
  4. Install the liftgate upper trim panel.

Rear Window Washer Nozzle Replacement Coupe

Removal Procedure

  1. Remove the liftgate garnish molding. Refer to Liftgate Garnish Molding Replacement .

  2. Object Number: 1942011  Size: LH
  3. Release the high mounted stop lamp.
  4. Release 3 guides (1).

  5. Close the liftgate.

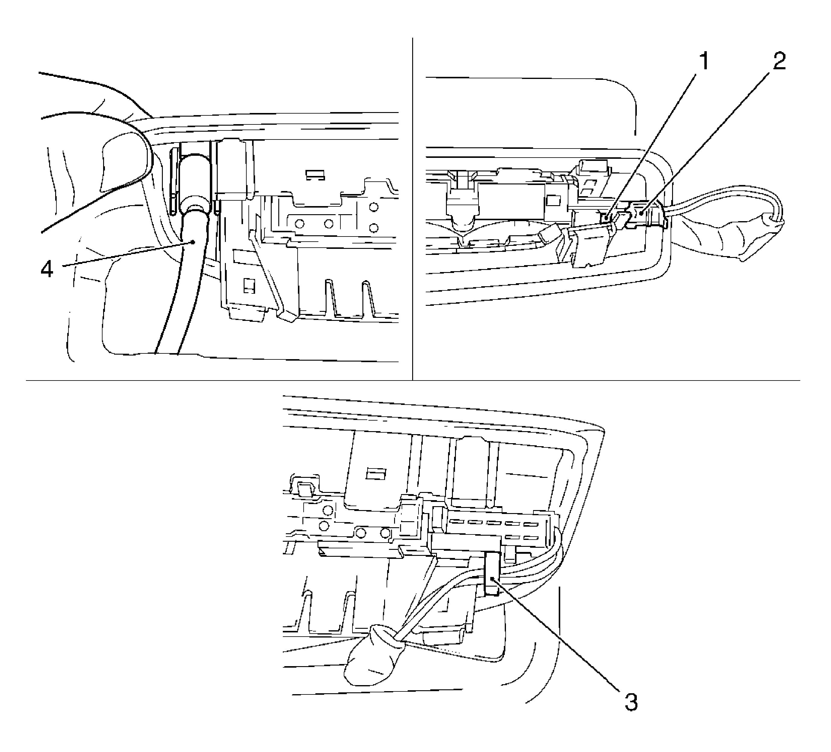
  6. Object Number: 1942014  Size: LF
  7. Remove the high mounted stop lamp.
  8. • Remove the hose from the washer/wiper system (4).
    • Disconnect the wiring harness (3).
    • Release the wiring harness plug (1, 2) and disconnect.

    Object Number: 1942017  Size: SH
  9. Remove the nozzle.
  10. • Disconnect the 2 retaining lugs (1).
    • Remove the spray nozzle.

Installation Procedure

    Important: Ensure correct installation position. Right-Left.

  1. Install the nozzle.
  2. Insert the high mounted stop lamp.
  3. • Connect and lock the wiring harness plug.
    • Connect the wiring harness.
    • Connect the hose for the washer/wiper system.

    Notice: Refer to Fastener Notice in the Preface section.

    Important: Be careful of the wiring harness plug when installing the brake light. Start from the right hand side.

    Important: The high mounted stop lamp must engage audibly

  4. Tighten the high mounted stop lamp.
  5. Install the liftgate garnish molding, left and right. Refer to Liftgate Garnish Molding Replacement .