GM Service Manual Online
For 1990-2009 cars only

Object Number: 2002512  Size: SH

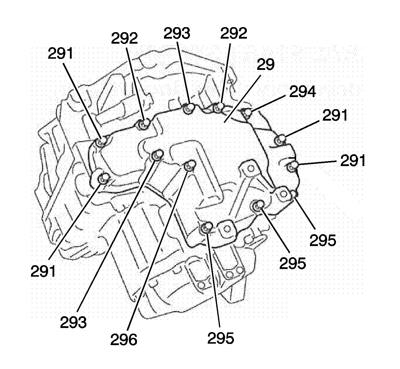
Note: Be careful not to damage the control valve body cover and transmission case.

Remove the 13 bolts and the control valve body cover (29).