GM Service Manual Online
For 1990-2009 cars only

    Object Number: 2002515  Size: SH
  1. Remove the fluid temperature sensor (32).
  2. Disconnect the 5 solenoid wire connectors.

  3. Object Number: 2002516  Size: SH
  4. Remove the wiring harness assembly (78) from clamps.

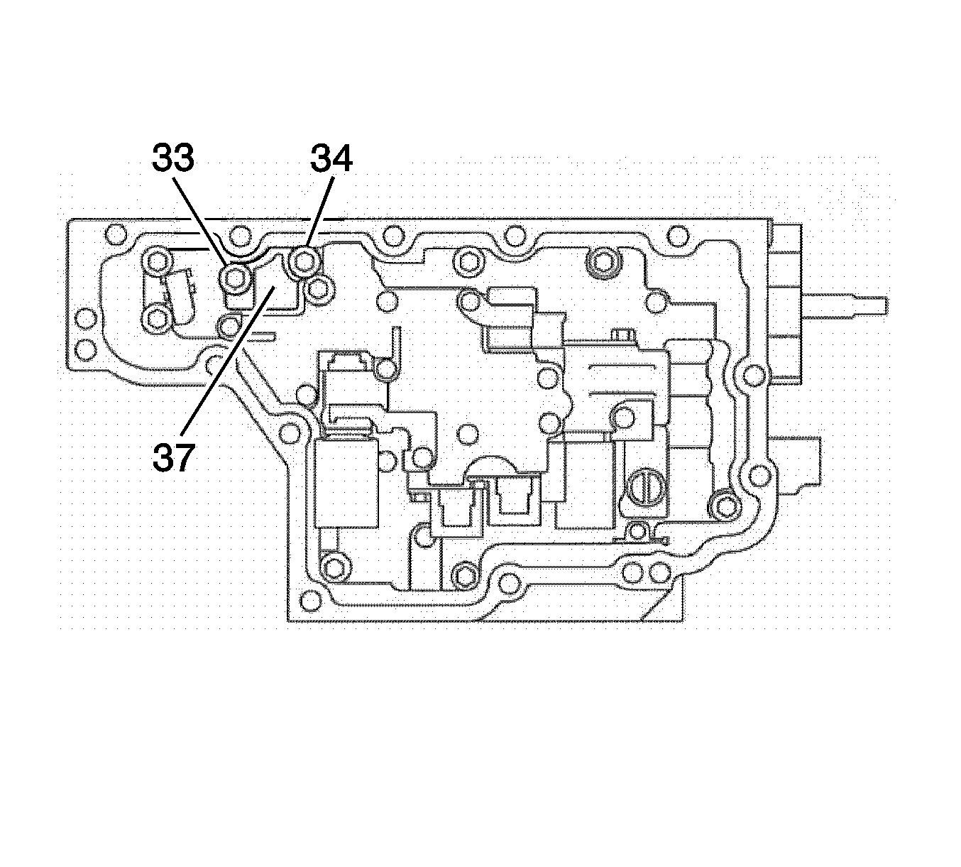
  5. Object Number: 2002518  Size: SH
  6. Remove the 2 bolts (33 and 34), the fluid passage cover and fluid passage cover gasket.

  7. Object Number: 2002521  Size: SH
  8. Remove the 8 bolts (281-284).

  9. Object Number: 2002523  Size: SH
  10. While holding the valve body assembly (39), disconnect the manual valve connecting rod (336) from the manual valve lever (710) and remove the valve body assembly.

  11. Object Number: 2002524  Size: SH
  12. Remove the 2 transmission case fluid passage seals (84) and discard.