GM Service Manual Online
For 1990-2009 cars only

    Object Number: 2002570  Size: SH
  1. Remove the 10 transmission case cover bolts (20).
  2. Note: Be careful not to damage the transmission case and the case cover.

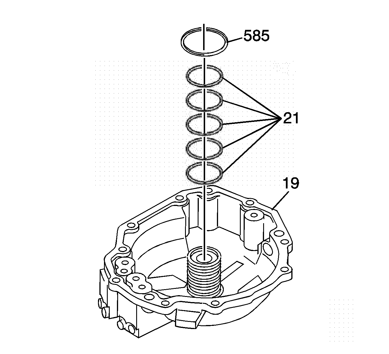
  3. Remove the transmission case cover (19) with a plastic hammer and screwdriver.

  4. Object Number: 2002571  Size: SH
  5. Remove the forward clutch housing thrust bearing assembly (585).
  6. Remove the transmission case cover fluid seal ring (21) from the transmission case cover (19).

  7. Object Number: 2002574  Size: SH
  8. Remove the 5 case fluid passage seals (86 and 87).