GM Service Manual Online
For 1990-2009 cars only

    Object Number: 2002576  Size: SH
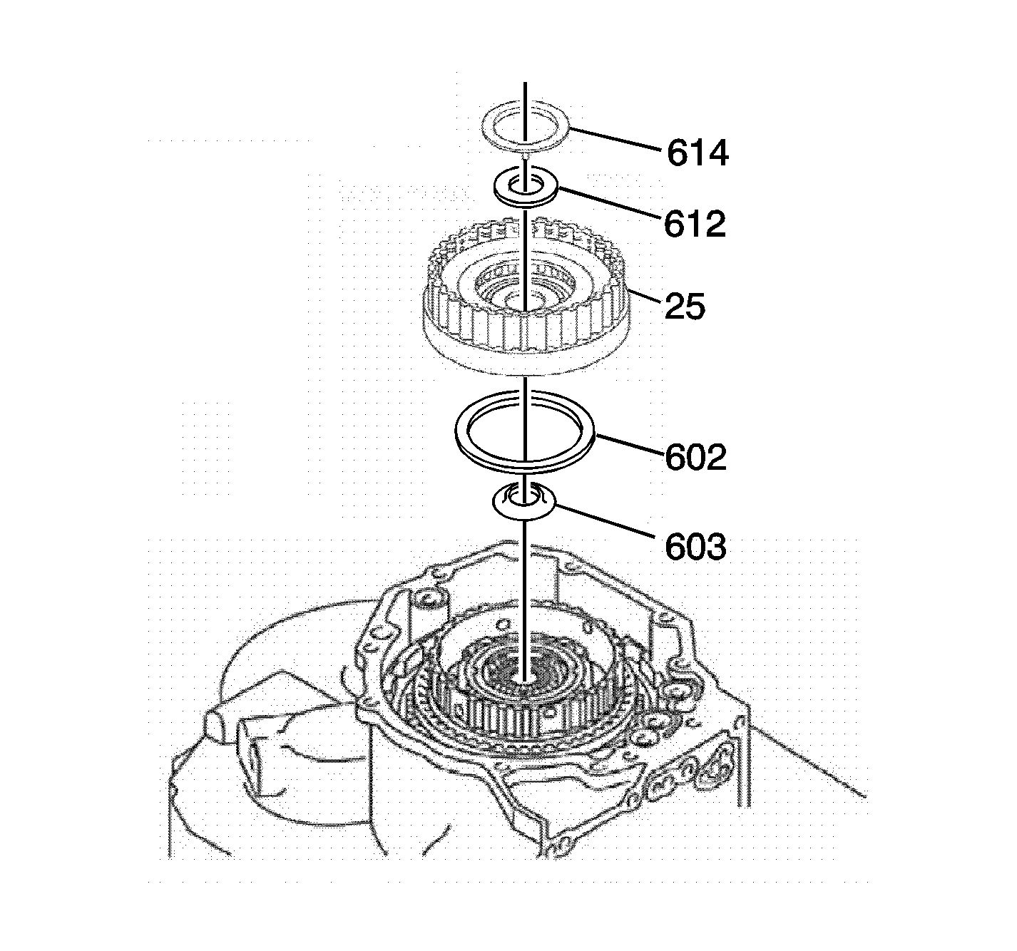
  1. Install the sun gear thrust bearing race (603) and rear planetary ring gear thrust bearing (602) with grease on the front side of the rear ring gear assembly (25).
  2. Install the rear ring gear rear thrust bearing race (612) with grease on the rear side.
  3. Install the rear planetary ring gear flange thrust washer (614) with grease.
  4. Install the rear ring gear assembly (25).