GM Service Manual Online
For 1990-2009 cars only

    Object Number: 2002841  Size: SH
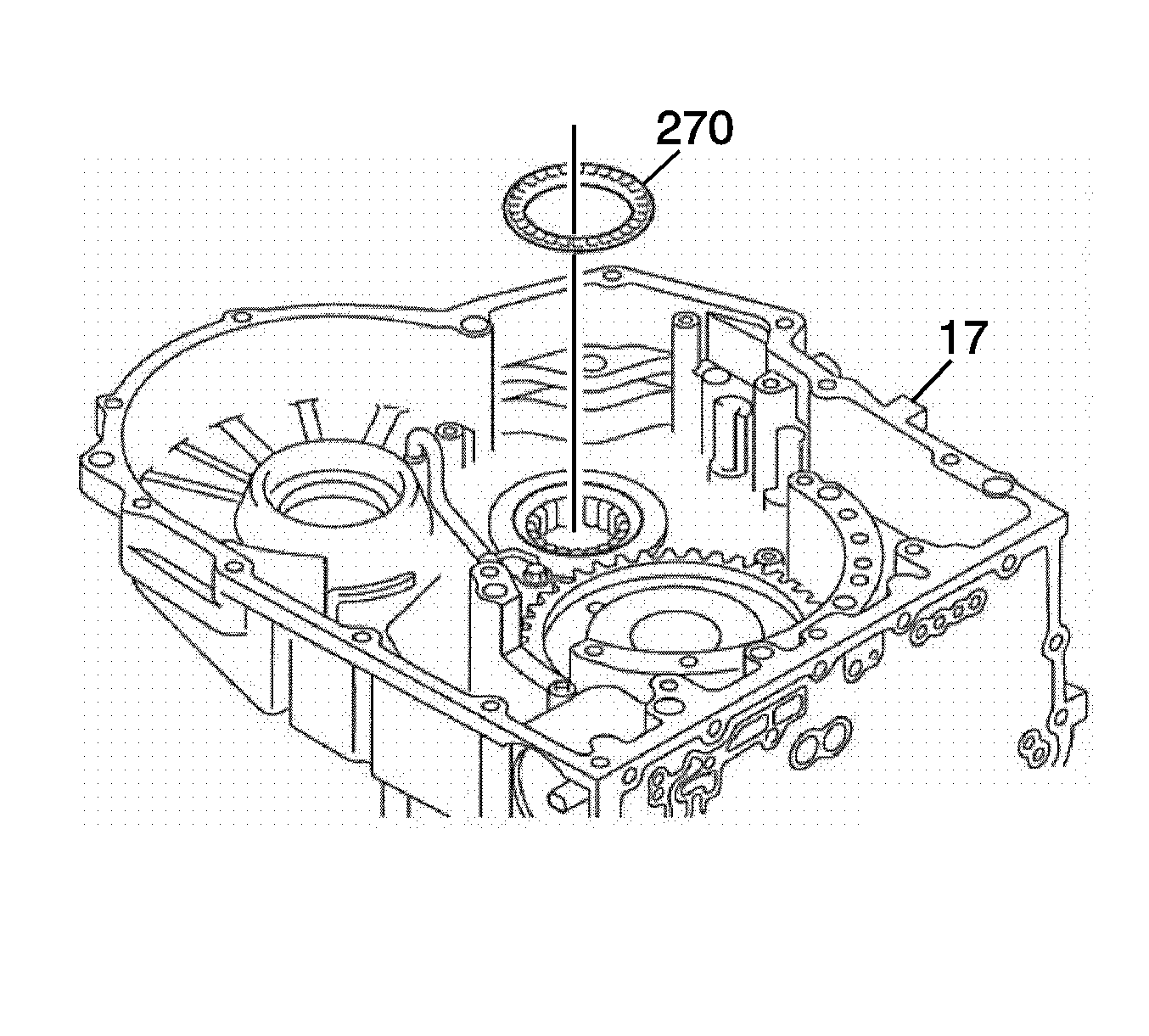
  1. Install the front differential transfer drive gear rear thrust bearing assembly (270) to the transmission case assembly (17).

  2. Object Number: 2002842  Size: SH
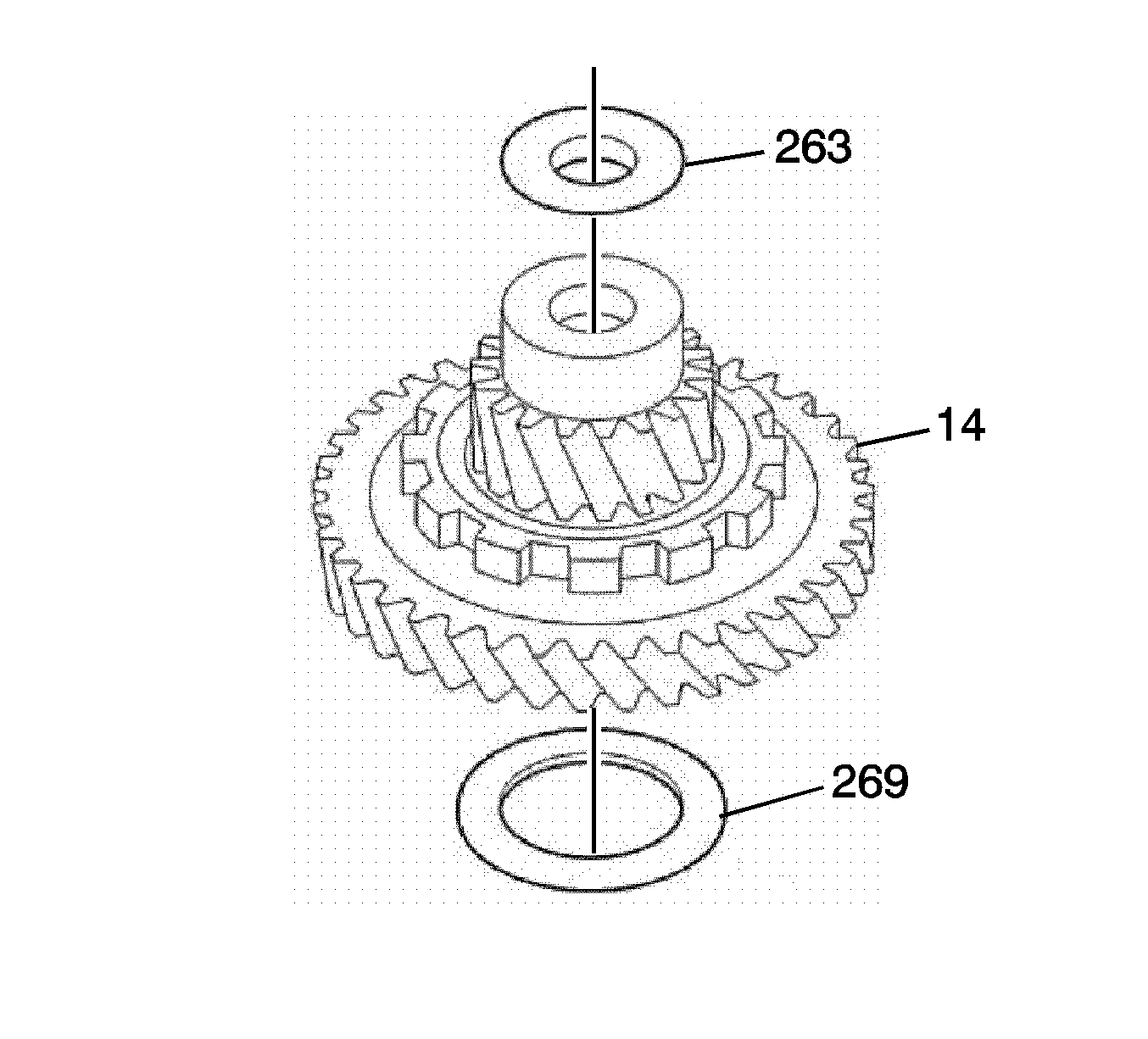
  3. Install the front differential transfer drive gear front and rear thrust bearing races (263, 269) with grease on the front and rear side of the front differential transfer drive gear assembly (14).

  4. Object Number: 2002843  Size: SH
  5. Install the front differentail transfer drive gear assembly (14).