GM Service Manual Online
For 1990-2009 cars only

    Object Number: 2002845  Size: SH
  1. Drive in a NEW manual shift shaft seal assembly (713) with ATF until it is level with the transmission case assembly (17).
  2. Coat the oil seal lip with ATF.

  3. Object Number: 2002847  Size: SH
  4. Assemble the NEW manual shift shaft spacer (714) to the manual shift shaft detent assembly (710).
  5. Important: Always replace the spacer with a NEW one.

  6. Install the manual shift shaft (716) through the case into the manual shift shaft detent assembly (710).

  7. Object Number: 2002849  Size: SH

    Important: Always replace the locking pin with a NEW one. Never reuse a locking pin after it has been removed.

  8. Drive in a NEW manual shift shaft locking pin (719) with the slot at a right angle to the manual shift shaft.
  9. Align the manual shift shaft spacer (714) hole to the lever recess and stake the spacer to the manual shift shaft detent assembly (710).

  10. Object Number: 2002550  Size: SH
  11. Install the park pawl actuator rod (709) to the manual shift shaft detent assembly (710).

  12. Object Number: 2002549  Size: SH
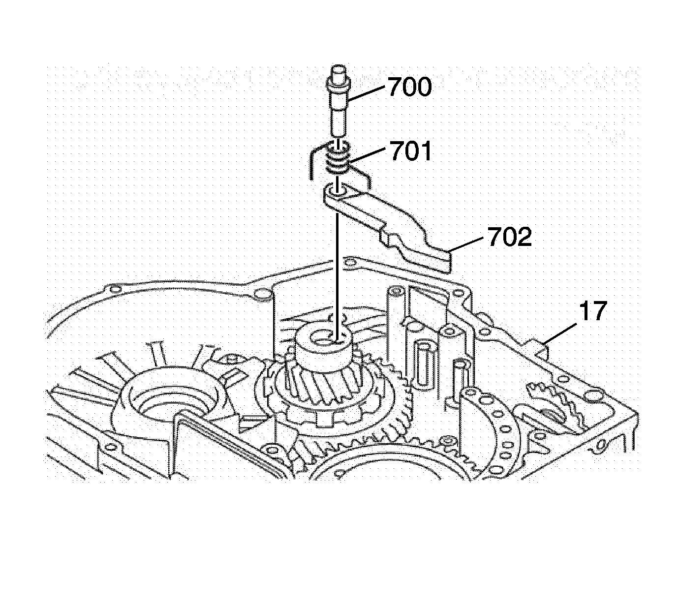
  13. Install the park pawl locking pin (703) and park pawl stop pin (717).

  14. Object Number: 2002543  Size: SH
  15. Install the park pawl (702).
  16. Put the park pawl return spring (701) on the park pawl shaft (700) and install them into the transmission case assembly (17).

  17. Object Number: 2002542  Size: SH
  18. Install the park pawl lock guide (708), park pawl pin spring guide sleeve (705), and the park pawl return spring (704).
  19. Notice: Refer to Fastener Notice in the Preface section.

  20. Install the 2 manual shift shaft detent lever bolts (715, 718).
  21. Tighten
    Tighten bolts to 10 N·m (89 lb in).


    Object Number: 2002541  Size: SH
  22. Install the manual shift shaft detent lever spring (711).
  23. Install the 2 manual shaft detent spring bolts (712).
  24. Tighten
    Tighten bolts to 10 N·m (89 lb in).