GM Service Manual Online
For 1990-2009 cars only

    Object Number: 2002595  Size: SH
  1. Remove the 2 fluid pump cover O-ring seals (193).

  2. Object Number: 2002596  Size: SH

    Note: Be careful not to drop the fluid pump body.

  3. Loosen the 8 fluid pump cover bolts (192) and remove the fluid pump cover and stator shaft assembly (191).

  4. Object Number: 2002597  Size: SH

    Note: If the drive gear and driven gear have any damage, replace them.

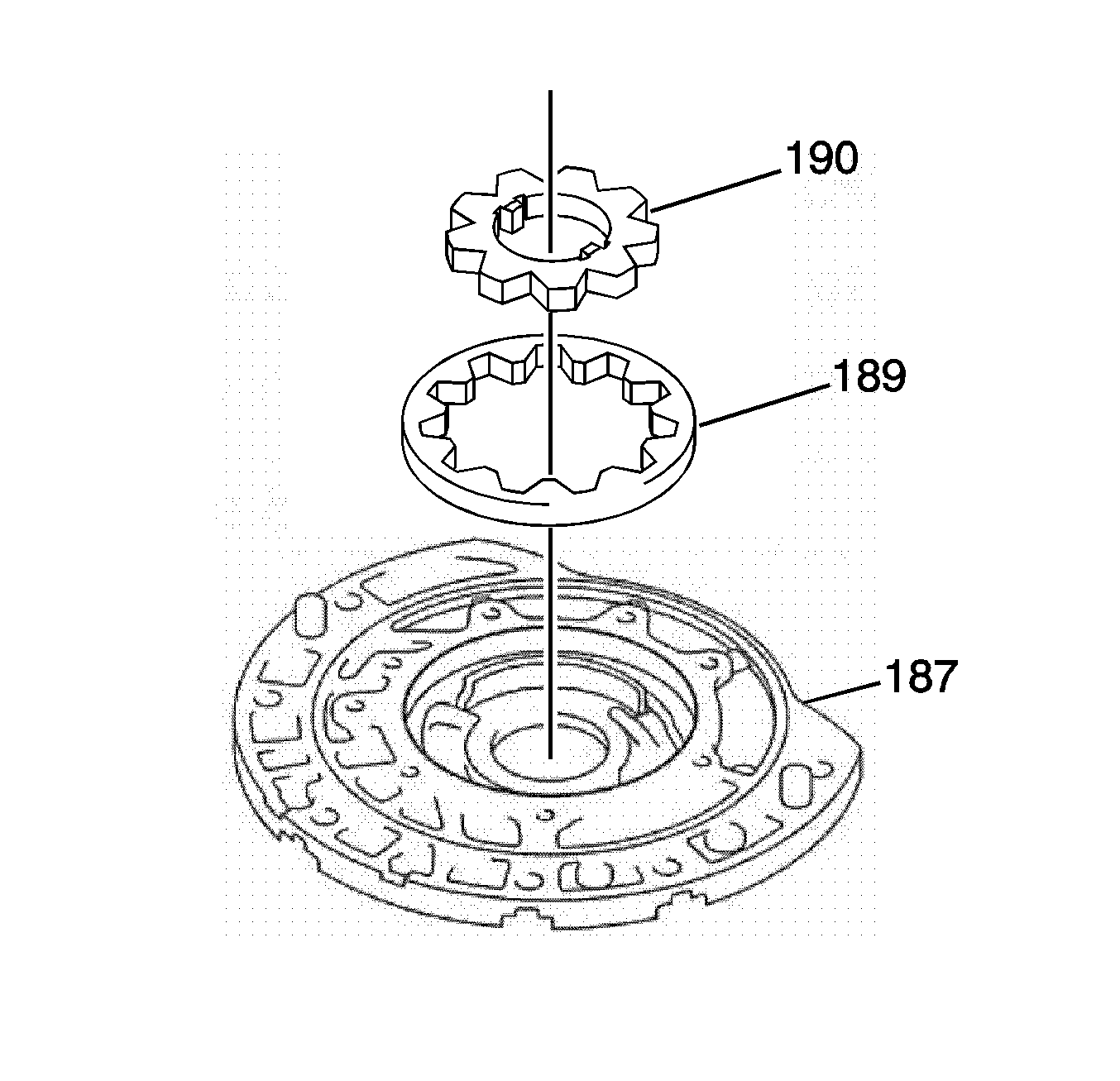
  5. Remove the fluid pump body driven gear (189) and fluid pump body drive gear (190) from the fluid pump body (187).

  6. Object Number: 2002599  Size: SH
  7. Remove the fluid pump body seal assembly (186).