GM Service Manual Online
For 1990-2009 cars only

    Object Number: 2002795  Size: SH
  1. Remove the manual valve (537) from the transmission control valve body assembly (39).

  2. Object Number: 2002799  Size: SH
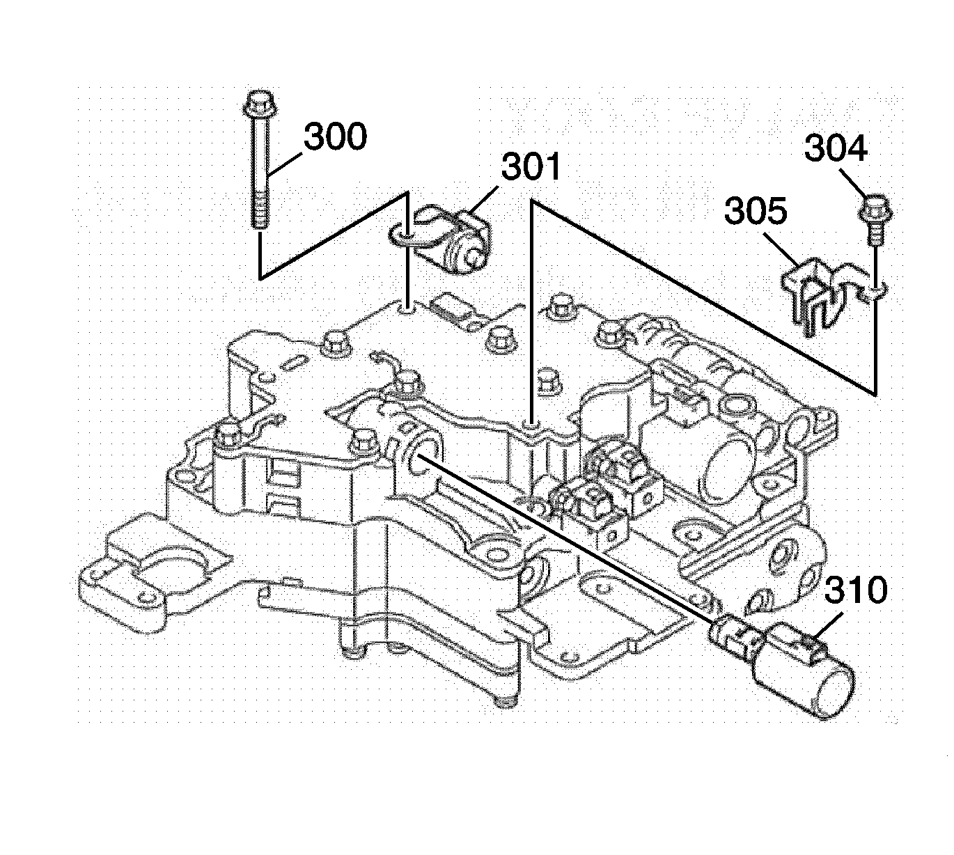
  3. Remove the 1 lock up solenoid clamp bolt (304), lock up control solenoid SLU (310) and lock up solenoid clamp (305) for the SLU.
  4. Remove the 1 control valve body bolt (300) and the neutral switching solenoid valve SN (301).

  5. Object Number: 2002801  Size: SH
  6. Remove the 1 line pressure control solenoid valve retainer bolt (343), the line pressure control solenoid valve assembly SLT (312) and the line pressure control solenoid valve retainer (342) for the SLT.
  7. Remove the 2-3 shift solenoid valve assembly bolt 314 and the 2-3 shift solenoid valve assembly S1 (313).
  8. Remove the shift solenoid valve assembly bolt (315) and the 1-2/3-4 shift solenoid valve assembly S2 (316).

  9. Object Number: 2002802  Size: SH
  10. Remove the 8 front control valve body cover bolts (351, 352, 353) and the 2 wiring harness assembly retainers (354).
  11. Remove the front control valve body cover (302) and cover gasket (303).

  12. Object Number: 2002805  Size: SH
  13. Remove the fluid strainer (321).

  14. Object Number: 2002807  Size: SH
  15. Remove the 3 front valve body bolts (355, 356) and lift off the front control valve body (306).
  16. Remove the front control valve body spacer plate (308) and gaskets (307, 309).

  17. Object Number: 2002810  Size: SH
  18. Remove the check ball (322), the pressure relief valve (341) and the pressure relief valve spring (340).

  19. Object Number: 2002812  Size: SH
  20. Remove the 5 rear valve body bolts (357, 358), the No.2 rear valve body wiring harness assembly retainer (360) and the No.2 rear valve body fluid baffle (359).

  21. Object Number: 2002816  Size: SH
  22. Turn the transmission control valve body assembly (39) over.

  23. Object Number: 2002817  Size: SH
  24. Remove the 5 No.2 rear control valve body bolts (362, 363) and lift off the No.2 rear control valve body assembly (325).
  25. Remove the No.2 rear control valve body assembly spacer plate (327) and 2 gaskets (326, 328).

  26. Object Number: 2002820  Size: SH
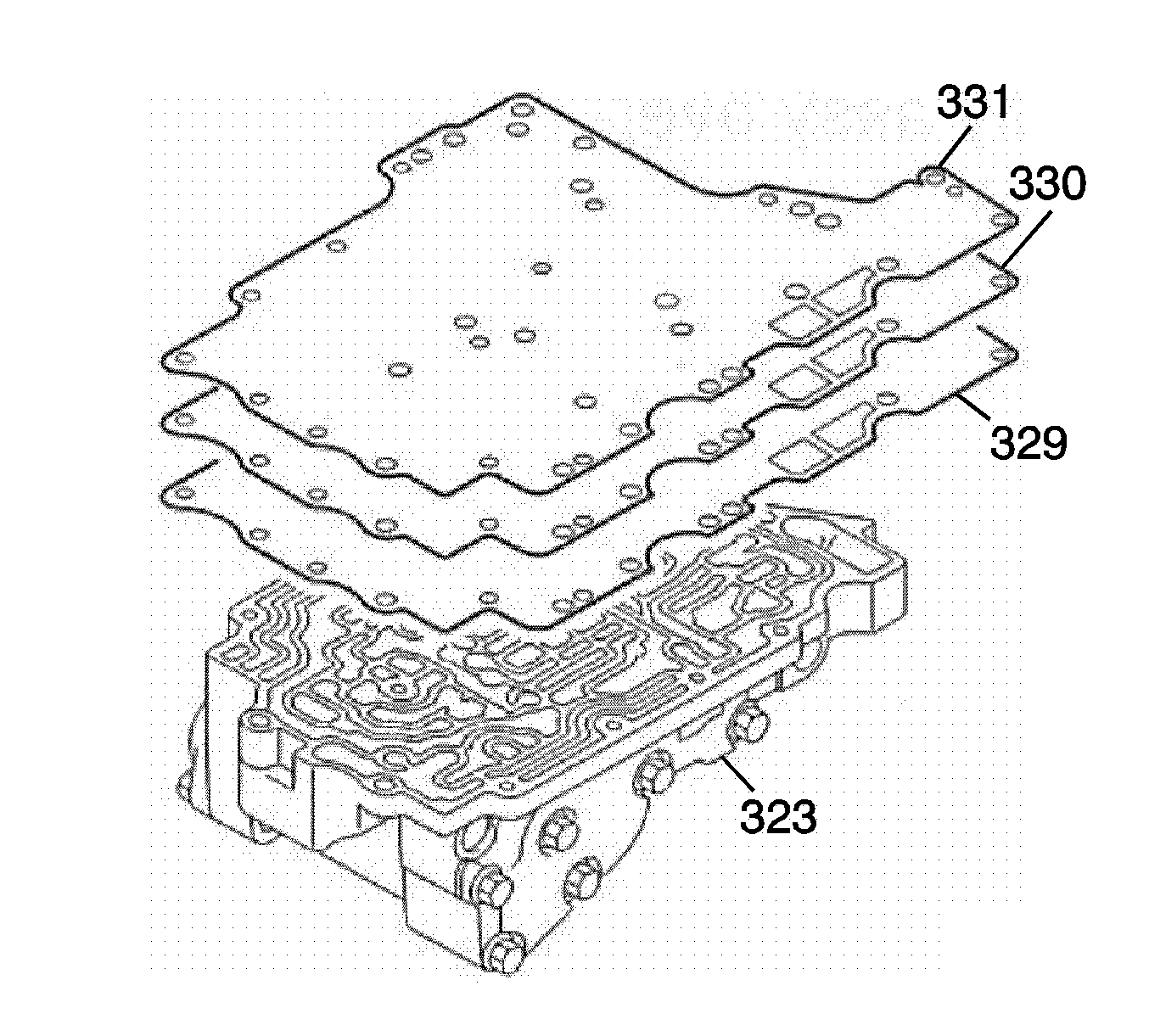
  27. Remove the 3 middle control valve body bolts (365, 366) and lift off the rear control valve body assembly (323).
  28. Remove the middle control valve body spacer plate (330) and the 2 gaskets (331, 329) together.

  29. Object Number: 2002822  Size: SH
  30. Turn the rear control valve body assembly (323) over.
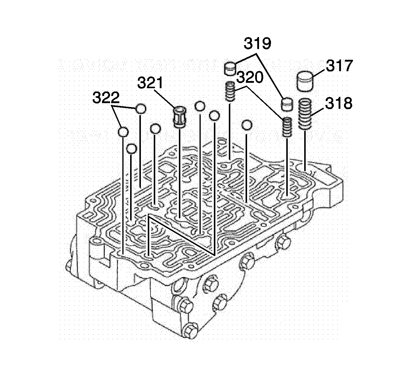
  31. Remove the No.1 rear control valve body spacer plate (330) and the 2 gaskets (331, 329).

  32. Object Number: 2002823  Size: SH
  33. Remove the check valves (317, 319) and check valve springs (318, 320).
  34. Remove the fluid strainer (321) and the 7 check balls (322).

  35. Object Number: 2002824  Size: SH
  36. Remove the middle control valve body fluid cooler by-pass valve (368), the middle control valve body fluid cooler by-pass valve spring (369) from the middle control valve body assembly (311).