GM Service Manual Online
For 1990-2009 cars only

    Object Number: 2008798  Size: SH
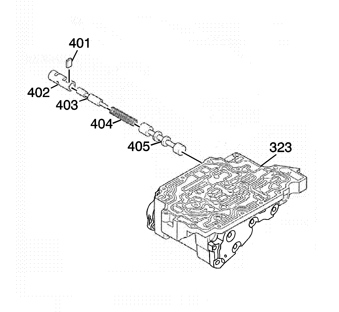
  1. Remove the sleeve/bore plug retainer (401) and the lock up relay control valve sleeve (402).
  2. Remove the lock up relay control valve plunger (403) and the lock up relay control valve spring (404).
  3. Remove the lock up relay control valve (405) from the rear control valve body assembly (323).

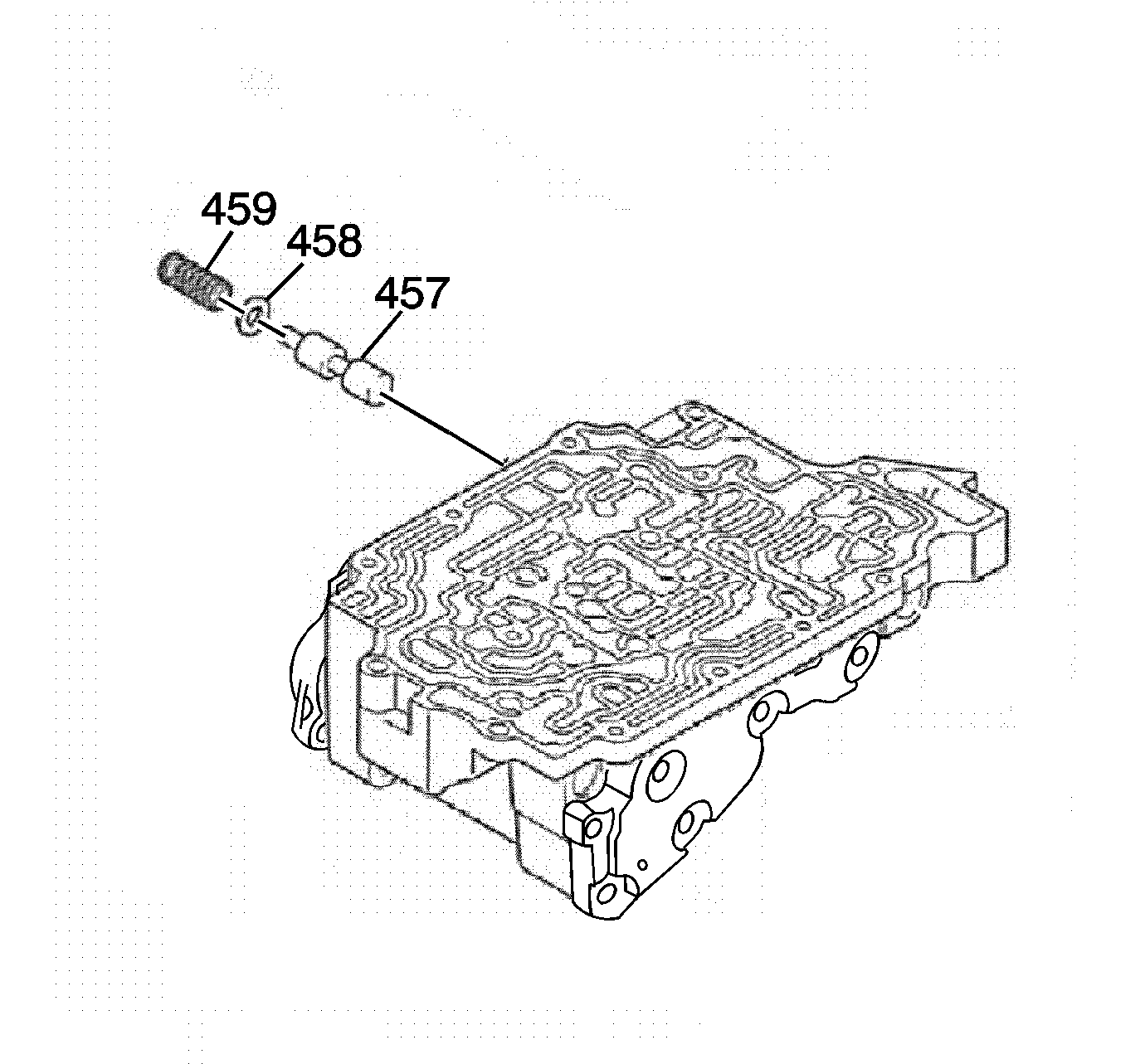
  4. Object Number: 2008799  Size: SH
  5. Remove the C-3 modulator valve spring (459) and the C-3 modulator valve spring seat (458).
  6. Remove the C-3 modulator valve (457).

  7. Object Number: 2008800  Size: SH
  8. Remove the C-1 damper piston (454) and the C-1 damper piston split seal ring (455).
  9. Remove the C-1 damper spring (456).

  10. Object Number: 2008801  Size: SH
  11. Remove the 2-3 timing valve (452).
  12. Remove the 2-3 timing valve spring (453).

  13. Object Number: 2008802  Size: SH
  14. Remove the C-0 accumulator O-ring seal (449).
  15. Remove the C-0 accumulator piston (448).
  16. Remove the C-0 accumulator spring (447).

  17. Object Number: 2008803  Size: SH
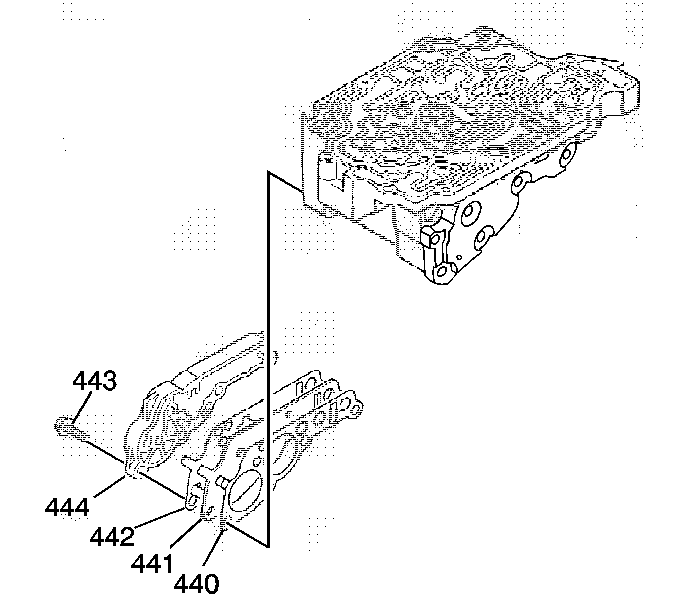
  18. Remove the C-1 control valve sleeve (446).
  19. Remove the C-1 control valve (445).

  20. Object Number: 2008804  Size: SH
  21. Remove the rear valve body cover No.2 bolts (443).
  22. Remove the rear valve body cover No.2 (444).
  23. Remove the rear valve body cover No.2 plate gasket (442), plate (441) and gasket (440).

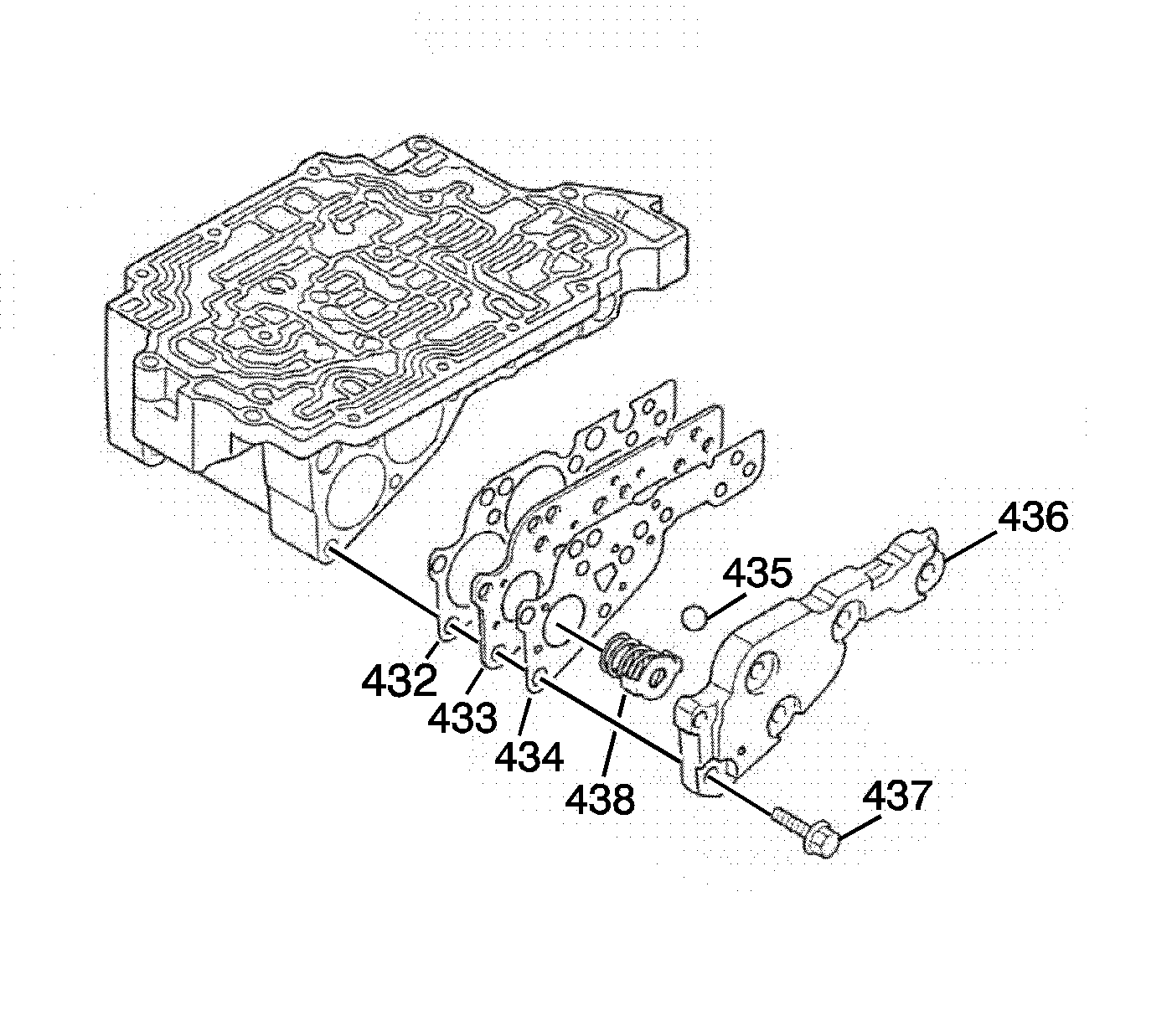
  24. Object Number: 2008805  Size: SH
  25. Remove the rear valve body cover No.1 bolt (437).
  26. Remove the rear valve body cover No.1 (436).
  27. Remove the B-1 accumulator counter spring (438) and the rear valve body cover No.1 check ball (435).
  28. Remove the rear valve body cover No.1 plate gasket (434), plate (433) and gasket (432).

  29. Object Number: 2008837  Size: SH
  30. Remove the B-1 accumulator split seal ring (429).
  31. Remove the B-1 accumulator piston (430) and the B-1 accumulator spring (431).

  32. Object Number: 2008838  Size: SH
  33. Remove the C-2 accumulator inner spring (425) and the C-2 accumulator outer spring (426).
  34. Remove the C-2 accumulator piston (427) and the C-2 accumulator O-ring seal (428).

  35. Object Number: 2008839  Size: SH
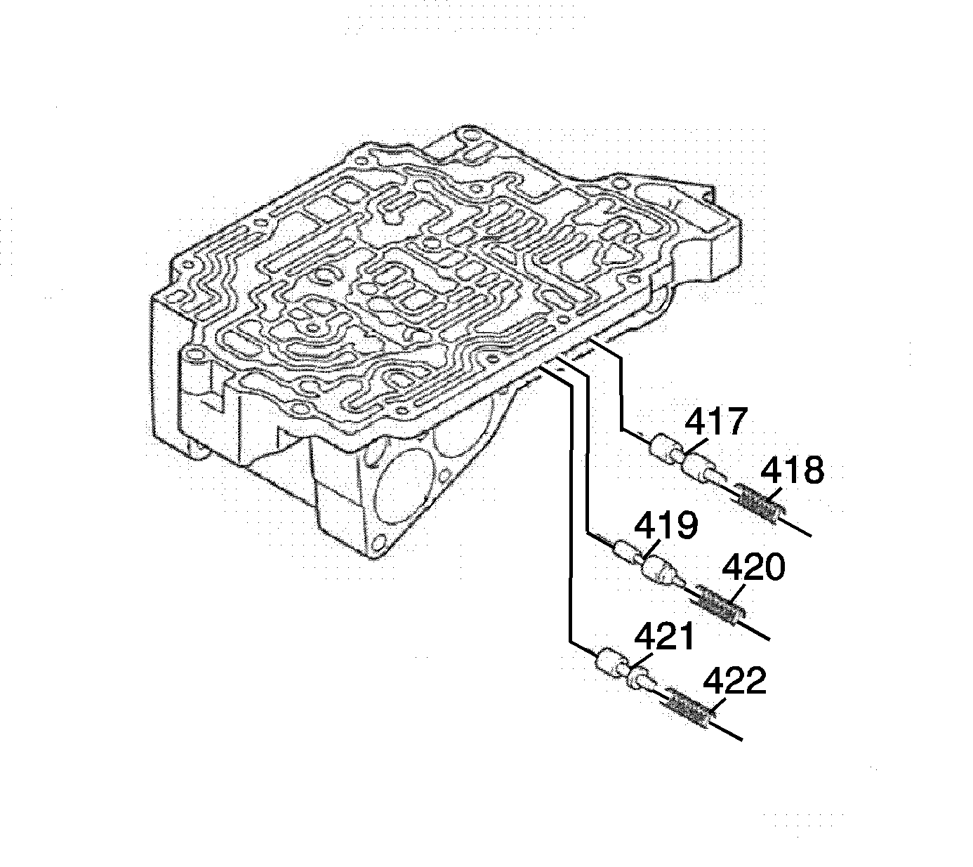
  36. Remove the solenoid modulator valve spring (422) and the solenoid modulator valve (421).
  37. Remove the low modulator valve spring (420) and the low modulator valve (419).
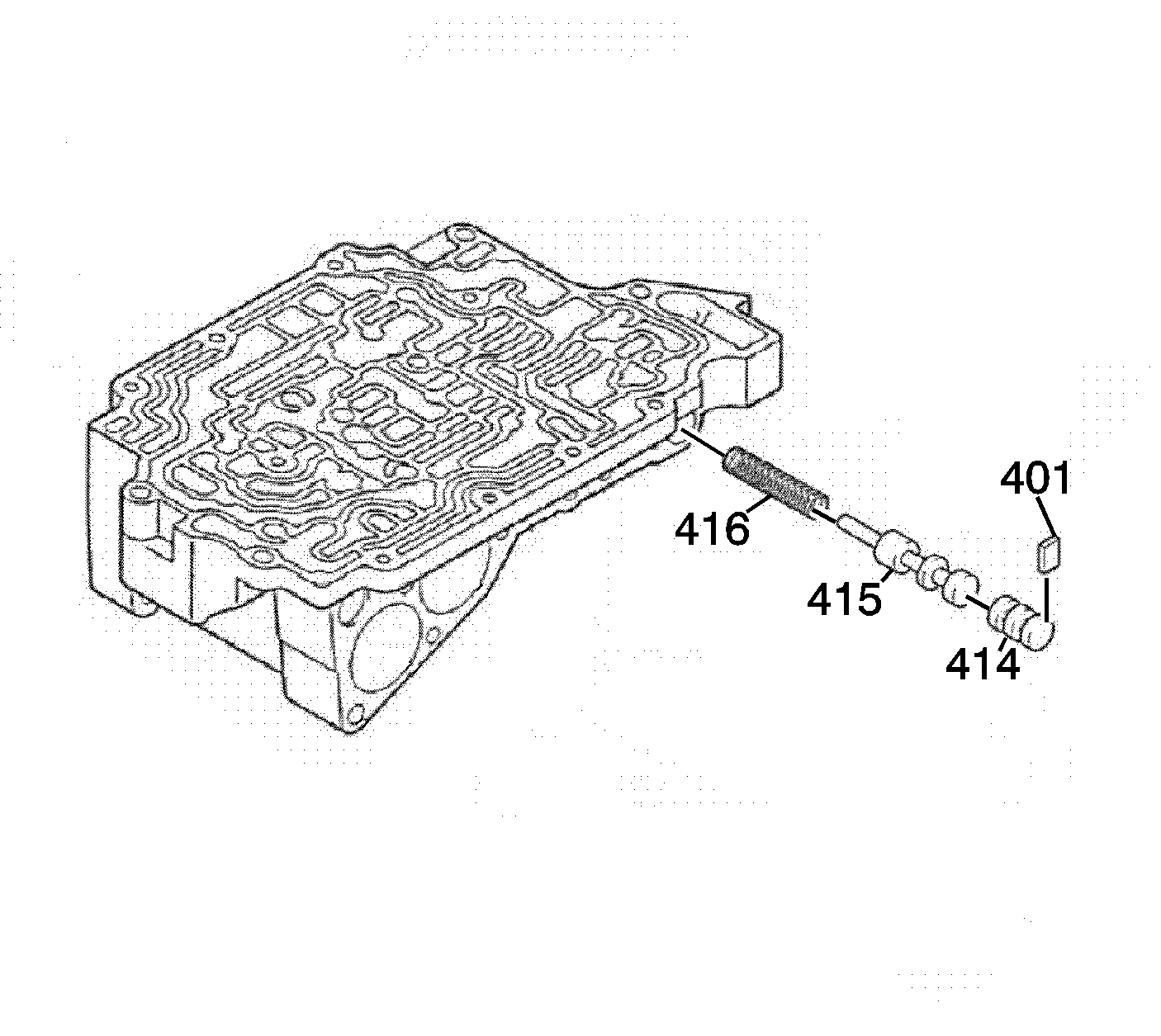
  38. Remove the B-1 modulator control valve spring (418) and the B-1 modulator control valve (417).

  39. Object Number: 2008840  Size: SH
  40. Remove the sleeve/bore plug retainer (401) and the solenoid modulator valve bore plug (414).
  41. Remove the secondary regulator valve (415) and the secondary regulator valve spring (416).