GM Service Manual Online
For 1990-2009 cars only

Cleaning and Inspection Procedure


    Object Number: 2008797  Size: SH
  1. Inspect the middle control valve body (311) for the following conditions:
  2. • Porosity
    • Cracks
    • Damaged machined surfaces
    • Chips and debris
  3. Clean all the valves, springs, bushings, and the middle control valve body(311) in solvent.
  4. Dry all the parts using compressed air.

Installation Procedure


    Object Number: 2008795  Size: SH
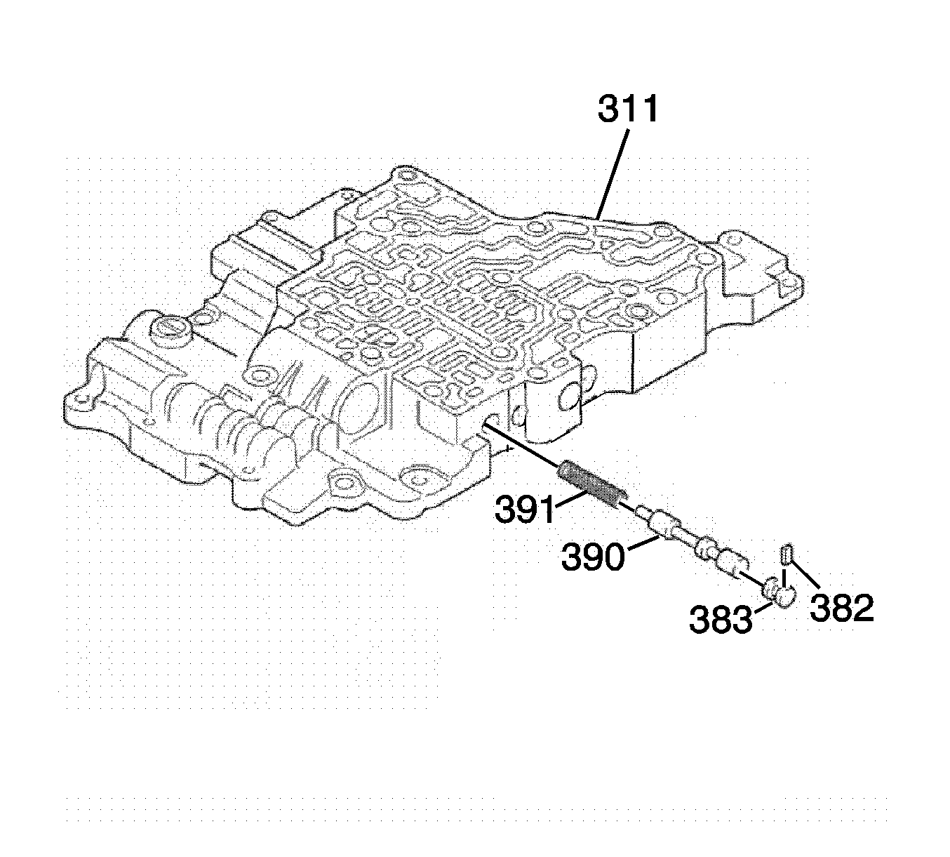
  1. Install the 1-2 shift valve spring (391) and the 1-2 shift valve (390) into the middle control valve body assembly (311).
  2. Install the valve bore plug (383) and the sleeve/bore plug retainer (382).

  3. Object Number: 2008794  Size: SH
  4. Install the 2-3 shift valve (389) and the 2-3 shift valve spring (388).
  5. Install the valve bore plug (383) and the sleeve/bore retainer (382).

  6. Object Number: 2008793  Size: SH
  7. Install the 3-4 shift valve (387) and the 3-4 shift valve spring (386).
  8. Install the 3-4 shift valve sleeve (385).
  9. Install the valve bore plug (384) and the sleeve/bore plug retainer (382).

  10. Object Number: 2008792  Size: SH
  11. Install the lock up control solenoid valve (380) and the lock up control solenoid spring (381).
  12. Install the valve bore plug (383) and the sleeve/bore plug retainer (382).

  13. Object Number: 2008789  Size: SH
  14. Install the solenoid B-1 modulator valve no. 1 plunger (392) and the solenoid B-1 modulator valve no. 1 spring (393).
  15. Install the solenoid B-1 modulator valve no. 1 (394).
  16. Install the solenoid B-1 modulator valve no. 1 sleeve (395) and the sleeve/bore plug retainer (382).

  17. Object Number: 2008780  Size: SH
  18. Install the accumulator regulator valve (399) and the accumulator regulator valve spring (398).
  19. Install the accumulator regulator valve plunger (397).
  20. Install the accumulator regulator valve sleeve (396) and the sleeve/bore plug retainer (382).

  21. Object Number: 2008779  Size: SH
  22. Install the primary regulator valve (379).
  23. Install the primary regulator valve spring (378) and the primary regulator valve plunger (377).
  24. Install the primary regulator valve sleeve (376) and the sleeve/bore plug retainer (382).