GM Service Manual Online
For 1990-2009 cars only

    Object Number: 2002504  Size: SH
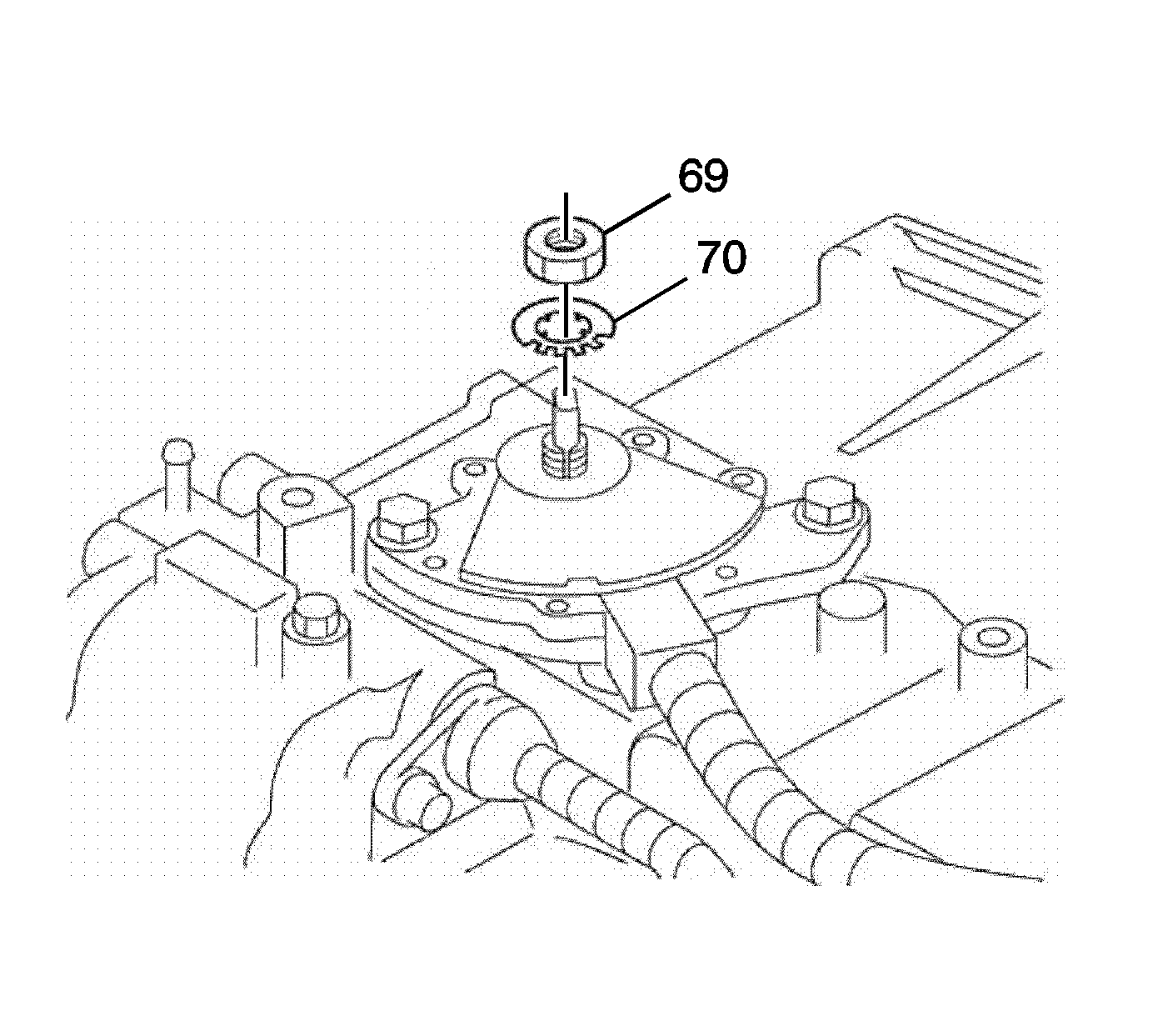
  1. Using a screwdriver, pry off the lockwasher (70).

  2. Object Number: 2002505  Size: SH
  3. Remove the nut (69) and washer (70).

  4. Object Number: 2002507  Size: SH
  5. Remove the 2 bolts (71) and pull out the neutral start switch (72).