GM Service Manual Online
For 1990-2009 cars only
Makes
🢒
Saturn
🢒
2008
🢒
Astra
🢒
Transmission/Transaxle
🢒
Automatic Transmission - AF17-4
🢒 Forward Clutch and Overdrive and Coast Clutch Removal
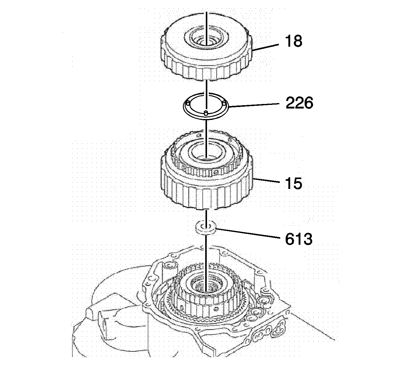
Remove the forward clutch assembly (18), and the coast clutch housing thrust washer (226).
Remove the overdrive and coast clutch assembly (15).
Remove the rear ring gear rear thrust bearing (613).