GM Service Manual Online
For 1990-2009 cars only

Special Tools

    • J 23327 Clutch Spring Compressor
    • J 45124 Removal Bridge
    • SA9179NE Dial Indicator

    Object Number: 2002628  Size: SH
  1. Inspect the check ball is free by shaking the forward clutch piston (583).

  2. Object Number: 2002627  Size: SH
  3. Coat the forward clutch piston outer and inner seals (581, 582) with ATF and install them on the forward clutch piston (583).
  4. Coat the inner surface of the forward clutch housing with ATF.

  5. Object Number: 2002629  Size: SH
  6. Press the forward clutch piston (583) into the forward clutch housing (584), being careful not to damage the O-ring.

  7. Object Number: 2002625  Size: SH
  8. Place the forward clutch piston return spring assembly (580) on the forward clutch housing.

  9. Object Number: 2002624  Size: SH

    Important: Be sure the end gap of snap ring is not aligned with the spring retainer claw.

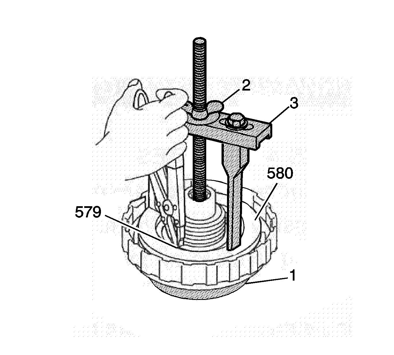
  10. Using the bridge and legs of the J 45124  (3) with the forcing screw of the J 23327  (2) and J 21420-2 (1) plate, which is part of J 23327 , compress the forward clutch piston return spring assembly (580).
  11. Install the forward clutch piston spring retaining ring (579). Remove the tools.

  12. Object Number: 2002623  Size: SH

    Important: Be sure to alternate the order of plates-3 and discs-3.

  13. Install the forward clutch plate assembly-steel plates (578) and fiber discs (577) as shown in the figure.
  14. Install the forward clutch backing plate (576).

  15. Object Number: 2002622  Size: SH
  16. Install the forward clutch backing plate retaining ring (575) with a screwdriver in the groove. Inspect the end gap of the snap ring is not aligned with one of the cut-outs.

  17. Object Number: 2002630  Size: SH
  18. Install the forward clutch assembly into the transmission rear cover, and set the SA9179NE as shown.
  19. When applying and releasing compressed air 392 KPa (56 psi) into the fluid passage as shown, measure the forward clutch piston stroke.
  20. Specification
    Piston stroke 0.442-0.758 mm (0.017-0.030 in)

  21. If the piston stroke is out of standard, select another flange.
  22. Specification

        • Flange thickness type = 3.4 mm (0.13 in)
        • Flange thickness type = 3.6 mm (0.14 in)
        • Flange thickness type = 3.8 mm (0.15 in)

    Object Number: 2002621  Size: SH
  23. Install the 3 forward clutch housing seals-slotted (574).