GM Service Manual Online
For 1990-2009 cars only

Special Tools

    • J 23327 Clutch Spring Compressor
    • J 45124 Removal Bridge

    Object Number: 2002631  Size: SH
  1. Remove the overdrive clutch backing plate retaining ring (209) with a screwdriver.

  2. Object Number: 2002632  Size: SH
  3. Remove the overdrive clutch backing plate (210), overdrive clutch plate assembly-fiber discs (211) and steel plates (212).

  4. Object Number: 2002633  Size: SH
  5. Remove the coast clutch backing plate retaining ring (214).

  6. Object Number: 2002663  Size: SH
  7. Remove the coast clutch backing plate (213), coast clutch plate assembly-fiber discs (215) and steel plates (216).
  8. Inspect the sliding surface of the fiber discs and steel plates are not worn or burnt. If necessary, replace them.
  9. Prepare NEW clutch discs by soaking them at least 2 hours in ATF.

  10. Object Number: 2002666  Size: SH
  11. Using the bridge and legs of the J 45124  (3) with the forcing screw of the J 23327  (2) and J 21420-2 (1) plate, which is part of J 23327 , compress the overdrive and coast clutch spring (218) until the overdrive and coast clutch spring retaining ring (217) is accesible.
  12. Remove the overdrive and coast clutch spring retaining ring (217).

  13. Object Number: 2002698  Size: SH
  14. Remove the overdrive and coast clutch spring (218).
  15. Inspect the springs for damage.

  16. Object Number: 2002701  Size: SH
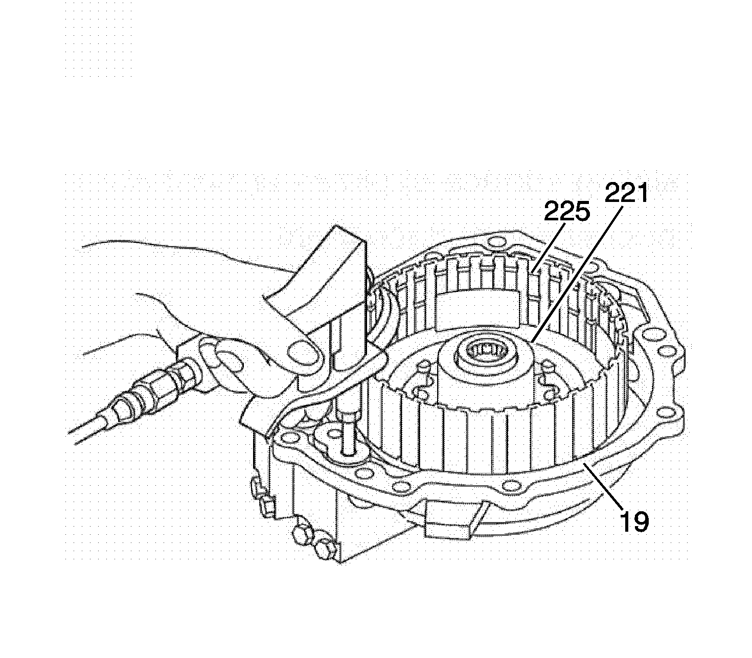
  17. Install the overdrive and coast clutch housing (225) on the transmission case cover (19) and the forward clutch assembly. While pushing the coast clutch piston (221) by hand, apply compressed air 392 KPa (56 psi) into the fluid passage as shown in the figure and remove the coast clutch piston (221).

  18. Object Number: 2002702  Size: SH
  19. Remove the coast clutch piston inner and outer seals (219, 220) from the piston (221).

  20. Object Number: 2002703  Size: SH
  21. Install the overdrive and coast clutch housing (225) on the transmission case cover (19) and forward clutch assembly. While pushing the piston by hand, apply compressed air 392 KPa (56 psi) into the fluid passage as shown in the figure and remove the overdrive clutch piston (224).

  22. Object Number: 2002704  Size: SH
  23. Remove the overdrive clutch piston inner and outer seals (222, 223) from the overdrive clutch piston (224).