GM Service Manual Online
For 1990-2009 cars only

Special Tools

    • J 23327 Clutch Spring Compressor
    • J 45124 Removal Bridge
    • SA9179NE Dial Indicator

    Object Number: 2002705  Size: SH
  1. Inspect the check ball is free by shaking the coast clutch piston (221).
  2. Inspect the valve does not leak by applying low-pressure compressed air.

  3. Object Number: 2002704  Size: SH
  4. Coat the overdrive clutch piston inner and outer seals (222, 223) with ATF and install them on the overdrive clutch piston (224).
  5. Coat the inner surface of the overdrive and coast clutch housing with ATF.

  6. Object Number: 2002706  Size: SH
  7. Press the overdrive clutch piston (224) in the overdrive and coast clutch housing (225), being careful not to damage the O-ring.

  8. Object Number: 2002702  Size: SH
  9. Coat the coast clutch piston inner and outer seals (219, 220) with ATF and install them on the coast clutch piston (221).
  10. Coat the inner surface of the overdrive clutch piston with ATF.

  11. Object Number: 2002707  Size: SH
  12. Press the coast clutch piston (221) into the overdrive clutch piston (224).

  13. Object Number: 2002698  Size: SH
  14. Place the overdrive coast clutch spring (218) on the coast clutch piston (221).

  15. Object Number: 2002666  Size: SH

    Important: Be sure the end gap of the retaining ring is not aligned with the spring retainer claw.

  16. Using the bridge and legs of the J 45124  (3) with the forcing screw of the J 23327  (2) and J 21420-2 (1) plate, which is part of J 23327 , compress the overdrive and coast clutch spring (218).
  17. Install the overdrive and coast clutch spring retaining ring (217). Remove the tools.

  18. Object Number: 2002663  Size: SH

    Important: Be sure to alternate the order of plates-2 and discs-2.

  19. Install the coast clutch backing plate (213), coast clutch plate assembly-steel plates (216) and fiber discs (215) as shown.

  20. Object Number: 2002633  Size: SH
  21. Install the coast clutch backing plate retaining ring (214) with a screwdriver in the groove. Inspect the end gap of the retaining ring is not aligned with one of the cut-outs.

  22. Object Number: 2002632  Size: SH

    Important: Be sure to alternate the order of plates-3 and discs-3.

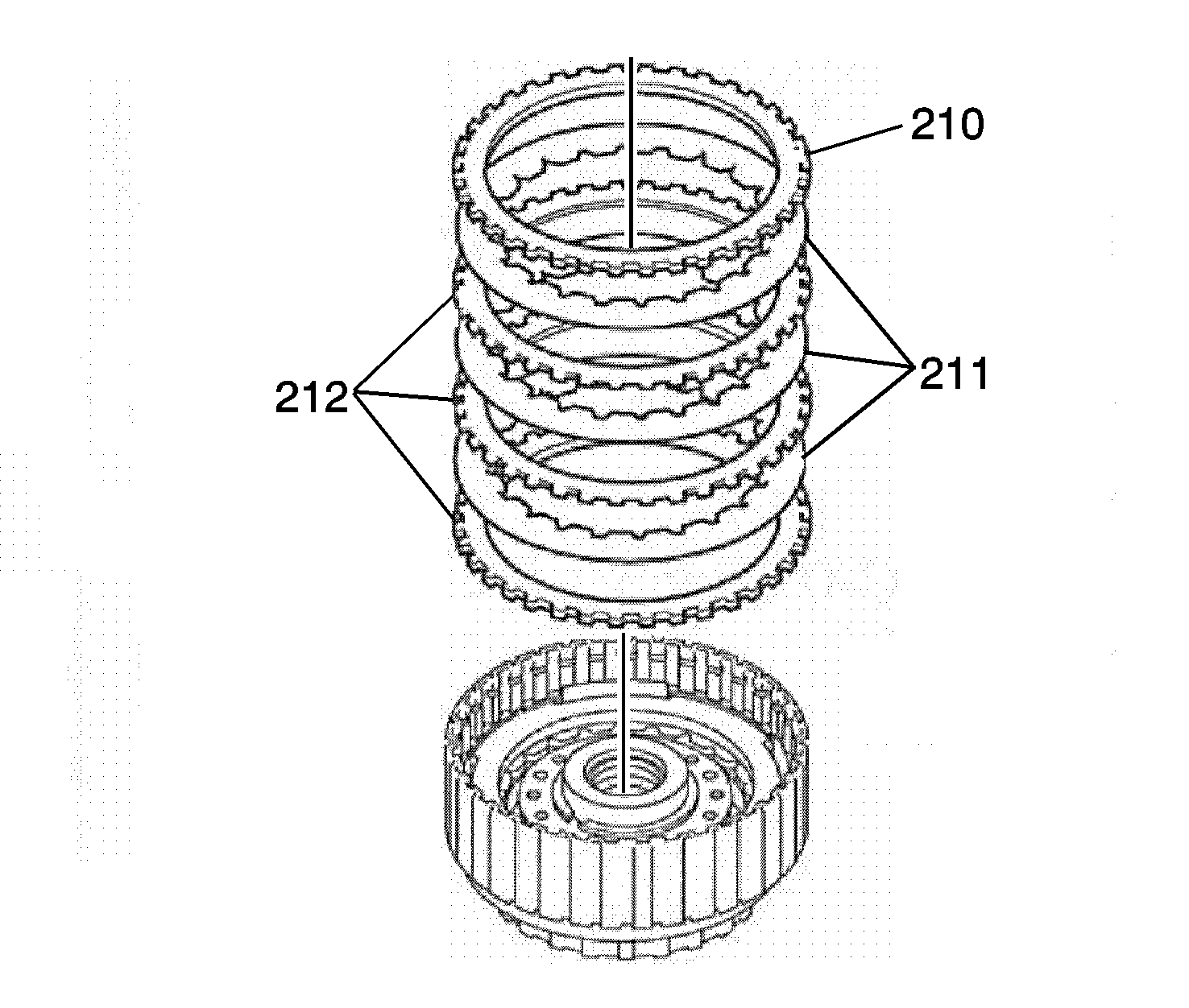
  23. Install the overdrive clutch plate assembly-steel plates (212), fiber discs (211) and the overdrive clutch backing plate (210).

  24. Object Number: 2002631  Size: SH
  25. Install the overdrive clutch backing plate retaining ring (209) with a screwdriver in the groove. Inspect the end gap of the retaining ring is not aligned with one of the cut-outs.

  26. Object Number: 2002708  Size: SH
  27. Install the coast clutch assembly into the transmission rear cover, and set the SA9179NE as shown.
  28. When applying and releasing compressed air 392 KPa (56 psi) into the fluid passage as shown, measure the coast clutch piston stroke.
  29. Specification
    Piston stroke 2.682-3.018 mm (0.105-0.120 in)

  30. If the piston stroke is out of standard, select another flange.
  31. Specification

        • Flange thickness type = 3.6 mm (0.14 in)
        • Flange thickness type = 3.8 mm (0.15 in)
        • Flange thickness type = 4.0 mm (0.16 in)

    Object Number: 2002709  Size: SH
  32. Install the overdrive clutch assembly into the transmission rear cover, and set the SA9179NE as shown.
  33. When applying and releasing compressed air 392 KPa (56 psi) into the fluid passage as shown, measure the overdrive clutch piston stroke.
  34. Specification

        • Piston stroke 0.762-1.038 mm (0.030-0.040 in)
        • Piston stroke 1.043-1.357 mm (0.041-0.053 in)
  35. If the piston stroke is out of standard, select another flange.
  36. Specification

        • Flange thickness type = 3.6 mm (0.14 in)
        • Flange thickness type = 3.8 mm (0.15 in)
        • Flange thickness type = 4.0 mm (0.16 in)