GM Service Manual Online
For 1990-2009 cars only

    Object Number: 2002832  Size: SH
  1. Install the overdrive and coast clutch assembly (15).

  2. Object Number: 2002833  Size: SH
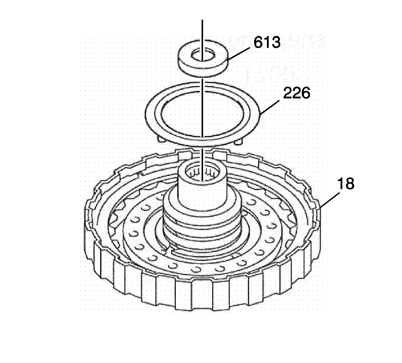
  3. Place the rear ring gear rear thrust bearing (613) and the overdrive and coast clutch housing thrust washer (226) with grease on the forward clutch assembly (18).

  4. Object Number: 2002834  Size: SH
  5. Install the forward clutch assembly (18).