GM Service Manual Online
For 1990-2009 cars only

Special Tools

    • J 23327 Clutch Spring Compressor
    • J 45124 Removal Bridge

    Object Number: 2002621  Size: SH
  1. Remove the 3 forward clutch housing seals-slotted (574).

  2. Object Number: 2002622  Size: SH
  3. Remove the forward clutch backing plate retaining ring (575) with a screwdriver.

  4. Object Number: 2002623  Size: SH
  5. Remove the forward clutch backing plate (576), forward clutch plate assembly-fiber discs (577) and steel plates (578).
  6. Important: Prepare NEW clutch discs by soaking them at least 2 hours in ATF.

  7. Inspect the sliding surface of discs and plates are not worn or burnt. If necessary, replace them.

  8. Object Number: 2002624  Size: SH
  9. Using the bridge and legs of the J 45124  (3) with the forcing screw of the J 23327  (2) and J 21420-2 (1) plate, which is part of J 23327 , compress the forward clutch piston return spring assembly (580) until the forward clutch piston return spring retaining ring (579) is accesible.
  10. Remove the forward clutch piston spring retaining ring (579).

  11. Object Number: 2002625  Size: SH
  12. Remove the forward clutch piston return spring assembly (580).
  13. Inspect the springs for any damage.

  14. Object Number: 2002626  Size: SH

    Important: Be careful not to damage the seal rings in the rear cover.

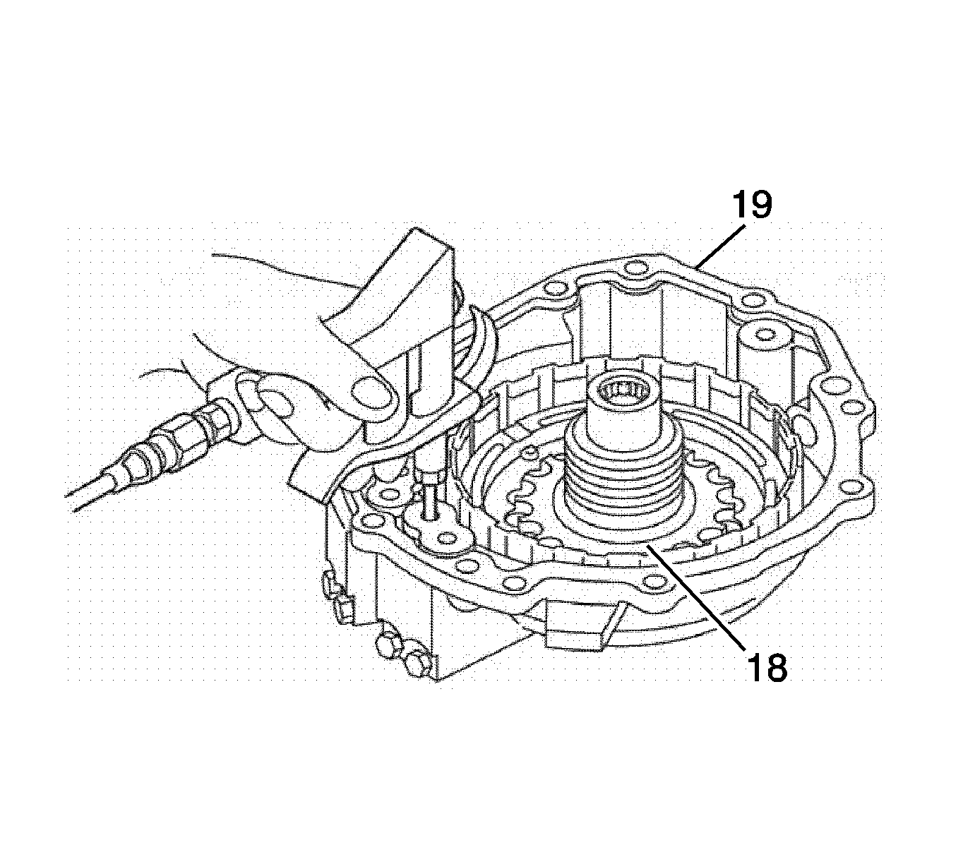
  15. Install the forward clutch assembly (18) into the transmission case cover (19).
  16. While pushing the forward clutch piston by hand, apply compressed air 392 KPa (56 psi) into the fluid passage as shown in the figure and remove the forward clutch piston (583).

  17. Object Number: 2002627  Size: SH
  18. Remove the forward clutch piston inner and outer seals (582, 581) from the forward clutch piston.