GM Service Manual Online
For 1990-2009 cars only

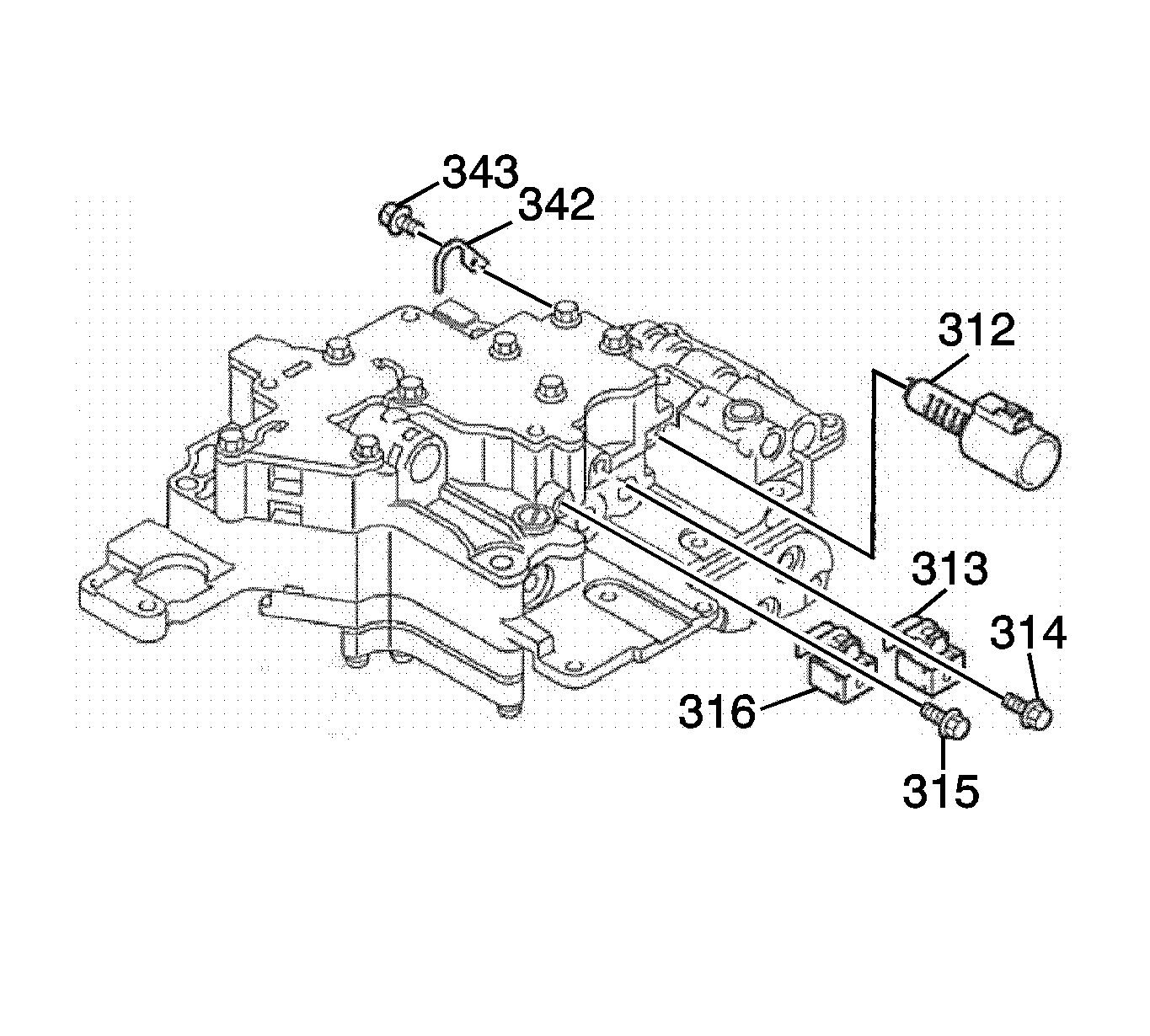
Removal Procedure


    Object Number: 2002801  Size: SH
  1. Remove the control valve body cover. Refer to Control Valve Body Cover Replacement .
  2. Remove the 2-3 shift solenoid valve bolt (314) and the 2-3 shift solenoid valve (313).

Installation Procedure

    Notice: Refer to Fastener Notice in the Preface section.


    Object Number: 2002801  Size: SH
  1. Install the 2-3 shift valve solenoid valve (313) and the bolt (314).
  2. Tighten
    Tighten the bolt to 5.9-7.4 N·m (51-66 lb in).

  3. Install the control valve body cover. Refer to Control Valve Body Cover Replacement.