GM Service Manual Online
For 1990-2009 cars only

Transmission Replacement Transmission Only

Special Tools

    • KM-569-A Plug Remover
    • KM-6001-A Engine Mount
    • MKM-883-1 Engine Bridge
    • DT-47648 Transmission Holder
    • KM-904 Base Frame

Removal Procedure

Important: If the transmission is replaced, the following parts must be transferred:

  1. Connection piece for clutch actuation.
  2. Engine damping block bracket.
  3. Shift Bowden cable bracket.

  1. Remove the battery tray. Refer to Battery Tray Replacement
  2. Place a drain pan underneath.

  3. Object Number: 1944712  Size: SH
  4. Disconnect the wiring harness plug, backup lamp switch (1).
  5. Remove the clutch pressure hose (4) from the connection piece (2).
  6. • Open the retaining clamp (3).
    • Remove the clutch pressure hose.
    • Close the retaining clamp.

    Object Number: 1944710  Size: SH
  7. Remove the selector lever link (1) from the transmission cover (2).
  8. • Press in the retaining spring (arrow) of the hollow pin.
    • Lever out roll pin with KM-569-A .

    Object Number: 1938537  Size: SH
  9. Release the transmission at the top.
  10. Remove the 4 bolts (arrows).

    Notice: Refer to Fastener Notice in the Preface section.


    Object Number: 1948649  Size: LF
  11. Attach KM-6001-A to the front frame.
  12. • Remove the 2 bolts (arrows) for the adjustment rails on KM-6001-A  (1).

       Important: Two journals (2) and (5) must sit flush in the guide holes of the front frame.

    • Insert KM-6001-A as shown.

    Tighten
    Tighten the 2 bolts for the adjustment rails.

       Important: The guide pins must sit in the support bearings with no play.

    • Adjust the front support bearing (4) until in contact with the guide pin of the front engine damping block.

       Important: The guide pins must sit in the support bearings with no play.

    • Adjust the rear support bearing (3) until in contact with the guide pin of the rear engine damping block bracket.
  13. Remove the front frame. Refer to Front Frame Replacement .
  14. Important: Axle shafts remain in the wheel hubs.

  15. Remove the 2 axle shafts from the transmission. Refer to Wheel Drive Shaft Replacement .
  16. • Attach the axle shafts to the vehicle underbody.
    • Seal the 2 openings for the 2 axle shafts with a plug.

    Object Number: 1935823  Size: SH

    Important: Do not damage wiring harnesses and attaching parts.

  17. Remove the transmission from the left engine damping block.
  18. Remove the 3 bolts (1).

  19. Lower the engine and transmission on the left-hand side.
  20. Use MKM-883-1 .


    Object Number: 1947364  Size: LH
  21. Remove the front engine damping block bracket.
  22. Remove the 2 bolts (1).

  23. Remove the rear engine damping block bracket.
  24. Remove the 3 bolts (2).


    Object Number: 1947841  Size: LF
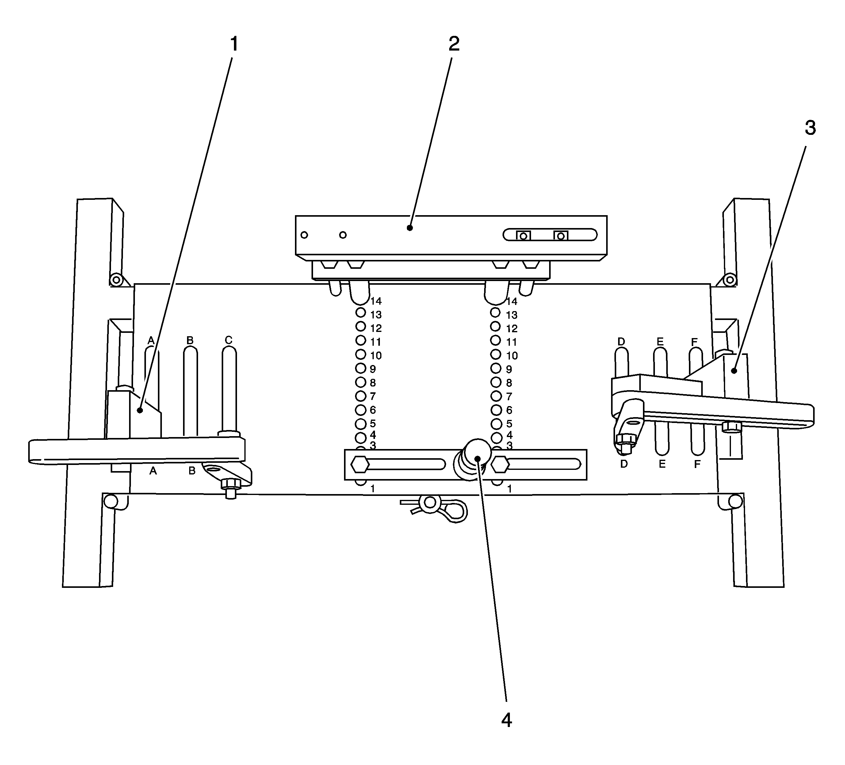
  25. Place the transmission holder DT-47648 on KM-904 and pre-install as shown in the illustration:
  26. 14.1. DT-47648  (4)
       • Position on Base Plate-2
       • Designation-Clutch housing support
    14.2. DT-47648  (2)
       • Position on Base Plate-14
       • Designation-Transmission housing support
    14.3. DT-47648  (1)
       • Position on Base Plate-A
       • Designation-Support with rear transmission swivel arm
    14.4. DT-47648  (3)
       • Position on Base Plate-F
       • Designation-Support with rear transmission swivel arm

    Object Number: 1947827  Size: LH

    Important: It is essential to follow the manufacturer's instructions for transmission holder DT-47648 .

    Important: Before placing in position, slacken all bolt connections of the swivel arms and supports as far as the base plate. Adjust the supports using the spindles until they are as low as possible.

  27. Attach the transmission holder DT-47648 to the transmission.
  28. • Place the transmission holder DT-47648 with supports in position under the transmission.
    • Tighten the bolt connections of the supports
    • Attach the swivel arm (1) and (2) to the transmission.

       Important: Align the swivel arms so that as little leverage as possible is created.

    • Tighten the bolt connections of the swivel arms starting from the transmission and going as far as the base plate

    Object Number: 1948018  Size: LF

    Important: Do not damage attaching parts when putting the transmission down.

  29. Remove the transmission.
  30. • Remove the 3 bolts (2), transmission to oil pan.

       Important: Note differing bolt lengths.

    • Remove the 3 bolts (1) and (3), transmission to cylinder block.

       Important: Do not damage attaching parts.

    • Pry the transmission away from the engine.
    • Carefully lower the transmission with the hydraulic jack and extend the hydraulic jack.
  31. With the aid of an assistant, remove the transmission from DT-47648 .
  32. • Remove the 2 bolts.
    • Put the transmission down carefully.

Installation Procedure

    Notice: Refer to Fastener Notice in the Preface section.

  1. With the aid of an assistant, attach the transmission to DT-47648 . Tighten the 2 bolts.
  2. Important: Ensure that no cables and brackets get trapped between the transmission and engine.

    Important: Ensure it is seated perfectly.

  3. Install the transmission with DT-47648
  4. • Raise the transmission and align it.
    • Place the transmission so that it is in even contact with the engine.

    Object Number: 1948018  Size: LF
  5. Install the transmission.
  6. Install the wiring harness bracket with the front bolt.

    Tighten

        • Tighten the 3 transmission to cylinder block bolts (1) and (3) to 60 N·m (44 lb ft) .
        • Tighten the 2 transmission to oil pan bolts (2) to 40 N·m (30 lb ft) .
  7. Remove the transmission holder DT-47648 from the transmission.
  8. • Remove the 2 bolts.
    • Lower and extend the hydraulic jack.

    Important: Do not damage wiring harnesses and attaching parts.

  9. Raise the engine and transmission on the left hand side.
  10. Raise with MKM-883-1 .


    Object Number: 1935823  Size: SH

    Important: Do not tighten bolts yet.

  11. Attach the transmission to left hand engine damping block.
  12. Tighten
    Tighten the 3 bolts (1) to 80 N·m (59 lb ft).


    Object Number: 1947364  Size: LH
  13. Install the front engine damping block bracket.
  14. Tighten
    Tighten the 2 bolts (1) to 80 N·m (59 lb ft).

  15. Install the rear engine damping block bracket.
  16. Tighten
    Tighten the 3 bolts (2) to 80 N·m (59 lb ft).

  17. Install the 2 axle shafts to the transmission. Refer to Wheel Drive Shaft Replacement .
  18. Important: Do not detach MKM-883-1 yet.

  19. Install the front frame. Refer to Front Frame Replacement .

  20. Object Number: 1935823  Size: SH
  21. Attach the transmission to left hand engine damping block.
  22. Tighten
    Tighten the 3 bolts (1) to 55 N·m (41 lb ft).

  23. Remove KM-6001-A from the front frame.

  24. Object Number: 1938537  Size: SH
  25. Fasten the transmission at the top.
  26. Tighten
    Tighten the 4 bolts (arrows) to 60 N·m (44 lb ft).


    Object Number: 1944710  Size: SH
  27. Attach the selector lever link (1) to the transmission cover (2).
  28. Insert a new roll pin (arrow).

    • Coat the roll pin with grease.
    • Depress the roll pin until retaining spring engages.

    Object Number: 1944714  Size: SH
  29. Connect the wiring harness plug for the reversing lamp switch (1).
  30. Important: The clutch pressure hose must audibly engage.

  31. Attach the clutch pressure hose (3) to the connection piece (2).
  32. Inspect for correct transmission fluid level. Refer to Transmission Fluid Check .
  33. Adjust the transmission selector lever link. Refer to Selector Lever Link Adjustment .
  34. Bleed the hydraulic clutch actuation. Refer to Hydraulic Clutch Bleeding .
  35. Install the battery tray. Refer to Battery Tray Replacement .
  36. For reprogramming procedures, refer to Control Module References .
  37. .

Transmission Replacement Engine and Transmission

Special Tools

    • KM-313 Sliding Hammer
    • OTC 1726 / KM-412-31-1/KM-412-31-2 Engine Overhaul Stand
    • KM-460-B Axle Shaft Remover
    • KM-6003 Remover
    • KM-6349 Fixing Rod

Removal Procedure


    Object Number: 1945833  Size: SH

    Important: Engine with manual transmission removed.

  1. Remove the coolant return hose, throttle valve pre-heating (1) from the coolant surge tank.
  2. • Release the clamp.
    • Unclip from the bracket.

    Object Number: 1945831  Size: SH
  3. Remove the upper radiator hose (1) from the thermostat (2).
  4. Release the clamp.

  5. Remove the lower radiator hose from the coolant pump.
  6. • Release the clamp.
    • Unclip from the bracket.

    Object Number: 1945832  Size: SH
  7. Remove the refrigerant lines (1) from the air conditioning (A/C) compressor.
  8. Remove the bolt (2).


    Object Number: 1945830  Size: SH
  9. Disconnect the 3 wiring harness plugs.
  10. • Compressor (1)
    • Manometric switch, condenser (2)
    • Disconnect the wiring harness.
    • Temperature sensor, radiator (3)

    Object Number: 1936684  Size: LF
  11. Remove the radiator (1).
  12. Remove from the lower radiator brackets.

  13. Place the collecting basin underneath.
  14. Remove the right-hand axle body.
  15. • Remove the axle body with KM-460-B  (1) from the differential gear.
    • Seal the opening in differential with the sealing plug.

    Object Number: 1948718  Size: LH
  16. Remove the left-hand axle body.
  17. • Remove the axle body with KM-313 and KM-6003  (1) from the differential gear.
    • Seal the opening in the differential with the sealing plug.

    Object Number: 1944397  Size: SH
  18. Remove the oil dipstick guide tube (2).
  19. • Remove the bolt (1).
    • Remove the oil dipstick guide tube upward.
  20. Remove the wiring harness plug of the catalytic converter control oxygen sensor.
  21. • Disconnect the wiring harness connector.
    • Unclip from the bracket.

    Object Number: 1944913  Size: SH
  22. Remove the ribbed V-belt.
  23. • Apply tension to the ribbed V-belt tensioner in the direction of the arrow at the projection (1) and lock with KM-6349  (2).
    • Remove the ribbed-V-belt.
  24. Remove the exhaust manifold heat shield.
  25. Remove the 3 bolts.


    Object Number: 1945835  Size: MF
  26. Remove the bracket for the catalytic converter (1) from the cylinder block.
  27. Remove the 2 bolts (2, 3).


    Object Number: 1945773  Size: SH
  28. Remove the exhaust manifold.
  29. Remove the 9 nuts (1).


    Object Number: 1945764  Size: SH
  30. Remove the compressor.
  31. Remove the 3 bolts (1).


    Object Number: 1945800  Size: SH
  32. Remove the coolant pipe (1) between the thermostat housing and the oil filter housing.
  33. • Remove the 2 bolts (2).
    • Draw out of the oil filter housing.

    Object Number: 1945808  Size: SH
  34. Remove the coolant pipe (1) from the coolant pump.
  35. • Remove the 2 bolts (2).
    • Push the coolant pipe into the oil filter housing.

    Object Number: 1945810  Size: SH
  36. Remove the oil filter housing (3).
  37. • Release the coolant pipe (1) and push into the oil filter housing.
    • Remove the bolt (2).
    • Remove the 4 bolts (4).

    Object Number: 1945774  Size: SH
  38. Remove the intake manifold support (2).
  39. • Disconnect the wiring harness plug of the catalytic converter control oxygen sensor.
    • Unclip the wiring harness plug (1) from the bracket.
    • Remove the 2 bolts (3).

    Object Number: 1936908  Size: LH
  40. Disconnect the generator from the power supply.
  41. Remove the 2 nuts (1, 2).

  42. Remove the generator.
  43. Remove the 2 bolts (3, 4).


    Object Number: 1936908  Size: LH
  44. Remove the negative cable (1) from the starter.
  45. Remove the nut.

  46. Remove the 2 positive cables (2) from the starter.
  47. Remove the 2 nuts.


    Object Number: 1945791  Size: SH
  48. Remove the starter.
  49. • Unclip the wiring harness plug for the oxygen sensor of the catalytic converter control from the bracket.
    • Remove the 2 bolts (1, 2).

    Object Number: 1945836  Size: SH
  50. Attach OTC 1726  (1).
  51. Tighten the 3 bolts (2)


    Object Number: 1937131  Size: SH
  52. Install OTC 1726  (1).
  53. Tighten the 3 bolts.

  54. Attach the engine up to the workshop crane.
  55. Install the holding ropes to the engine transport shackles.


    Object Number: 1948720  Size: LH
  56. Remove the front engine damping block.
  57. Remove the screwed connection (1).

  58. Remove the rear engine damping block.
  59. Remove the screwed connection (2).

  60. Lift the motor away from the front frame.
  61. Install the engine on the engine overhaul stand OTC 1726 .
  62. Remove the holding ropes from the engine transport shackles.


    Object Number: 1948673  Size: SH

    Important: One bolt remains as a retaining device.

  63. Remove the transmission (1) from the engine.
  64. Remove 8 bolts.

  65. Remove the transmission.
  66. • Install the holding ropes.
    • Attach the transmission up to the workshop crane.

       Important: Ensure that the attached parts and the wiring harnesses are undamaged.

    • Remove the bolt.

Installation Procedure

  1. Install the transmission.
  2. • Attach the transmission up to the workshop crane.
    • Install the transmission to the engine.
    • Install the bolt.
    • Disconnect the workshop crane.
    • Remove the holding ropes.

    Notice: Refer to Fastener Notice in the Preface section.

  3. Install the transmission to the engine.
  4. • Install the transmission to the cylinder block.

    Tighten
    Tighten the 4 bolts to 60 N·m (44 lb ft).

    • Install the transmission to the oil pan.

    Tighten
    Tighten the 3 bolts to 40 N·m (30 lb ft).

  5. Hitch the engine up to the workshop crane.
  6. Install holding ropes to the engine transport shackles.

  7. Remove the engine from the engine overhaul stand OTC 1726 .
  8. Raise the engine carefully.

  9. Install the rear engine damping block, front frame.
  10. Tighten
    Tighten the screwed joint to 55 N·m (40 lb ft).

  11. Use new nuts.
  12. Install the front engine damping block to the front frame.
  13. Tighten
    Tighten the screwed joint to 55 N·m (40 lb ft).

  14. Use new nuts.
  15. Remove OTC 1726 and OTC 1726 from the cylinder block.
  16. Remove the 6 bolts.

  17. Install the generator.
  18. Tighten
    Tighten the 2 bolts to 35 N·m (26 lb ft).

  19. Fit the starter.
  20. Tighten
    Tighten the 2 bolts to 25 N·m (18 lb ft).

  21. Clip in the wiring harness plug for the oxygen sensor of the catalytic converter control to bracket.
  22. Install the starter wiring harness.
  23. Tighten
    Tighten the 2 nuts to 12.5 N·m (110 lb in).

    • Install the ground cable.

    Tighten
    Tighten the nut to 5 N·m (44 lb in).

    • Clip in 2x.
  24. Connect the alternator wiring harness.
  25. Tighten
    Tighten the 2 nuts to 7 N·m (67 lb in).

  26. Install the intake manifold bracket.
  27. Tighten
    Tighten the 2 bolts to 8 N·m (70 lb in).

    • Connect the wiring harness plug into the bracket.
    • Connect the wiring harness plug for the catalytic converter control oxygen sensor.
  28. Clean the sealing surface.
  29. Replace the 4 coolant pipe seal rings.
  30. • Remove the 2 coolant pipes from the oil filter adapter.
    • Install the 2 coolant pipes in the oil filter adapter.
  31. Install the oil filter adapter.
  32. Tighten
    Tighten the 4 bolts to 25 N·m (18 lb ft).

    • Install 3 new gaskets.
    • O-rings with white silicone grease
  33. Install the coolant pipe to the coolant module.
  34. • Draw the coolant pipe out of the oil filter adapter.
    • Install the coolant pipe to the oil filter adapter.

    Tighten
    Tighten the bolt to 25 N·m (18 lb ft).

  35. Install the coolant pipe to the coolant module.
  36. Draw the coolant pipe out of the oil pump housing.

    Tighten
    Tighten the 2 bolts to 25 N·m(18 lb ft) .

  37. Remove the coolant pipe, oil filter housing to the thermostat housing.
  38. • Replace the 2 gaskets.
    • Push into the oil filter housing.
    • Connect to the thermostat housing.

    Tighten
    Tighten the 2 bolts to 8 N·m (70 lb in).

  39. Install the compressor.
  40. Tighten
    Tighten the 3 bolts to 22 N·m (16 lb ft).

  41. Clean the sealing surface.
  42. Install the exhaust manifold with the catalytic converter.
  43. • Use a new gasket.

    Tighten
    Tighten the 9 new nuts to 20 N·m (15 lb ft).

    • Install the bracket to the cylinder block.

    Tighten
    Tighten the 2 bolts to 20 N·m (15 lb ft).

  44. Install the heat shield.
  45. Tighten
    Tighten the 3 bolts to 8 N·m (70 lb in).

    Important: Be careful of the wiring harness bracket.

  46. Install the wiring harness plug of the catalytic converter control oxygen sensor.
  47. • Install the wiring harness plug.
    • Clip in.
  48. Install the dipstick guide tube.
  49. • Use a new gasket.
    • Insert the guide tube into the oil pan.

    Tighten
    Tighten the bolt to 8 N·m (70 lb in).


    Object Number: 1948721  Size: SH
  50. Install the left-hand axle body.
  51. • Attach the new circlip (1) to the axle body.
    • Lubricate the teeth and the bearing points with engine oil.
    • Push the axle body into the transmission until the circlip engages.
  52. Install the right-hand axle body.
  53. • Attach the new circlip to the front frame.
    • Lubricate the teeth and the bearing points with engine oil.
    • Push the axle body into the transmission until the circlip engages.
  54. Place the cooling module in position.
  55. Connect the 3 wiring harness plugs.
  56. • Temperature sensor, radiator
    • Compressor
    • Manometric switch, condenser
    • Install the wiring harness.
  57. Install the refrigerant line to the compressor.
  58. Use a new gasket.

    Tighten
    Tighten the bolt to 20 N·m (15 lb ft).

  59. Install the lower radiator hose to the radiator.
  60. • Fasten the clamp.
    • Clip into the bracket.
  61. Install the upper radiator hose to the thermostat.
  62. Fasten the clamp.

  63. Install the coolant return hose, throttle valve pre-heating to coolant surge tank.
  64. • Fasten the clamp.
    • Clip into the bracket.
  65. Inspect and correct the transmission fluid level. Refer to Front Wheel Drive Shaft Seal Replacement .