GM Service Manual Online
For 1990-2009 cars only

Special Tools

    • KM-113-2 Bracket
    • KM-308 Remover/Installer
    • KM-446 Installer Drift
    • KM-447 Remover/Installer
    • KM-454-B Remover/Installer
    • KM-473 Sleeve
    • KM-523 Remover/Installer
    • KM-552 Fixture
    • KM-982 Mount
    • KM-6037 Adapter
    • KM-6115 Bracket for Clutch Housing
    • KM-6155 Guide Pins
    • KM-6157 Assembly Sleeve
    • KM-6336 Installer
    • KM-6337 Installer
    • KM-6338 Installer
    • KM-6339 Installer
    • MKM-536-A Friction Coefficient Meter

    Object Number: 1948641  Size: SH
  1. Attach new transmission housing to KM-6115 .
  2. Fit roller bearing (3) for main shaft.
  3. Install roller bearing flush in transmission housing with KM-454-B -3 (5) and KM-454-B -4 (4).

    Important: Needle bearing side with writing points to transmission.

  4. Fit needle bearing (2) for drive shaft.
  5. Install needle bearing flush in transmission housing with KM-454-B -2 (6) and KM-454-B -4 (1).


    Object Number: 1937583  Size: MF
  6. Insert differential into transmission from below.
  7. Important: Align bearing race with marking previously made.

  8. Install bearing race with KM-447  (2).
  9. Important: The connection must be oil-tight.

  10. Coat thread (arrow) and new O-ring (1) with multi-purpose grease.

  11. Object Number: 1948668  Size: SH
  12. Check clearance between tapered roller bearing and differential housing (external LU).
  13. Important: Adjust bearing pre-tension by screwing in bearing race.

  14. Check breakaway torque with MKM-536-A  (1) and KM-6037  (2).
  15. Important: Adhere to specified breakaway torques.

  16. Test rpm 1 revolution per second.
  17. • Re-use all the dismantled parts. Adjust to marking.
    • Re-use bearing, replacement of bearing race, bearing flange, differential or transmission housing.

    Breakaway Torque
    60...100 Ncm

    • Bearing as new part

    Breakaway Torque
    150...210 Ncm

  18. Clean thread for retaining plate bolt in transmission housing.
  19. Notice: Refer to Fastener Notice in the Preface section.

    Important: Insert bolt with locking compound.

  20. Attach retaining plate for bearing ring.
  21. Re-cut thread.
  22. Tighten
    Tighten bolt 9 N·m (80 lb in).


    Object Number: 1948677  Size: LH

    Important: Note seating and condition of the O-ring (2). Damage to or absence of the O-ring leads to leaks.

  23. Install fastening sleeve for pressure line (1). The lug (arrow) on the sleeve must sit in the groove in the clutch housing.
  24. Engage pressure line in fastening sleeve.

  25. Object Number: 1941757  Size: SH
  26. Clean 3x thread (1) in transmission.

  27. Object Number: 1948704  Size: SH
  28. Install central release (1).
  29. • Attach assembly aid MTA KM-6157  (3) to drive shaft (2), so that the seal ring (arrow) is not damaged
    • Lightly coat seal ring in central release with transmission fluid.
    • Preassemble 3x bolt evenly in contact with the flange. Use new bolts.

       Important: It is essential to avoid pulling the central release at an angle.

    • Tighten 3x bolt

    Tighten
    Tighten bolt to 5 N·m (44 lb in)


    Object Number: 1941759  Size: SH
  30. Attach pressure line (1).
  31. Tighten
    Tighten retaining nut 14 N·m (10 lb ft).


    Object Number: 1941052  Size: LF
  32. Lubricate rotating parts on their bearing, running, seating, and pressure surfaces using transmission fluid.
  33. Install bearing for main and drive shafts.
  34. • Press in 2x bearings using KM-523 -1 (1) and KM-6336  (2)
    • Fit 2x retaining rings (3) -- check retaining ring for proper seating.

    Object Number: 1935986  Size: LF

    Important: Check shaft for proper seating.

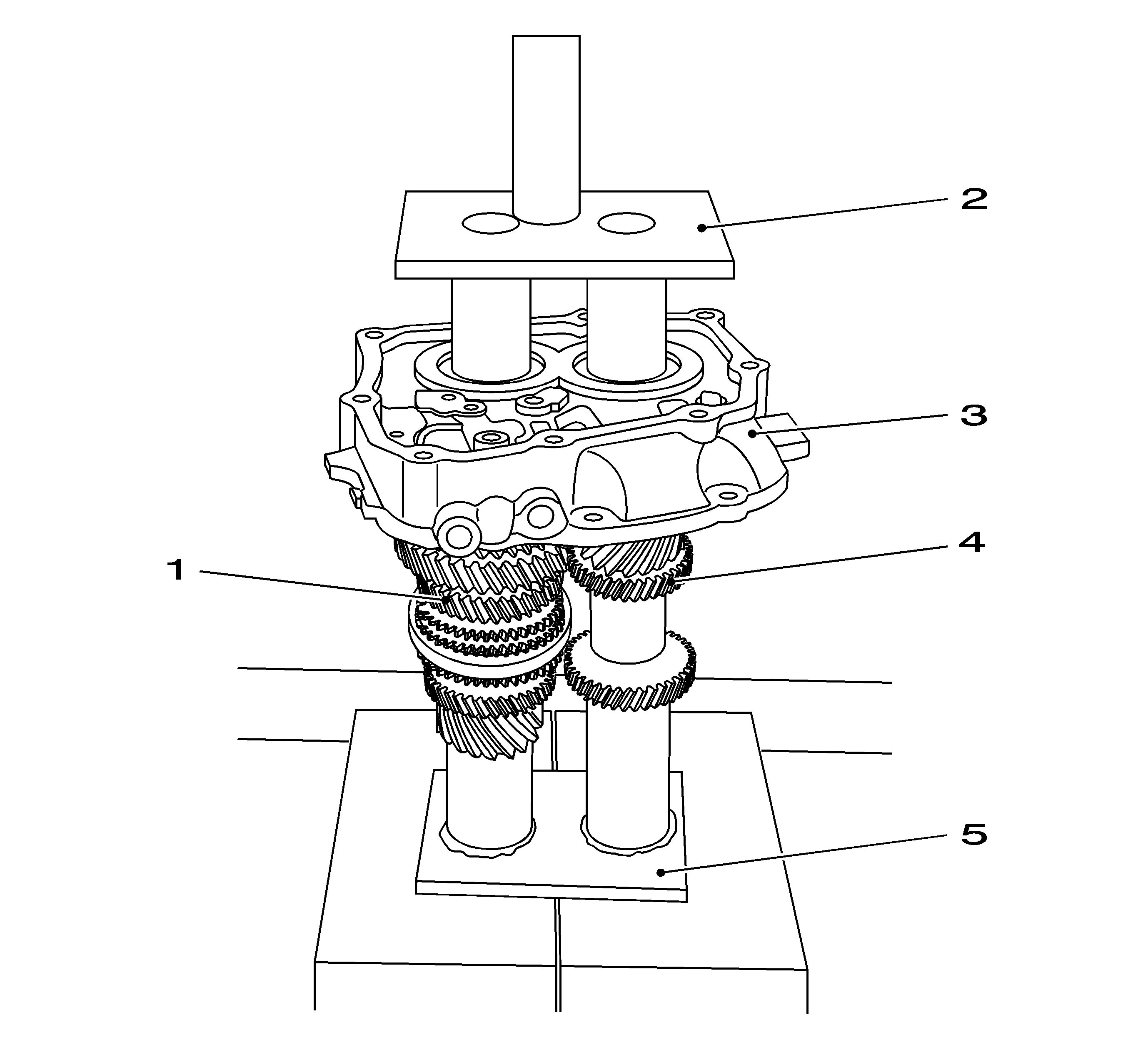
  35. Fit main and drive shafts.
  36. • Place main shaft (1) and drive shaft (4) on KM-6337  (5)
    • Place end shield (3) on main shaft and drive shaft and press on with KM-6338  (2)

    Object Number: 1941057  Size: LF
  37. Fit 5th gear bearing sleeve (1).
  38. • Locate end shield on KM-6337  (3)
    • Press bearing sleeve on main shaft using KM-6339  (2)

    Object Number: 1941055  Size: LF

    Important: Note installation position.

  39. Fit reverse gear axle (1).
  40. • Locate reverse idler on axle -- note installation position, shift fork groove to top
    • Press reverse gear axle with inserted lock ball (arrow) to stop in end shield

    Object Number: 1941604  Size: LF
  41. Attach end shield to KM-552  (2) .
  42. Attach end shield to KM-113-2  (1) using KM-552  (2) .

  43. Object Number: 1948361  Size: LF
  44. Fit locking pin (5). Insert 3rd/4th gear and reverse gear locking pins.
  45. Important: To relieve pressure on gearshift rod guides in end shield, support gearshift rods with wooden wedge (1) when securing with pin.

  46. Fit reverse gear shift fork.
  47. • Insert reverse gear shift fork (6) and gearshift rod
    • Insert new roll pin using KM-308  (arrow) -- allow new roll pin to protrude approximately 2 mm (0.08 in)

    Object Number: 1941039  Size: LF

    Important: To relieve pressure on gearshift rod guides in end shield, support gearshift rods with wooden wedge (2) when securing with pin.

  48. Fit 1st/2nd gear shift fork.
  49. • Insert 1st/2nd gear shift fork (4) and gearshift rod (1)
    • Insert new roll pin using KM-308  (3) -- allow new roll pin to protrude approximately 2 mm (0.08 in)

    Object Number: 1948378  Size: SH
  50. Insert 5th gear (4) shift driver.
  51. Important: To relieve pressure on gearshift rod guides in end shield, support gearshift rods with wooden wedge when securing with pin.

  52. Fit 3rd/4th gear shift fork.
  53. • Insert 3rd/4th gear shift fork (2) and gearshift rod (1)
    • Insert new roll pin using KM-308  (3) -- allow roll pin to protrude approximately 2 mm (0.08 in)
  54. Fit locking plugs.
  55. Install 4x locking plugs (5-7) -- drive to stop with plastic hammer or soft metal drift.

  56. Bring gear shift fork into neutral speed position.

  57. Object Number: 1948379  Size: SH
  58. Engage gear 3x.
  59. • Engage 2nd gear
    • Engage 3rd gear
    • Engage 5th gear
  60. Attach bridge (2) for locking bolt on end shield.
  61. Important: Coat bolts with locking compound

  62. Screw in 2x new bolt.
  63. Move gearshift fork 1st/2nd gear into neutral.
  64. Fasten 2x bolt for bridge.
  65. Tighten
    Tighten 2x bolt for bridge 7 N·m (62 lb ft)

  66. Bring shift fork into neutral position.
  67. Attach bearing support (4) to end shield with pawl (3).
  68. Important: Coat bolts with locking compound.

  69. Tighten 2x bolt.
  70. Tighten
    Tighten 2x bolt 9 N·m (80 lb ft).


    Object Number: 1941063  Size: LF

    Important: Note installation direction. Long gear hub points to end shield.

  71. Install 5th gear (driven) (2).
  72. • Insert end shield with main and drive shafts in KM-6337  (3)
    • Press on 5th gear using KM-473  (1)

       Important: Retaining ring must engage completely.

    • fit new retaining ring
  73. Fit 5th gear (5) (driven).
  74.    Important: Ensure correct seating of slotted needle bearings.

    • Coat needle bearings (6) with transmission fluid and place on main shaft
    • Locate 5th gear and 5th gear synchronizer ring on main shaft

    Object Number: 1941065  Size: LF
  75. Press on 5th gear synchro body assembly.
  76. • Insert end shield in KM-6337

       Important: Synchronizer ring lugs must be aligned with synchro body grooves.

    • Place synchro body assembly (1) on main shaft
    • Press synchro body in KM-473 on to main shaft

       Important: Retaining ring must engage completely

    • fit new retaining ring
  77. Fit bearing support with rocker arm.
  78. • Insert 2x crosshead shoes (arrow) in 5th gear shift fork (3)
    • Insert bearing support with rocker arm in end shield
    • Insert 2x bolts with locking compound
    • Tighten 2x bolt

    Tighten
    Tighten 2x bolt 22 N·m (16 lb ft)


    Object Number: 1948381  Size: LF
  79. Install friction washer and magnet.
  80. • Fit friction washer (arrow) on axle, reverse gear wheel, with grease
    • Insert magnet with grease

            Important: Before installing end shield, check following items for position and seating:

    40.1. 3rd/4th gear shift fork
    40.2. 3rd/4th gear shift rod
    40.3. 5th gear shift driver
    40.4. 1st/2nd gear shift rod
    40.5. Lock pin for gear stop
    40.6. 1st/2nd gear shift fork
    40.7. Reverse gear shift fork
    40.8. Reverse gear shift rod
  81. Detach end shield from KM-113-2 . Detach end shield from KM-552 .

  82. Object Number: 1948702  Size: SH
  83. Attach KM-6155 to transmission.
  84. Stick new end shield gasket to transmission with roller bearing grease.
  85. Important: Check that magnet (1) and friction washer (2) are correctly seated.

  86. Install end shield (4).
  87. • Carefully insert end shield into transmission housing
    • Use new bolts

    Tighten
    Tighten 4x bolt (arrows) 22 N·m (16 lb ft)

  88. Unscrew KM-6155  (3).

  89. Object Number: 1935876  Size: SH

    Important: Note close tolerance bolts.

  90. Attach end shield cover.
  91. • Attach with new gasket to transmission housing
    • Tighten 4x bolt M7

    Tighten
    Tighten 4x bolt M7 15 N·m (11 lb ft)

    • Tighten 5x bolt M8

    Tighten
    Tighten 5x bolt M8 20 N·m (15 lb ft)


    Object Number: 1940666  Size: LH

    Important: Coat seal ring with grease.

  92. Drive new seal ring with matching sleeve (1) flush into housing.
  93. Push gearshift rod into gearbox cover and gearshift finger.
  94. Important: Allow roll pin to protrude approximately 2 mm (0.0787 in)

  95. Drive new roll pin into gearshift finger and gearshift rod.
  96. Important: Gearshift finger must sit in gearbox intermediate lever.

  97. Insert intermediate gearshift lever into gearbox cover.
  98. Place washer (5), spring (4) and sleeve (3) on gearshift lever shaft.
  99. Fit new retaining ring (2).


    Object Number: 1940663  Size: LH
  100. Attach gearbox cover to KM-982 .
  101. Important: Guide bolt must sit in connecting link.

  102. Drive guide bolt for connecting link (2) in gearbox cover.
  103. Important: Do not damage engaging sleeve.

  104. Drive engaging sleeve for intermediate shaft (1) with matching sleeve (3) into gearbox cover.
  105. Detach gearbox cover from KM-982 .

  106. Object Number: 1940628  Size: LH
  107. Attach gearbox cover (1) to transmission.
  108. • Cement new gasket to transmission housing with grease

       Important: Adjusting pin must sit in adjusting bore and lock the gearbox.

    • Place gearbox cover on transmission
    • Tighten 4x bolt

    Tighten
    Tighten 4x bolt 15 N·m (11 lb ft)

    • Draw adjusting pin (2) out of adjusting bore

    Object Number: 1935785  Size: SH

    Important: Use new seal ring.

  109. Fit reversing lamp switch (1).
  110. Tighten reversing lamp switch (1).

    Tighten
    Tighten reversing lamp switch 20 N·m (15 lb ft)


    Object Number: 1935822  Size: SH
  111. Install new axle shaft seal ring.
  112. • Coat axle shaft seal ring with transmission fluid.
    • Install axle shaft seal ring flush in the transmission with KM-446 .

    Object Number: 1941059  Size: MF
  113. Install left engine damping block.
  114. Tighten
    Tighten 3x bolt 55 N·m (41 lb ft).

  115. Detach transmission from KM-113-2  (1) using KM-6115  (2).
  116. Detach transmission from KM-6115 .