GM Service Manual Online
For 1990-2009 cars only
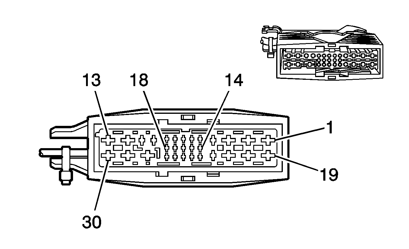
Connector 1: Fuse Block - Underhood - Top View
Connector 2: Fuse Block - Underhood - Bottom View
Connector 3: Fuse Block Underhood X1
Connector 4: Fuse Block Underhood X2
Connector 5: Fuse Block-Underhood X3
Connector 6: Fuse Block - Auxiliary - Top View
Connector 7: Fuse Block - Auxiliary
Connector 8: Fuse Block - Rear - Top View
Connector 9: Fuse Block - Rear - X1
Connector 10: Fuse Block - Rear - X2
Connector 11: Fuse Block - Rear X3
Connector 12: Fuse Block - Rear X4
Connector 13: Fuse Block - Rear X5
Connector 14: Fuse Block - Rear -X6

Fuse Block - Underhood - Top View


Object Number: 2043247  Size: LF

Fuse Block - Underhood - Top View Usage

No.

Fuse

Rating

Description

1

F1

20A

Electronic Brake Control Module (EBCM)

2

F2

30A

Electronic Brake Control Module (EBCM)

3

--

--

Not Used

4

F4

30A

K7 Relay, For Climate Control System Ignition Voltage

5

F5

30A

K1 Relay, For Engine Cooling Fan (MNF with C60)

6

F6

40A

K2 Relay, and K10 Relay, For Engine Cooling Fans (MNF with C41 or M25)

20A

K2 Relay, and K10 Relay, For Engine Cooling Fans (MNF with C60)

7

F7

10A

Fuse Block - Underhood

8

F8

15A

Fuse Block - Underhood

9

--

--

Not Used

10

F10

7.5A

Door Unlock Relay, and Door Lock Relay

11

F11

20A

Not Used

12

F12

7.5A

Not Used

13

F13

15A

K4 Relay, For Fog Lights

14

F14

30A

Windshield Wiper Motor

15

F15

30A

Windshield Wiper Motor

16

F16

5A

Brake Pedal Position Sensor, Electronic Brake Control Module (EBCM), and Fuse Block - Rear

17

F17

25A

K8 Relay, For Brake Booster Pump Motor

18

F18

25A

K9 Relay, For Starter Motor

19

--

--

Not Used

20

F20

10A

K11 Relay, For A/C Compressor Clutch

21

F21

20A

Engine Control Module (ECM)

22

F22

7.5A

Engine Control Module (ECM)

23

--

--

Not Used

24

F24

15A

K13 Relay, For Fuel Pump and Fuel Injectors

25

--

--

Not Used

26

F26

10A

Camshaft Position (CMP) Actuator Solenoid Valve - Exhaust, Camshaft Position (CMP) Actuator Solenoid Valve - Intake, Evaporative Emission (EVAP) Canister Purge Solenoid Valve, Evaporative Emission (EVAP) Canister Vent Solenoid Valve, Heated Oxygen Sensor (HO2S) 1, Heated Oxygen Sensor (HO2S) 2, Intake Manifold Tuning (IMT) Solenoid Valve, and Mass Air Flow (MAF)/Intake Air Temperature (IAT) Sensor

27

F27

5A

Power Steering Control Module (PSCM)

28

F28

5A

Transmission Control Module (TCM)

29

F29

7.5A

Automatic Transmission Shift Lever Position Indicator, K93 Relay, Park/Neutral Position (PNP) Switch, Transmission Control Module (TCM), and Winter Mode Switch

30

F30

10A

Engine Control Module (ECM), and Ignition Control Module (ICM)

31

--

--

Not Used

32

F32

5A

K11 Relay (C60), and Stop Lamp Switch

33

--

--

Not Used

34

F34

7.5A

Steering Column Control Module

35

F35

20A

Radio

36

F36

7.5A

Driver Information Center (DIC), Vehicle Communication Interface Module (VCIM) - Left, and Vehicle Communication Interface Module (VCIM) - Right

K1

K1 Relay

--

K10 Relay, and Engine Cooling Fan - Left

K2

K2 Relay

--

Engine Cooling Fan - Right

K3

--

--

Not Used

K4

K4 Relay

--

Fog Lamp - Left Front, and Fog Lamp - Right Front

K5

K5 Relay

--

F14, and F15 Fuses, For Windshield Wiper Motor

K6

K6 Relay

--

K5 Relay, For Windhield Wiper Motor

K7

K7 Relay

--

HVAC Control Module

K8

K8 Relay

--

Brake Booster Pump Motor

K9

K9 Relay

--

Starter

K10

K10 Relay

--

Engine Cooling Fan (MNF with C41 or M25) Engine Cooling Fan - Left (MNF with C60)

K11

K11 Relay

--

A/C Compressor Clutch

K12

K12 Relay

--

F21, F26, and F32 Fuses, For Engine Controls

K13

K13 Relay

--

Fuel Injector 1, Fuel Injector 2, Fuel Injector 3, Fuel Injector 4, and Fuel Pump and Sender Assembly

K14

K14 Relay

--

F24 Fuse for K13 Relay, F27 Fuse for Power Steering, F29 Fuse for Automatic Transmission, and F30 Fuse for Engine Controls

Fuse Block - Underhood - Bottom View


Object Number: 2043250  Size: LF

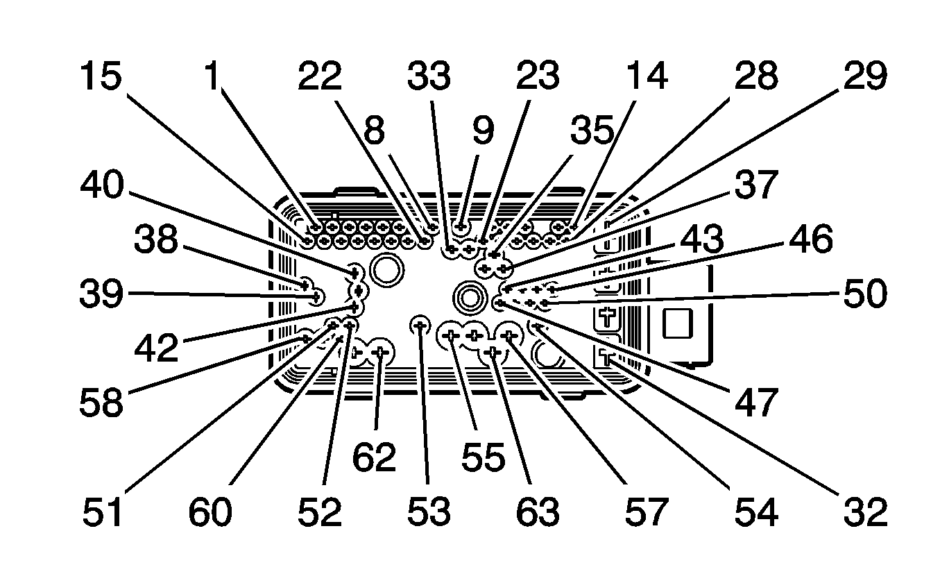
Fuse Block Underhood X1


Object Number: 2043266  Size: CH

Connector Part Information

  • OEM: 3 043 18 01
  • Service: Service by Harness - See Part Catalog
  • Description: 62-Way F (BK)

Terminal Part Information

  • Terminal/Tray: Service by Harness - See Part Catalog
  • Release Tool/Test Probe: N/A

Fuse Block Underhood X1

Pin

Wire Color

Circuit No.

Function

1

--

--

Not Used

2

6 RD/YE

409

Cooling Fan Motor Supply Voltage 1 (MNF with C60))

3

6 RD/WH

532

Cooling Fan Motor Supply Voltage 2

4

6 BN/GN

504

Low Reference (MNF with C60)

4 WH/BK

2366

Cooling Fan Control Relay Speed Signal (MNF with C41 or M25)

5

6 BN

1250

Ground (MNF with C60)

6 RD/YE

409

Cooling Fan Motor Supply Voltage 1 (MNF with C41 or M25)

6

--

--

Not Used

7

0.5 BK/WH

1314

Left Front Turn Signal Lamp Supply Voltage

8

0.5 GY/BK

2114

Left Turn Signal Lamp Supply Voltage

9

0.5 GY/BK

709

Left Park Lamp Supply Voltage

10

0.5 BN/BK

5514

Low Reference (C60)

11

--

--

Not Used

12

0.5 BK/GN

1315

Right Front Turn Signal Lamp Supply Voltage

13

0.5 GY/GN

2115

Right Turn Signal Lamp Supply Voltage

14

0.5 GY/RD

309

Right Park Lamp Supply Voltage

15

--

--

Not Used

16

0.5 GN/WH

99

Windshield Washer Fluid Level Sensor Signal

17-18

--

--

Not Used

19

4 WH/BK

2366

Cooling Fan Control Relay Speed Signal (MNF with C60)

20

4 WH/BK

2366

Cooling Fan Control Relay Speed Signal (MNF with C60)

21

4 WH/BK

2366

Cooling Fan Control Relay Speed Signal (MNF with C41 or M25)

22

--

--

Not Used

23

--

--

Not Used

24

1 YE

712

Left Headlamp Low Beam Supply Voltage

25

1 WH

311

Right Headlamp High Beam Supply Voltage

26-28

--

--

Not Used

29

1 YE

312

Right Headlamp Low Beam Supply Voltage

30

0.5 GN

380

A/C Refrigerant Pressure Sensor Signal (C60)

31

1 WH

711

Left Headlamp High Beam Supply Voltage

32

1.5 BN/WH

2026

Low Note Horn Enable Signal

33

--

--

Not Used

34

--

--

Not Used

35-36

--

--

Not Used

37

0.5 BK/WH

2700

5 Volt Reference (C60)

38-41

--

--

Not Used

42

1 BK/RD

228

Windshield Washer Pump Control

43

1 BK/VT

392

Rear Window Washer Pump Control

44

1.5 BK/WH

59

A/C Compressor Clutch Supply Voltage (C60)

45

0.5 BU

636

Outside Ambient Air Temperature Sensor Signal

46

--

--

Not Used

47

2.5 BN

1150

Ground

48

1.5 BN/GY

5061

Left Front Fog Lamp Supply Voltage (T96)

49

1.5 BN/GN

5062

Right Front Fog Lamp Supply Voltage (T96)

50

--

--

Not Used

51

0.5 BU

636

Outside Ambient Air Temperature Sensor Signal

52

2.5 RD

342

Battery Positive Voltage

53

0.5 BU/BN

61

Low Reference

54-59

--

--

Not Used

60

1 BN

1150

Ground

61

--

--

Not Used

62

0.5 BU/BN

61

Low Reference

Fuse Block Underhood X2


Object Number: 2043267  Size: CH

Connector Part Information

  • OEM: 3 043 17 01
  • Service: Service by Harness - See Part Catalog
  • Description: 63-Way F (BK)

Terminal Part Information

  • Terminal/Tray: Service by Harness - See Part Catalog
  • Release Tool/Test Probe: N/A

Fuse Block Underhood X2

Pin

Wire Color

Circuit No.

Function

1

0.5 BK/BN

848

ABS Brake Switch Signal

2

--

--

Not Used

3

0.5 WH/GN

1162

Accelerator Pedal Position Signal 2

4

0.5 BK/RD

1164

5 Volt Reference 1

5

0.5 BN/RD

1271

Low Reference

6

0.5 BU/WH

890

Fuel Tank Pressure Sensor Signal

7

0.5 BK/GN

2759

Low Reference

8

0.5 BK/BN

474

5 Volt Reference 1

9

--

--

Not Used

10

0.5 BN/GN

68

Low Coolant Level Indicator Control

11

0.5 GN

5060

Low Speed GMLAN Serial Data

12

--

--

Not Used

13

0.5 BN/GN

196

Windshield Wiper Motor Park Switch Signal

14

0.75 BK

3

Run/Crank Ignition 1 Voltage

15

0.5 GY

379

Cruise Control Clutch Pedal Position Switch Signal

16

0.5 BN/GY

17

Stop Lamp Switch Signal

17

0.5 BK/YE

1274

5 Volt Reference 2

18

0.5 BN/WH

1272

Low Reference

19

0.5 WH/YE

1161

Accelerator Pedal Position Signal 1

20

0.5 GN/BN

5266

Ambient Air Pressure Sensor Signal

21

0.5 GN/BK

6014

Low Reference

22

0.5 BK/YE

2709

5 Volt Reference

23

0.5 VT

7306

Emergency Door Unlock Control

24

0.5 GN

5060

Low Speed GMLAN Serial Data

25

--

--

Not Used

26

0.5 BU/WH

225

Generator Turn On Signal

27

--

--

Not Used

28

0.5 BN/RD

333

Brake Fluid Level Sensor Signal

29

4 RD

3240

Battery Positive Voltage

30

4 RD

3340

Battery Positive Voltage

31

--

--

Not Used

32

4 BK

1241

Run Ignition 3 Voltage

33

0.5 RD

1202

Battery Positive Voltage (FX3)

34

0.5 RD

842

Battery Positive Voltage

35

--

--

Not Used

36

0.5 RD

302

Battery Positive Voltage

37-39

--

--

Not Used

40

0.5 BK

639

Run/Crank Ignition 1 Voltage

41

--

--

Not Used

42

0.75 RD

1540

Battery Positive Voltage

43

0.5 WH

2501

High Speed GMLAN Serial Data (-)

44

0.5 WH

2501

High Speed GMLAN Serial Data (-)

45

0.5 GN

2500

High Speed GMLAN Serial Data (+)

46

--

--

Not Used

47

0.5 WH

2501

High Speed GMLAN Serial Data (-)

48

--

--

Not Used

49

0.5 GN

2500

High Speed GMLAN Serial Data (+)

50

0.5 GN

2500

High Speed GMLAN Serial Data (+)

51

--

--

Not Used

52

0.5 BN/BK

459

A/C Compressor Clutch Relay Control (C60)

53

0.5 BN/BK

459

A/C Compressor Clutch Relay Control (C60)

54

0.5 GN

481

Rain Sense Signal 1

55

2.5 WH

92

Windshield Wiper Motor High Speed Control

56

1.5 RD/BU

120

Fuel Pump Supply Voltage

57

2.5 YE

95

Windshield Wiper Motor Low Speed Control

58-59

--

--

Not Used

60

0.5 RD/BU

5293

Powertrain Main Relay Fused Supply 4

61

2.5 RD

3040

Battery Positive Voltage

62

0.75 RD

3140

Battery Positive Voltage

63

--

--

Not Used

Fuse Block-Underhood X3


Object Number: 2043268  Size: CH

Connector Part Information

  • OEM: 30431901
  • Service: Service by Harness - See Part Catalog
  • Description: 47-Way F (BK)

Terminal Part Information

  • Terminal/Tray: Service by Harness - See Part Catalog
  • Release Tool/Test Probe: N/A

Fuse Block-Underhood X3

Pin

Wire Color

Circuit No.

Function

1

0.5 BU/BK

1935

Clutch Start Switch Signal (M25)

0.5 BU/BK

1039

K9 Relay Control (MNF)

2

0.5 RD/WH

5267

Turbo Cooling Fan Relay Control

3

0.5 RD/WH

473

High Speed Cooling Fan Relay Control (MNF with C41 or M25)

0.75 RD/WH

335

Low Speed Cooling Fan Relay Control (MNF with C60)

4

2.5 BK/RD

6

Starter Solenoid Crank Voltage

5

--

--

Not Used

6

0.5 RD/WH

473

High Speed Cooling Fan Relay Control (MNF with C60)

0.5 RD/WH

335

Low Speed Cooling Fan Relay Control (MNF with C41 or M25)

7

0.5 BN/BU

5514

Low Reference

8

0.5 YE/RD

203

A/C High Pressure Switch Signal

9

--

--

Not Used

10

0.5 BK/WH

2700

5-Volt Reserence

11

0.5 BU

2500

High Speed GMLAN Serial Data (+)

12

0.5 BN/GN

636

Outside Ambient Air Temperature Sensor Signal

13

0.5 BN/GN

465

Fuel Pump Primary Relay Control

14

0.5 BN/VT

729

A/C Compressor Clutch Solenoid Control

15

0.5 GN

2501

High Speed GMLAN Serial Data (-)

16

0.5 BN/YE

5069

Engine Main Relay Coil Control

17-18

--

--

Not Used

19

0.75 RD

3740

Battery Positive Voltage (MNF)

20

0.5 RD

3540

Battery Positive Voltage

21

--

--

Not Used

22

1.5 BK

39

Run/Crank Ignition 1 Voltage

23

1.5 BK

539

Run/Crank Ignition 1 Voltage (MNF)

24

--

--

Not Used

25

0.5 BN/VT

1

Brake Booster Vacuum Pump Control

26

--

--

Not Used

27

0.5 BK/YE

379

Cruise Control Clutch Pedal Position Switch Signal

28

2.5 RD

5290

Powertrain Main Relay Fused Supply 1

29

2.5 RD/BK

5291

Powertrain Main Relay Fused Supply 2

30

0.5 BN/VT

61

Low Reference

31

0.75 BK/WH

5007

Reverse Switch Signal

32

1.5 BN/BK

260

Fuel Injection Control

33

0.5 BK/YE

848

ABS Brake Switch Signal

34

--

--

Not Used

35

0.5 BK/YE

1162

Accelerator Pedal Position Signal 2

36

0.5 BK/WH

1164

5 Volt Reference 1

37

0.5 BN

1271

Low Reference 1

38

0.5 BU/YE

890

Fuel Tank Pressure Sensor Signal

39

0.5 BN/YE

2759

Low Reference

40

0.5 BK/WH

474

5-Volt Reference

41

0.5 BK/YE

340

Battery Positive Voltage

42

0.5 BK/WH

1274

5 Volt Reference 2

43

0.5 BN

1272

Low Reference 2

44

0.5 BK/YE

1161

Accelerator Pedal Position Signal 1

45

0.5 BU

5266

Ambient Air Pressure Sensor Signal

46

0.5 BN/BU

6014

Low Reference

47

0.5 BK/WH

2709

5 Volt Reference

Fuse Block - Auxiliary - Top View


Object Number: 2043254  Size: LF

Fuse Block - Auxiliary - Top View Usage

No.

Fuse

Rating

Description

--

FUSE BLOCK - UNDERHOOD

200A

Fuse Block - Underhood

--

P/S CONT

80A

Power Steering Control Module (PSCM)

--

HEATER

100A

Not Used

--

REAR ZONE MODULE SUPPLY 2

80A

Fuse Block - Rear

--

REAR ZONE MODULE SUPPLY 1

80A

Fuse Block - Rear

Fuse Block - Auxiliary


Object Number: 2043270  Size: CH

Connector Part Information

  • OEM: 968464-7
  • Service: 9199210
  • Description: 2-Way F (WH)

Terminal Part Information

  • Terminal/Tray: Service by Connector Assembly - 9199210
  • Release Tool/Test Probe: N/A

Fuse Block - Auxiliary

Pin

Wire Color

Circuit No.

Function

1

10 RD

42

Battery Positive Voltage

2

10 RD

42

Battery Positive Voltage

Fuse Block - Rear - Top View


Object Number: 2043256  Size: LF

Fuse Block - Rear - Top View Usage

No.

Fuse

Rating

Description

01

F1

25A

Window Motor - Driver, and Window Motor - Passenger

02

--

--

Not Used

03

F3

7.5A

Instrument Panel Cluster (IPC)

04

F4

5A

HVAC Control Module

05-10

--

--

Not Used

11

F11

25A

Rear Window Defogger Grid

12

F12

15A

Fuse Block - Rear and Rear Window Wiper Motor

13

--

--

Not Used

14

F14

7.5

HVAC Control Module

15

--

--

Not Used

16

F16

5A

Inflatable Restraint Front Passenger Presence System (PPS) Module

17

F17

5A

Inside Rearview Mirror (ISRVM), Tire Pressure Module, and Windshield Outside Moisture Sensor

18

F18

5A

Cruise Control Clutch Pedal Release Switch (M25), Headlamp and Panel Dimmer Switch, Instrument Panel Cluster (IPC), and Multifunction Switch - I/P

19-20

--

--

Not Used

21

F21

7.5A

Outside Rearview Mirror - Driver, and Outside Rearview Mirror - Passenger

22

F22

20A

Sunroof Shade Module

23

F23

25A

Window Motor - Left Rear, and Window Motor - Right Rear

24

F24

7.5A

Data Link Connector (DLC)

25-28

--

--

Not Used

29

F29

15A

Cigar Lighter

30-33

--

--

Not Used

34

F34

25A

Sunroof Control Module

35-37

--

--

Not Used

38

F38

25A

Fuse Block - Rear

39

F39

15A

Heated Seat Control Module - Driver

40

F40

15A

Heated Seat Control Module - Passenger

41-44

--

--

Not Used

K1

--

--

Not Used

K2

K2 Relay

--

F11 and F21 Fuses

K3

K3 Relay

--

F12, F14, F16, F17, and F18 Fuses

K4

K4 Relay

--

F39 and F40 Fuses

Fuse Block - Rear - X1


Object Number: 2043271  Size: CH

Connector Part Information

  • OEM: 1452609-2
  • Service: Service by Harness - See Part Catalog
  • Description: 58-Way F (BK w/GN Lock)

Connector Part Information

  • OEM: 1452604-3 (A)
  • Service: Service by Harness - See Part Catalog
  • Description: 29-Way F (BK)

Terminal Part Information

  • Terminal/Tray: Service by Harness - See Part Catalog
  • Release Tool/Test Probe: N/A

Connector Part Information

  • OEM: 1452604-4 (B)
  • Service: Service by Harness - See Part Catalog
  • Description: 29-Way F (GY)

Terminal Part Information

  • Terminal/Tray: Service by Harness - See Part Catalog
  • Release Tool/Test Probe: N/A

Fuse Block - Rear - X1

Pin

Wire Color

Circuit No.

Function

A1-A3

--

--

Not Used

A4

0.5 BU/YE

5797

Rear Closure Handle Switch Open Signal

A5-A11

--

--

Not Used

A12

0.5 BK/YE

820

CHMSL Supply Voltage

A13-A15

--

--

Not Used

A16

0.5 WH

194

Door Unlock Control

A17

--

--

Not Used

A18

0.5 GY/GN

1255

Side Marker/License Supply Voltage Signal

A19-A21

--

--

Not Used

A22

1.5 BK

1939

Run/Crank Ignition 1 Voltage

A23-A27

--

--

Not Used

A28

0.5 BK/BU

1303

Lift Gate Ajar Switch Signal 1

A29

0.5 WH

194

Door Unlock Control

B1-B13

--

--

Not Used

B14

0.5 BK/YE

5221

Left Brake Lamp Supply Voltage

B15

0.5 BK/YE

5222

Right Brake Lamp Supply Voltage

B16

--

--

Not Used

B17

0.5 WH/BK

5219

Left Backup Lamp Supply Voltage

B18

0.5 BK/GN

1335

Right Rear Turn Signal Lamp Supply Voltage

B19

1.5 BU

393

Rear Window Wiper Motor Control

B20

--

--

Not Used

B21

0.75 BN/WH

5799

Lift Gate Open/Close Motor Close Control

B22

0.75 BU

6800

Fuel Door Lock/Unlock 1 Signal

B23

0.75 BU/BK

6801

Fuel Door Lock/Unlock 1 Reference

B24

0.5 GY/GN

1255

Side Marker/License Supply Voltage Signal

B25

0.5 WH/BK

5220

Right Backup Lamp Supply Voltage

B26

0.5 GY/GN

1255

Side Marker/License Supply Voltage Signal

B27

0.5 GY/GN

1255

Side Marker/License Supply Voltage Signal

B28

0.5 BK/WH

1334

Left Rear Turn Signal Lamp Supply Voltage

B29

0.5 GY/GN

737

Trunk Lamp Control (5 Door)

Fuse Block - Rear - X2


Object Number: 2043272  Size: CH

Connector Part Information

  • OEM: 1355892-1
  • Service: Service by Harness - See Part Catalog
  • Description: 4-Way F (GY)

Terminal Part Information

  • Terminal/Tray: Service by Harness - See Part Catalog
  • Release Tool/Test Probe: N/A

Fuse Block - Rear - X2

Pin

Wire Color

Circuit No.

Function

1-3

--

--

Not Used

4

2.5 BK

293

Rear Defog Element Supply Voltage

Fuse Block - Rear X3


Object Number: 2043273  Size: CH

Connector Part Information

  • OEM: 1452612-1
  • Service: Service by Harness - See Part Catalog
  • Description: 30-Way F 1.5, 2.8, 6.3 Timer Series, Sealed (BK w/BK Lock)

Terminal Part Information

  • Terminal/Tray: Service by Harness - See Part Catalog
  • Release Tool/Test Probe: N/A

Fuse Block - Rear X3

Pin

Wire Color

Circuit No.

Function

1-2

--

--

Not Used

3

1.5 RD

502

Battery Positive Voltage

4-10

--

--

Not Used

11

0.75 RD

1442

Battery Positive Voltage

12

2.5 RD

2340

Battery Positive Voltage (5 Door)

13

2.5 RD

2240

Battery Positive Voltage (5 Door)

14-24

--

--

Not Used

25

0.5 RD

1542

Battery Positive Voltage

26

--

--

Not Used

27

0.75 RD

1742

Battery Positive Voltage

28

--

--

Not Used

29

2.5 RD

2140

Battery Positive Voltage

30

2.5 RD

2040

Battery Positive Voltage

Fuse Block - Rear X4


Object Number: 2043274  Size: CH

Connector Part Information

  • OEM: 1452612-2
  • Service: Service by Harness - See Part Catalog
  • Description: 30-Way F (BK w/GY Lock)

Terminal Part Information

  • Terminal/Tray: Service by Harness - See Part Catalog
  • Release Tool/Test Probe: N/A

Fuse Block - Rear X4

Pin

Wire Color

Circuit No.

Function

1-3

--

--

Not Used

4

0.75 BK

839

Run/Crank Ignition 1 Voltage

5

--

--

Not Used

6

0.5 BK

1539

Run/Crank Ignition 1 Voltage

7

0.5 BK

139

Run/Crank Ignition 1 Voltage

8

0.5 BK

1039

Run/Crank Ignition 1 Voltage

9-10

--

--

Not Used

11

0.75 WH/BK

2267

Mirror Heating Element Supply Voltage

12

--

--

Not Used

13

2.5 RD

142

Battery Positive Voltage

14-17

--

--

Not Used

18

0.5 BN

2350

Ground

19

2.5 RD

140

Battery Positive Voltage (C3U)

20

--

--

Not Used

21

1.5 BK

1041

Run Ignition 3 Voltage (KA1)

22

1.5 BK

1341

Run Ignition 3 Voltage (KA1)

23-30

--

--

Not Used

Fuse Block - Rear X5


Object Number: 2043275  Size: CH

Connector Part Information

  • OEM: 1452609-3
  • Service: Service by Harness - See Part Catalog
  • Description: 58-Way F MQS Series (BK w/BU Lock)

Terminal Part Information

  • Terminal/Tray: Service by Harness - See Part Catalog
  • Release Tool/Test Probe: N/A

Connector Part Information

  • OEM: 1452602-2 (A)
  • Service: Service by Harness - See Part Catalog
  • Description: 29-Way F (BU)

Terminal Part Information

  • Terminal/Tray: Service by Harness - See Part Catalog
  • Release Tool/Test Probe: N/A

Connector Part Information

  • OEM: 1452602-1 (B)
  • Service: Service by Harness - See Part Catalog
  • Description: 29-Way F (BN)

Terminal Part Information

  • Terminal/Tray: Service by Harness - See Part Catalog
  • Release Tool/Test Probe: N/A

Fuse Block - Rear X5

Pin

Wire Color

Circuit No.

Function

A1

0.5 WH

194

Door Unlock Control

A2

--

--

Not Used

A3

0.5 BK/GN

1415

Right Front Turn Signal Switch Signal

A4

0.5 BK/WH

1414

Left Front Turn Signal Switch Signal

A5

--

--

Not Used

A6

0.5 BK

4

Accessory Voltage

A7

0.5 GY

157

Interior Lamp Control

A8-A9

--

--

Not Used

A10

0.5 BN/BK

5200

Power Window Comfort Close Signal

A11

0.5 BN/GN

109

Hood Ajar Switch Signal

A12-A18

--

--

Not Used

A19

0.5 RD/BU

1732

Electronic Control Unit 12 Volt Reference 3

A20

--

--

Not Used

A21

1.5 WH

194

Door Unlock Control

A22

--

--

Not Used

A23

1.5 BN

2350

Ground

A24-A26

--

--

Not Used

A27

0.5 GY

746

Right Front Door Ajar Switch Signal

A28

0.5 GY

747

Left Rear Door Ajar Switch Signal (5 Door)

A29

0.5 GY

748

Right Rear Door Ajar Switch Signal (5 Door)

B1

0.5 BN/RD

1134

Park Brake Switch Signal

B2

0.75 BK

3

Run/Crank Ignition 1 Voltage

B3

--

--

Not Used

B4

0.5 BN/GY

17

Stop Lamp Switch Signal

B5

0.5 BN/WH

28

Horn Relay Control

B6

0.5 RD

842

Battery Positive Voltage

B7

0.5 VT/BN

5968

Driver Door Lock Status Indicator Signal Ground

B8-B11

--

--

Not Used

B12

0.5 GY/GN

737

Trunk Lamp Control (3 Door)

B13

0.5 BN

2350

Ground

B14

--

--

Not Used

B15

0.5 WH/GY

49

Driver Door Ajar Switch Signal

B16-B20

--

--

Not Used

B21

1.5 RD

195

Door Lock Control

B22

0.5 BK/YE

1733

Electronic Control Unit 12 Volt Reference 2

B23-B25

--

--

Not Used

B26

0.5 GN

5060

Low Speed GMLAN Serial Data

B27

0.5 GN

5060

Low Speed GMLAN Serial Data

B28-B29

--

--

Not Used

Fuse Block - Rear -X6


Object Number: 2043276  Size: CH

Connector Part Information

  • OEM: 968424-3
  • Service: Service by Harness - See Part Catalog
  • Description: 2-Way F (WH)

Terminal Part Information

  • Terminal/Tray: Service by Harness - See Part Catalog
  • Release Tool/Test Probe: N/A

Fuse Block - Rear -X6

Pin

Wire Color

Circuit No.

Function

1

10 RD

42

Battery Positive Voltage

2

10 RD

42

Battery Positive Voltage