GM Service Manual Online
For 1990-2009 cars only

Removal Procedure


    Object Number: 1942388  Size: SH
  1. Remove the bench seat.
  2. • Unlock 2 front brackets (1).
    • Support the 2 bench seats from the rear bracket.
    • Push seat simultaneously backwards and upward.

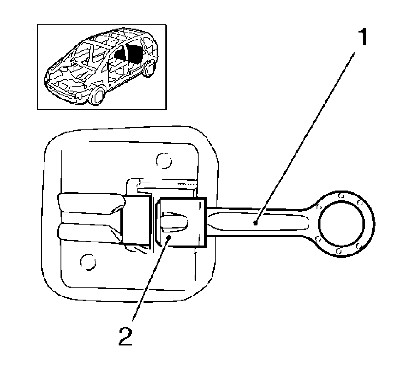
    Object Number: 1948134  Size: SH
  3. Remove the rear bench seat lock (1).
  4. Release clamp (2) and remove loop.

Installation Procedure

  1. Install the rear bench seat lock.
  2. Clip in lock.

  3. Install the rear seat.
  4. Insert the rear seat cushion and position.