GM Service Manual Online
For 1990-2009 cars only

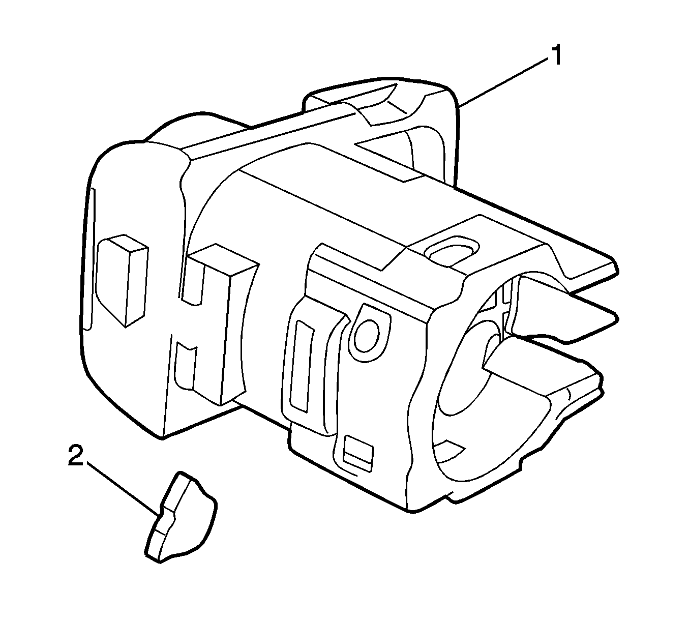
Door Lock Cylinder Coding and Assembly


    Object Number: 2035038  Size: SH
  1. Determine key code and cut sequence from the dealer world lookup information.
  2. Hold the lock cylinder (2) with the key insertion end to the left.
  3. Insert a tumbler spring (10) into the tumbler cavity before installing each tumbler (8).
  4. Important: Tumblers (8) are held in place with the lock cylinder sleeve (3). Tumblers (8) do not have a retention feature. As tumblers are installed, hold them in place with your fingers until the cylinder (2) is installed into the sleeve (3).

  5. Starting with the tumbler opening closest to the key insertion end, tumbler number 1, code the lock cylinder to match the cut sequence. The tumblers on the same side as tumbler number 1 are 1, 3, 5, and 7. Even number tumblers are installed into the opposite side of the lock cylinder. Code one side of the cylinder (2) at a time.
  6. To verify the cylinder (2) is coded properly, insert the key while holding the tumblers (8) in place. If cylinder is coded properly, the tumblers will be flush to the surface of the cylinder (2).
  7. Install the O-ring seal (11) onto the lock cylinder at the key insertion end.
  8. Apply grease to the O-ring seal (11), tumblers (8) and lock cylinder (2).

  9. Object Number: 2035026  Size: SH
  10. Install the coded lock cylinder (2) into the lock cylinder sleeve (3).
  11. Install the free wheeling coupling (5), aligning the tab with the roller (4) groove.
  12. Install the lever (6) such that it engages the free wheeling coupling.
  13. Important: The size of the drift punch used must be a 1/16 inch punch. Any other size will not work. Carefully tap the pin (7) in place and avoid hitting the pin (7) too hard.

  14. Using a 1/16 inch drift punch, install the roll pin (7) into the lever (6), tapping lightly with a small hammer to push the roll pin into place until it is flush with the lever.

  15. Object Number: 2035030  Size: SH
  16. Install the roller (4) into the roller groove so that the small end is toward the free wheeling coupling (5) tab.
  17. Apply grease to the outer surface of the lock cylinder sleeve (3).

  18. Object Number: 2035034  Size: SH
  19. With the key removed, install the greased lock cylinder assembly into the door lock cylinder housing (1).

  20. Object Number: 2035028  Size: SH
  21. Install the retention tab (9) into the door lock cylinder housing so it is flush to the housing.
  22. Peen the ends of the tab opening onto the tab (9), securing it into place.
  23. Insert the key and verify the lock cylinder assembly functions properly.
  24. Install the lock cylinder assembly into the vehicle.