GM Service Manual Online
For 1990-2009 cars only
Makes
🢒
Saturn
🢒
2008
🢒
Astra
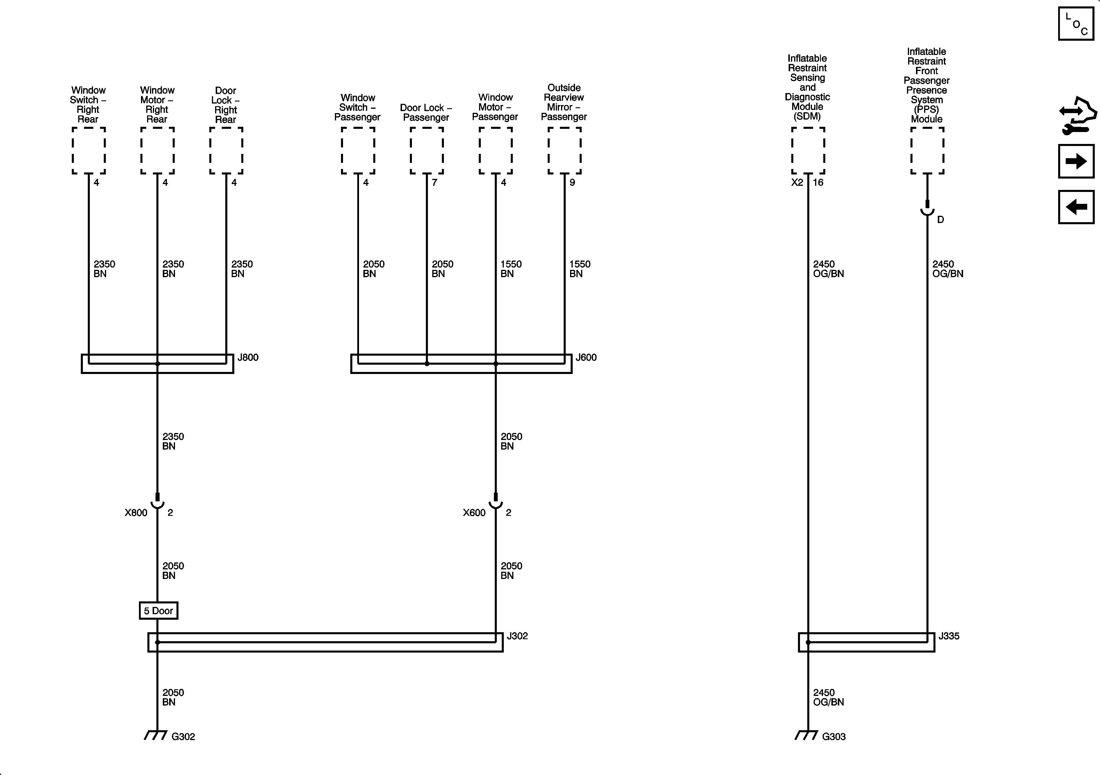
🢒 G302 and G303
G302 and G303
G302 and G303
Master Electrical Component List
Control Module References
G305
G203, G204, and G205