GM Service Manual Online
For 1990-2009 cars only

The equipment you will need is located in the rear storage area.

  1. Open the liftgate. See Liftgate.

  2. Object Number: 1872963  Size: G1
  3. Lift the floor cover to access the spare tire and tools.

  4. Object Number: 2003818  Size: G1
  5. Remove the foam pad. Turn the retainer counterclockwise to remove it.
  6. Remove the spare tire by pulling it up and out of the trunk.

  7. Object Number: 1872969  Size: G1
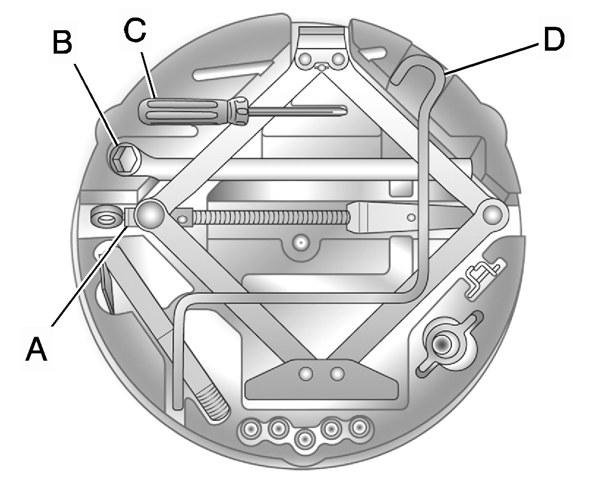
  8. The jack and tools are stored below the spare tire.
  9. The tools you will be using include the jack (A), wheel wrench (B), screwdriver (C), and jack handle (D).