GM Service Manual Online
For 1990-2009 cars only

Tools Required

    • J 41239-1A Cooler Line Seal Installer
    • J 45201 Cooler Line Seal Remover

Removal Procedure

  1. Place a drain pan or suitable container under the vehicle.
  2. Raise and support the vehicle. Refer to Lifting and Jacking the Vehicle in General Information.
  3. Clean the cooler line connection points at the transmission.

  4. Object Number: 868017  Size: SH
  5. Remove the transaxle cooler line assembly nut from the transaxle.
  6. Disconnect the cooler lines from the transaxle.
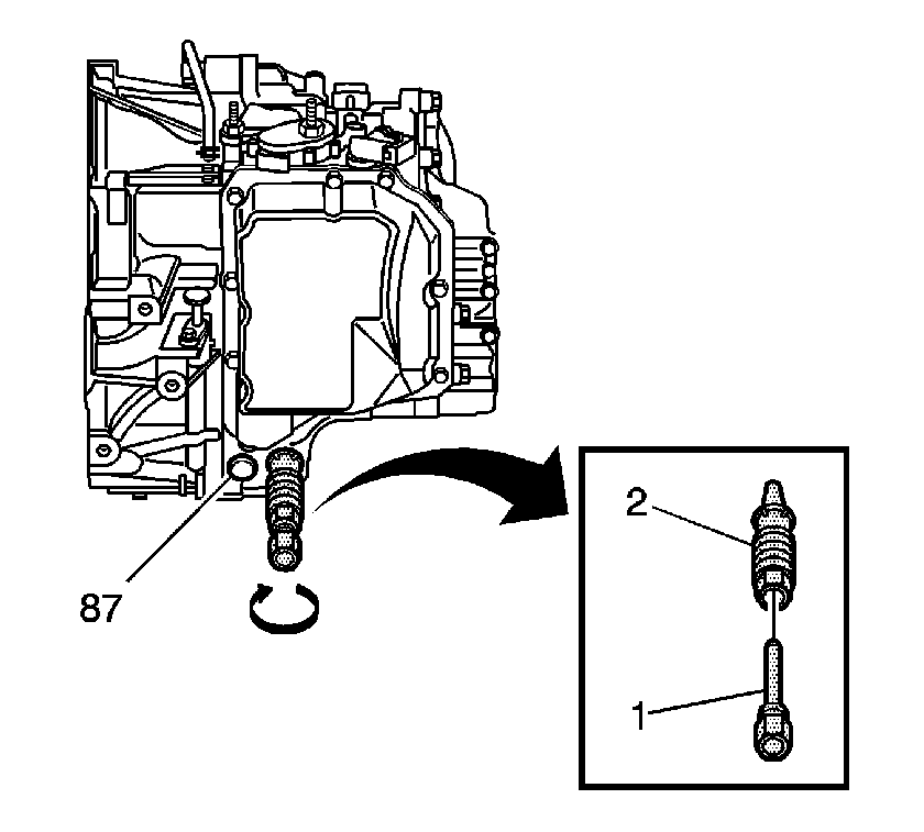
  7. Important: Ensure that theJ 45201 is fully seated into the transaxle seal bore.


    Object Number: 889743  Size: SH
  8. Insert the J 45201 collet (2) into the cooler line seal.
  9. Insert the J 45201 forcing screw (1) into the collet (2).
  10. Tighten the forcing screw (1) until snug.

  11. Object Number: 889744  Size: SH
  12. Thread the J 45201 collar (1) onto the collet (3).

  13. Object Number: 889748  Size: SH
  14. Turn the collar clockwise in order to remove the seal (87) from the case bores.
  15. Discard the seal (87).
  16. Clean the cooler line seal case bores.

Installation Procedure


    Object Number: 792755  Size: SH
  1. Insert a new transaxle cooler line seal into the case bore.
  2. Remove the nub from the J 41239-1A .
  3. Install the nub of the J 41239-1A on the cooler line seal
  4. Tap the new cooler line seal into the case bore.
  5. Notice: Refer to Fastener Notice in the Preface section.


    Object Number: 868017  Size: SH
  6. Connect the transaxle cooler line assembly onto the transaxle.
  7. Tighten
    Tighten the transaxle cooler line retaining nut to 7 N·m (62 lb in).

  8. Lower the vehicle.
  9. Important: Do not use AF P/N 21005966 or P/N 21019223, these fluids are not compatible with this transaxle. Use Saturn T-IV P/N 22689186.

  10. Add fluid to the transaxle as necessary. Refer to Transmission Fluid Check .
  11. Start the engine and check for leaks.