GM Service Manual Online
For 1990-2009 cars only

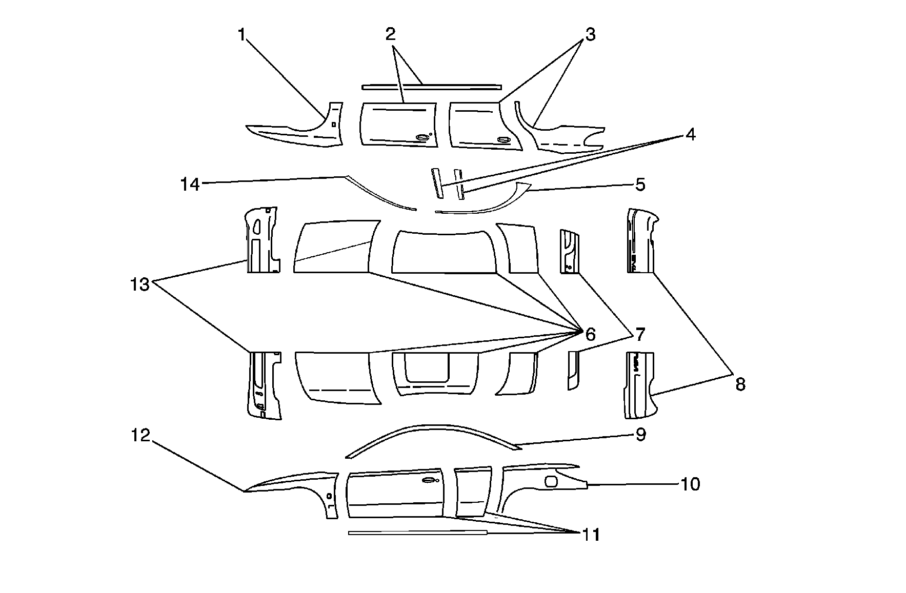
Object Number: 873924  Size: MF
(1)PA + PPE
(2)ABS + PC
(3)PA + PPE
(4)ABS + PC
(5)PET
(6)Steel
(7)ABS + PC
(8)TPO
(9)PET
(10)PA + PPE
(11)ABS + PC
(12)PA + PPE
(13)TPO
(14)PET

Exterior body panels are constructed of various materials, due to the increased dent and corrosion resistance of modern composites. All vertical panels, such as fenders, doors, quarters, and rocker panels, are made from rigid thermoplastic. Front and rear fascias are constructed of thermoplastic olefin (TPO). The hood, roof, and deck are steel.

Different materials require different procedures for preparing and refinishing. Before beginning any repair, identify the type of material involved.

Identifying Symbol

Chemical Composition or Plastic "Family" Name

Typical Area where Used

Common or Trade Names

PE

Polyethylene

Inner Fender Panels, Valances, Spoilers, Inner Trim Panels, Seatbelt Covers, Gas Tank Shields

Dylan, Fortiflex, Marlex, Alathon, Hi-Fax, Hosalen, Paxon

PP

Polypropylene

Kick Panels, Deflector Panels, Cowl Panels, Interior Moldings, Radiator Shrouds, Inner Fenders, Bumper Covers

Profax, Oleflo, Marlex, Azdel, Novolen, Tenite, Daplen, Escorene

ABS

Acrylonitrite/Butadine/Styrene

Instrument Clusters, Trim Moldings, Consoles, Armrest Supports, Steering Column Jackets

ABS, Cycolac, Abson, Kralastic, Lustran, Absafil, Dyel

ABS + PC

Acrylonitrite/Butadine-Styrene + Polycarbonate

Instrument Panels, Exterior Door Panels, Rocker Panel Covers

Babyland, Proloy, Cycoloy, KHA

E/P/TPO

Ethylene/Polypropylene (Rubber)

Bumper Covers

TPO, TPR (Thermoplastic Rubber) EPI, EPII

PA + PPE

Polyamide + Polyphenylene Ether

Fenders

GTX