| Table 1: | Rear End |
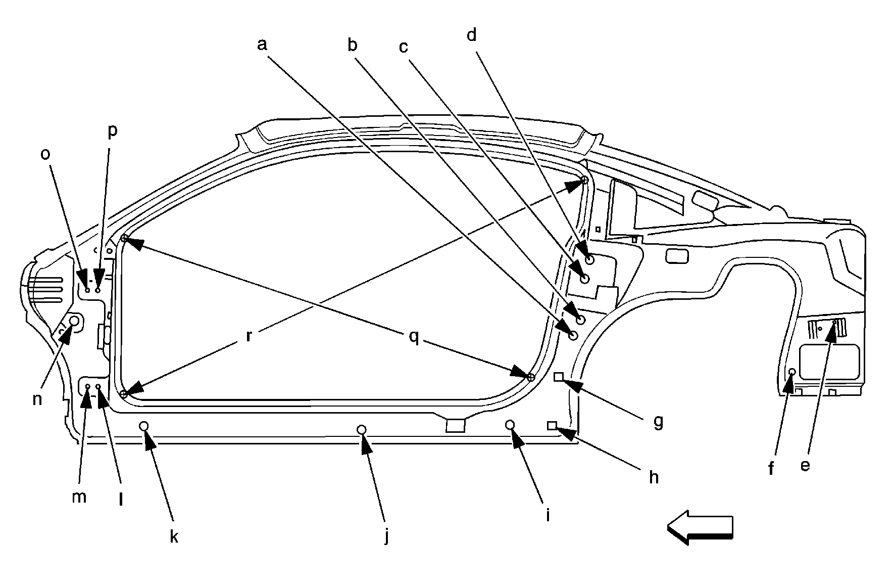
| Table 2: | Coupe Side |
| Table 3: | Front End |
| Table 4: | Underbody |
| Table 5: | Engine Compartment |
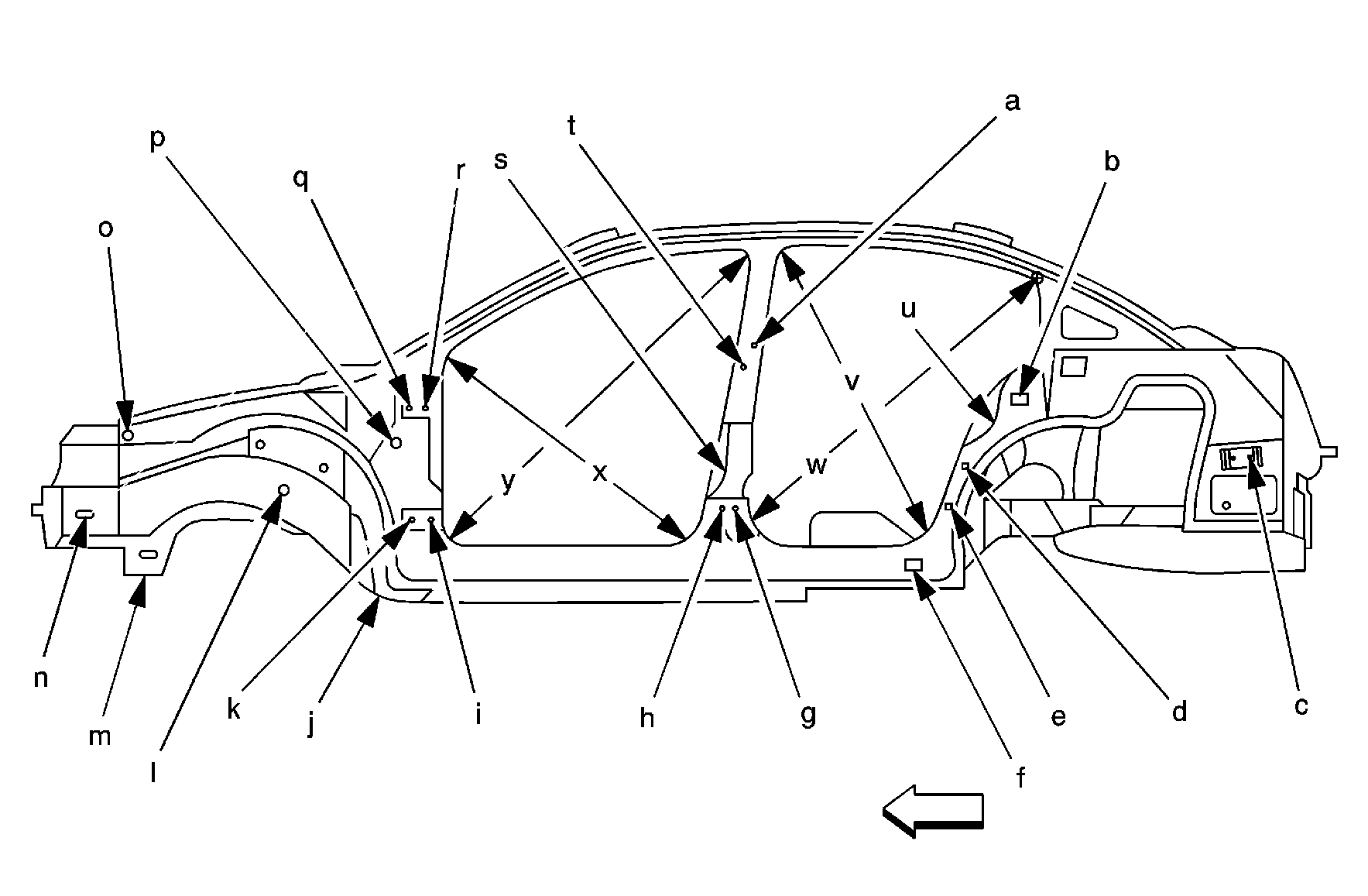
| Table 6: | Sedan Side |
| Table 7: | Clearance and Flushness Specifications (Sedan) |
| Table 8: | Clearance and Flushness Specifications (Coupe) |
Location | Description | Length = x | Width = y | Height = z | Point to Point |
|---|---|---|---|---|---|
2 | Center Line | -- | -- | -- | x |
a | Rear Tail Lamp Pocket Hole | 5162 | 532 | 683 | x |
b | Rear Impact Beam Upper Outer Attach Hole | 5149 | 587 | 447 | x |
c | Rear Impact Beam Lower Outer Attach Hole | 5176 | 439 | 327 | x |
d (Sedan) | Rear Header Panel Roof Attachment Hole | 4133 | 306 | 1326 | x |
d (Coupe) | Rear Header Panel Roof Attachment Hole | 4068 | 306 | 1285 | x |
All dimensions are measured from a zero line, a center line, and a common datum. All dimensions are symmetrical unless otherwise specified. | |||||
Location | Description | Length = x | Width = y | Height = z | Point to Point |
|---|---|---|---|---|---|
a | Rear Lower Hinge Lower Hole | 3996 | 770 | 555 | x |
b | Rear Lower Hinge Upper Hole | 4046 | 759 | 649 | x |
c | Rear Upper Hinge Lower Hole | 4067 | 747 | 758 | x |
d | Rear Upper Hinge Upper Hole | 4056 | 738 | 863 | x |
e | Fascia Bracket Rear Upper Hole | 4989 | 768 | 798 | x |
f | Quarter Panel Rear Inner Lower Hole | 4822 | 730 | 445 | x |
g | Quarter Panel Dog Leg Outer Attach Hole | 3955 | 762 | 320 | x |
h | Quarter Panel Dog Leg Outer Attach Hole | 3961 | 762 | 235 | x |
i | Rocker Panel Rear Hole | 3780 | 762 | 250 | x |
j | Rocker Panel Center Hole | 3228 | 756 | 234 | x |
k | Rocker Panel Front Hole | 2432 | 762 | 250 | x |
l | Front Lower Hinge Rear Hole | 2260 | 750 | 396 | x |
m | Front Lower Hinge Front Hole | 2225 | 750 | 396 | x |
n | Body Side Control Hole | 2175 | 745 | 640 | x |
o | Front Upper Hinge Front Hole | 2225 | 739 | 754 | x |
p | Front Upper Hinge Rear Hole | 2260 | 739 | 754 | x |
q | Door Opening Point to Point Measurement to Weld Flange Die Marks | x | x | x | 1588 |
r | Door Opening Point to Point Measurement to Weld Flange Die Marks | x | x | x | 1868 |
All dimensions are measured from a zero line, a center line, and a common datum. All dimensions are symmetrical unless otherwise specified. | |||||
Location | Description | Length = x | Width = y | Height = z | Point to Point |
|---|---|---|---|---|---|
2 | Center Line | -- | -- | -- | x |
a | Front Lamp Assembly Inner Attach Hole | 1146 | 327 | 675 | x |
b | Front Lamp Assembly Center Attach Hole | 1208 | 458 | 682 | x |
c | Front Lamp Assembly Outer Attach Hole | 1271 | 589 | 676 | x |
d | Front Lamp Assembly Lower Attach Hole | 1307 | 561 | 594 | x |
e | Lower Tie Bar Outer Hole | 998 | 314 | 428 | x |
f | Center Brace Hole | 1089 | 17 | 568 | x |
g | Lower Tie Outer Slot | 998 | 314 | 428 | x |
h | Front Header Panel Roof Attachment Hole (Sedan and Coupe) | 2799 | 297 | 1307 | x |
All dimensions are measured from a zero line, a center line, and a common datum. All dimensions are symmetrical unless otherwise specified. | |||||
Location | Description | Length = x | Width = y | Height = z | Point to Point |
|---|---|---|---|---|---|
2 | Center Line | -- | -- | -- | x |
a | Rear Cradle Attachment Hole | 2100 | 332 | 201 | x |
b | Front Rail Outer Torque Box Master Gage Hole | 2218 | 600 | 121 | x |
c | Floor Pan Drain Hole Front Hole | 2420 | 542 | 190 | x |
d | Front Rail Hole Front of Rear Portion | 2675 | 421 | 134 | x |
e | Floor Pan Sled Rail Front Hole | 2585 | 162 | 133 | x |
f | Front Rail Hole Rear of Rear Portion | 3171 | 601 | 167 | x |
g | Floor Pan Sled Rail Rear Hole | 3374 | 170 | 144 | x |
h | Floor Pan Rear Drain Hole | 3378 | 521 | 190 | x |
i | Rear Rail Torque Box Master Gage Hole | 3593 | 592 | 203 | x |
j | Front Rail Hole | 3826 | 600 | 184 | x |
k | 5 Bar Outer Hole | 4235 | 180 | 354 | x |
l | Rear Rail Rear Slot | 4757 | 487 | 372 | x |
m | Rear Compartment Floor Pan Drain Hole | 5000 | 40 | 221 | x |
t | Front Cradle Attachment Hole | 1371 | 474 | 231 | x |
n to o | Rear Rail Rear Hole to Rear Rail Master Gage Hole | -- | -- | -- | 1174 |
o to p | Rear Rail Master Gage Hole to Front Rail Rear Hole | -- | -- | -- | 419 |
p to q | Front Rail Rear Hole to Front Rail Master Gage Hole | -- | -- | -- | 956 |
q to s | Front Rail Master Gage Hole to Front Cradle Attachment Hole | -- | -- | -- | 847 |
r to s | Rear Cradle Attachment Hole to Front Cradle Attachment Hole | -- | -- | -- | 742 |
s to t | Front Cradle Attachment Hole to Front Cradle Attachment Hole | -- | -- | -- | 948 |
t to r | Front Cradle Attachment Hole to Opposite Rear Cradle Attachment | -- | -- | -- | 1087 |
r to f | Rear Cradle Attachment Hole to Opposite Rear Rail Rear Hole | -- | -- | -- | 1756 |
r to i | Rear Cradle Attachment Hole to Rear Rail Master Gage Hole | -- | -- | -- | 1756 |
f to o | Front Rail Rear Hole to Opposite Rear Rail Master Gage Hole | -- | -- | -- | 1243 |
o to l | Rear Rail Master Gage Hole to Opposite Rear Rail Rear Hole | -- | -- | -- | 1591 |
l to n | Rear Rail Rear Hole to Rear Rail Rear Hole | -- | -- | -- | 974 |
All dimensions are measured from a zero line, a center line, and a common datum. All dimensions are symmetrical unless otherwise specified. | |||||
Location | Description | Length = x | Width = y | Height = z | Point to Point |
|---|---|---|---|---|---|
2 | Center Line | -- | -- | -- | x |
a | Upper Cowl Panel Rear Flange Hole | 2115 | 590 | 873 | x |
b | Front Upper Rail Rear Fender Attach | 1786 | 698 | 805 | x |
c | Front Upper Rail Center Fender Attach | 1594 | 688 | 773 | x |
d | Front Upper Rail Front Fender Attach | 1425 | 681 | 739 | x |
e | Strut Tower Center Hole | 1811 | 553 | 815 | x |
f | Front Upper Tie Bar Rear Flange Hole | 1226 | 232 | 700 | x |
g | Point to Point Front Fender Attach Hole to Rear Hinge Attach Hole | -- | -- | -- | 1499 |
h | Front Engine Mount Hole Rail Surface Not Top of Stud | 1461 | 470 | 515 | x |
i | Rear Engine Mount Hole Rail Surface Not Top of Stud | 1657 | 465 | 515 | x |
All dimensions are measured from a zero line, a center line, and a common datum. All dimensions are symmetrical unless otherwise specified. | |||||
Location | Description | Length = x | Width = y | Height = z | Point to Point |
|---|---|---|---|---|---|
a | Rear Upper Hinge Upper Hole | 3301 | 746 | 776 | x |
b | Quarter Panel Dog Leg Outer Attachment Hole | 4226 | 779 | 768 | x |
c | Fascia Bracket Rear Upper Hole | 4974 | 746 | 596 | x |
d | Quarter Panel Dog Leg Outer Attach Hole | 4068 | 767 | 617 | x |
e | Quarter Panel Dog Leg Outer Attachment Hole | 3991 | 767 | 437 | x |
f | Quarter Panel Dog Leg Outer Attachment Hole | 3780 | 762 | 250 | x |
g | Rear Lower Hinge Rear Hole | 3289 | 746 | 430 | x |
h | Rear Lower Hinge Front Hole | 3254 | 747 | 430 | x |
i | Front Lower Hinge Rear Hole | 2259 | 748 | 396 | x |
j | Rear Cradle Attachment Hole | 2100 | 332 | 201 | x |
k | Front Lower Hinge Front Hole | 2225 | 740 | 396 | x |
l | Front Rail Outer Panel Hole | 1840 | 463 | 430 | x |
m | Front Cradle Attachment Hole | 1371 | 500 | 280 | x |
n | Weld Nut Hole Washer Bottle Attachment | 1222 | 540 | 409 | x |
o | Front Upper Outer Rail Front Hole | 1880 | 743 | 760 | x |
p | Body Side Control Hole | 2175 | 745 | 640 | x |
q | Front Upper Hinge Front Hole | 2224 | 737 | 754 | x |
r | Front Upper Hinge Rear Hole | 2260 | 737 | 754 | x |
s | Front Door Latch Striker Upper Hole | 3263 | 748 | 574 | x |
t | Rear Upper Hinge Lower Hole | 3299 | 754 | 741 | x |
u | Rear Latch Striker Upper Hole | 4145 | 739 | 736 | x |
v | Rear Door Opening Point to Point Measurements to Weld Flange Die Marks | -- | -- | -- | 1015 |
w | Rear Door Opening Point to Point Measurement to Weld Flange Die Marks | -- | -- | -- | 1188 |
x | Front Door Opening Point to Point Measurement to Weld Flange Die Marks | -- | -- | -- | 970 |
y | Front Door Opening Point to Point Measurement to Weld Flange Die Marks | -- | -- | -- | 1337 |
All dimensions are measured from a zero line, a center line, and a common datum. All dimensions are symmetrical unless otherwise specified. | |||||
Location | Clearance Gap | Flushness |
|---|---|---|
1 - Front fascia to hood | 5.0-7.0 mm (0.20-0.28 in) | -- |
2 - Front fascia to fender | 1.0-3.0 mm (0.04-0.12 in) | -- |
3 - Front fender to hood | 3.0-5.0 mm (0.12-0.20 in) | -- |
4 - Front fender to door | 5.0-7.0 mm (0.20-0.27 in) | 0.0-1.5 mm (0.0-0.06 in) |
5 - Front door to rocker | 5.0-11.0 mm (0.20-0.44 in) | -- |
6 - Front door panel to rear door panel | 5.5-7.5 mm (0.22-0.30 in) | 0.0-1.5 mm (0.0-0.06 in) |
7 - Top windshield to roof | No gap permissible | -- |
8 - Rear door to rocker | 5.0-11.0 mm (0.20-0.44 in) | -- |
9 - Rear door to quarter | 5.0-7.0 mm (0.20-0.28 in) | 1.5 mm (0.06 in) |
10 - Quarter to rear fascia | 1.0-3.0 mm (0.04-0.12 in) | -- |
11 - Quarter to deck lid | 3.0-5.0 mm (0.12-0.20 in) | 1.0 mm (0.04 in) |
12 - Top backlight to roof | No gap permissible | -- |
13 - Deck lid to rear fascia | 6.0-10.0 mm (0.24-0.40 in) | -- |
14 - Front door applique to rear door applique | 4.0-8.0 mm (0.16-0.32 in) | 1.5 mm (0.06 in) |
15 - Roof side applique to roof | 1.8-5.8 mm (0.07-0.23 in) | -- |
Location | Clearance Gap | Flushness |
|---|---|---|
1 - Front fascia to fender | 0.0-1.5 mm (0.00-0.06 in) | -- |
2 - Front fender to hood | 3.0-5.0 mm (0.12-0.20 in) | 1.0 mm (0.04 in) |
3 - Front fender to door | 6.0-8.0 mm (0.24-0.32 in) |
1.5 -0.0 mm (0.06-0.00 in) |
4 - Front door to rocker | 4.0-10.0 mm (0.16-0.40 in) | -- |
5 - Top windshield to roof | No gap permissible | -- |
6 - Front door panel to rear door panel | 6.0-8.0 mm (0.24-0.32 in) | 1.5-00 mm (0.06-0.0 in) |
7 - Rear fascia to rear quarter panel | 0.0-1.5 mm (0.00-0.06 in) | -- |
8 - Quarter to deck lid top | 3.0-5.0 mm (0.12-0.20 in) | 1.0 mm (0.04 in) |
9 - Top backlight to roof | No gap permissible | -- |
10 - Quarter to deck lid rear | 4.0-6.0 mm (0.16-0.24 in) | 1.0 mm (0.04 in) |
11 - Deck lid to rear fascia | 7.5-10.5 mm (0.30-0.42 in) | -- |
12 - Front door applique to side window | 4.0-6.0 mm (0.16-0.24 in) | -- |
13 - Rear door to rocker | 4.0-10.0 mm (0.16-0.40 in) | -- |
14 - Rear door to rear quarter panel | 6.0-8.0 mm (0.24-0.32 in) | -- |