GM Service Manual Online
For 1990-2009 cars only

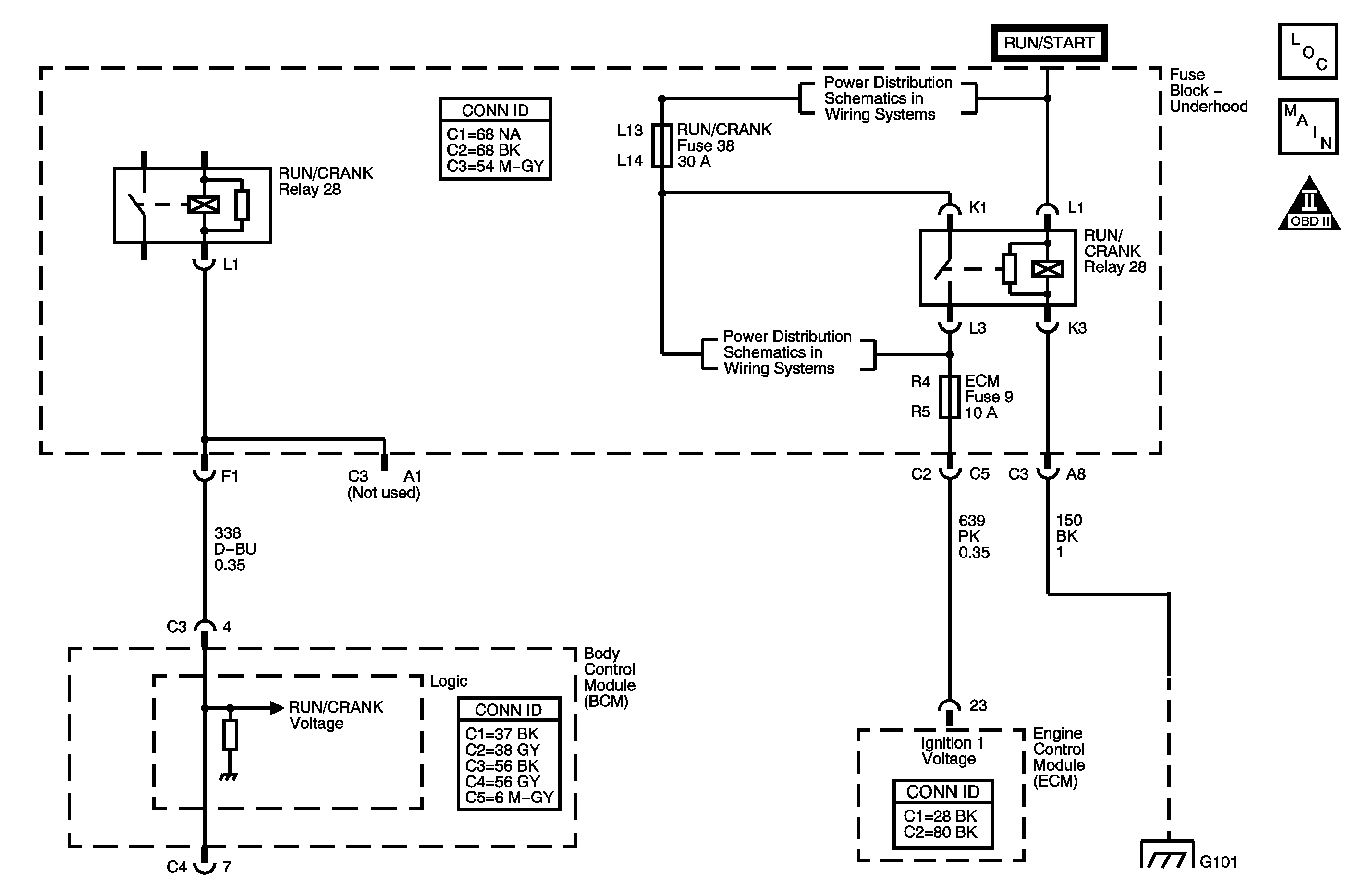
Object Number: 1318971  Size: MF

Circuit Description

The engine control module (ECM) receives the ignition 1 signal with the ignition ON. The ECM receives this signal through the ignition 1 voltage circuit from the RUN/CRANK relay. The RUN/CRANK relay is controlled by the body control module (BCM). The RUN/CRANK relay supplies power to several components when in the RUN or CRANK power mode. If the ECM detects an improper ignition 1 voltage signal, DTC P2533 will set.

Conditions for Running the DTC

The ignition is ON.

Conditions for Setting the DTC

    • The ECM detects an improper ignition 1 voltage input in the CRANK power mode.
    • The condition exists for more than 3 seconds.

Action Taken When the DTC Sets

    • The ECM will not illuminate the malfunction indicator lamp (MIL).
    • The ECM will store conditions which were present when the DTC set as Fail Records only.

Conditions for Clearing the DTC

    • The history DTC will clear after 40 consecutive warm-up cycles have occurred without a malfunction.
    • The DTC can be cleared by using the scan tool Clear DTC Information function.

Step

Action

Yes

No

Schematic Reference: Engine Controls Schematics

Connector End View Reference: Engine Control Module Connector End Views or Engine Controls Connector End Views

1

Did you perform the Diagnostic System Check-Engine Controls ?

Go to Step 2

Go to Diagnostic System Check - Engine Controls

2

Turn the ignition switch to the CRANK position.

Does the engine crank?

Go to Step 3

Go to Step 4

3

  1. Turn ON the ignition, with the engine OFF.
  2. Probe both sides of the engine control module (ECM) fuse with a test lamp that is connected to a ground.

Does the test lamp illuminate on both sides of the ECM fuse?

Go to Step 6

Go to Step 9

4

  1. Turn OFF the ignition.
  2. Probe both sides of the RUN/CRANK fuse with a test lamp that is connected to ground.

Does the test lamp illuminate on both sides of the RUN/CRANK fuse?

Go to Step 5

Go to Step 11

5

  1. Disconnect the RUN/CRANK relay.
  2. Connect a 5-amp fused jumper wire between the ignition 1 voltage circuit and the RUN/CRANK voltage circuit at the switch side of the RUN/CRANK relay connector.
  3. Attempt to start the engine.

Does the engine start and run?

Go to Step 7

Go to Step 12

6

  1. Turn OFF the ignition.
  2. Disconnect the ECM.
  3. Connect a test lamp between the ignition 1 voltage circuit and a good ground.
  4. Turn ON the ignition, with the engine OFF.

Does the test lamp illuminate?

Go to Step 17

Go to Step 10

7

  1. Remove the 5-amp fused jumper wire from the switch side of the RUN/CRANK relay connector.
  2. Turn OFF the ignition.
  3. Connect a test lamp between the run/crank voltage circuit and the RUN/CRANK relay ground circuit at the RUN/CRANK relay connector.
  4. Turn ON the ignition, with the engine OFF.

Does the test lamp illuminate?

Go to Step 15

Go to Step 8

8

Connect a test lamp between the run/crank voltage circuit at the RUN/CRANK relay connector and a good ground.

Does the test lamp illuminate?

Go to Step 13

Go to Step 14

9

  1. Test the ignition 1 voltage circuit for a short to ground. Refer to Circuit Testing and Connector Repairs in Wiring Systems.
  2. Replace the ECM fuse if necessary.

Did you find and correct the condition?

Go to Step 21

Go to Step 17

10

Test the ignition 1 voltage circuit for an open and for a high resistance. Refer to Circuit Testing and Connector Repairs in Wiring Systems.

Did you find and correct the condition?

Go to Step 21

Go to Step 17

11

  1. Repair the short to ground on the battery voltage circuit on the switch side of the RUN/CRANK relay. Refer to Circuit Testing and Connector Repairs in Wiring Systems.
  2. Replace the RUN/CRANK fuse.

Is the repair complete?

Go to Step 21

--

12

Repair the open on the battery voltage circuit between the RUN/CRANK fuse and the ECM fuse. Refer to Circuit Testing and Connector Repairs in Wiring Systems.

Is the repair complete?

Go to Step 21

--

13

Repair the open on the RUN/CRANK relay ground circuit. Refer to Circuit Testing and Connector Repairs in Wiring Systems.

Is the repair complete?

Go to Step 21

 

14

Test the run/crank voltage circuit between the relay and the body control module (BCM) for an open and for a short to ground. Refer to Circuit Testing and Connector Repairs in Wiring Systems.

Did you find and correct the condition?

Go to Step 21

Go to Step 16

15

Test for an intermittent and for a poor connection at the RUN/CRANK relay. Refer to Testing for Intermittent Conditions and Poor Connections and Circuit Testing in Wiring Systems.

Did you find and correct the condition?

Go to Step 21

Go to Step 18

16

Test for an intermittent and for a poor connection at the BCM. Refer to Testing for Intermittent Conditions and Poor Connections and Circuit Testing in Wiring Systems.

Did you find and correct the condition?

Go to Step 21

Go to Step 19

17

Test for an intermittent and for a poor connection at the ECM. Refer to Testing for Intermittent Conditions and Poor Connections and Circuit Testing in Wiring Systems.

Did you find and correct the condition?

Go to Step 21

Go to Step 20

18

Replace the RUN/CRANK relay. Refer to Relay Replacement in Wiring Systems.

Did you complete the replacement?

Go to Step 21

--

19

Replace the BCM. Refer to Body Control Module Replacement in Body Control System.

Did you complete the replacement?

Go to Step 21

--

20

Replace the ECM. Refer to Engine Control Module Replacement .

Did you complete the replacement?

Go to Step 21

--

21

  1. Clear the DTCs with a scan tool.
  2. Turn OFF the ignition for 30 seconds.
  3. Start the engine.
  4. Operate the vehicle within the Conditions for Running the DTC. You may also operate the vehicle within the conditions that you observed from the Freeze Frame/Failure Records.

Does the DTC fail this ignition?

Go to Step 2

Go to Step 22

22

Observe the Capture Info with a scan tool.

Are there any DTCs that have not been diagnosed?

Go to Diagnostic Trouble Code (DTC) List

System OK