GM Service Manual Online
For 1990-2009 cars only

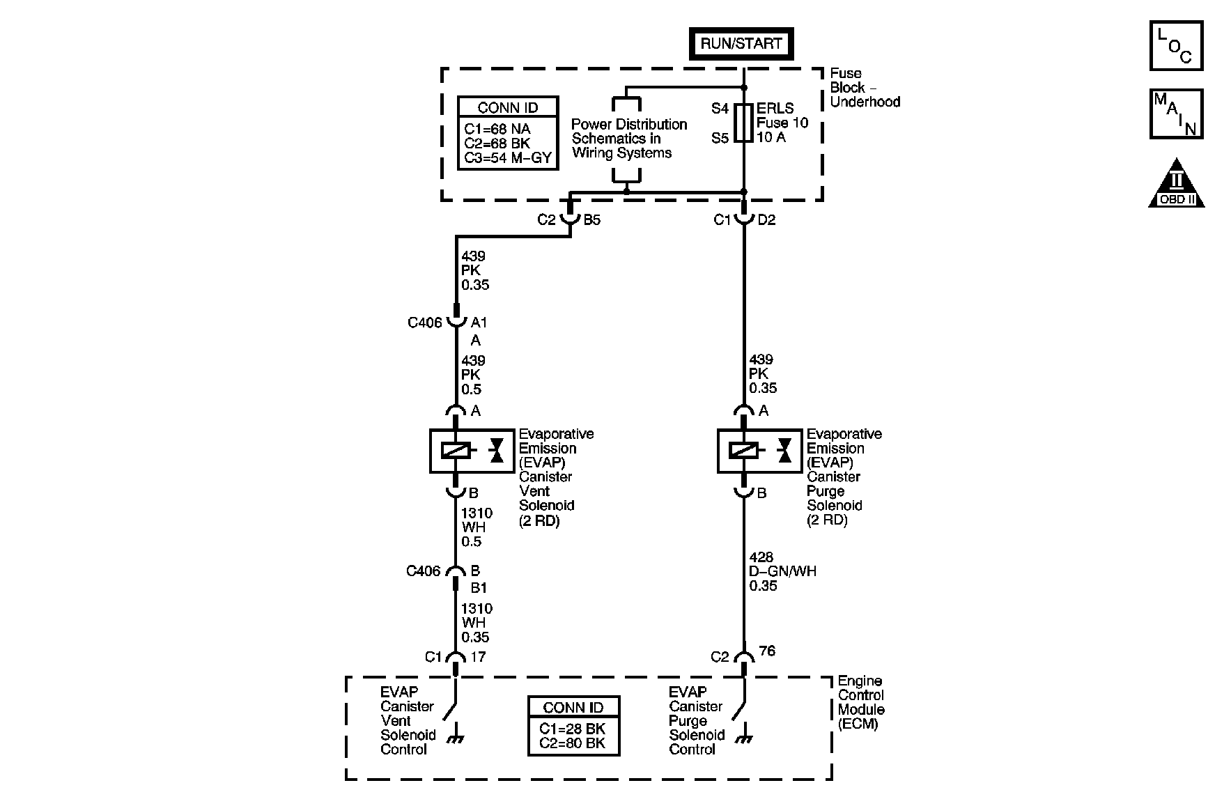
Object Number: 891207  Size: MF

Circuit Description

The Evaporative Emission (EVAP) System is used to prevent fuel vapors from venting to the atmosphere. The EVAP canister purge solenoid is normally closed. The engine control module (ECM) controls the EVAP canister purge solenoid by providing ground to the EVAP canister purge solenoid control circuit. This allows ambient air to be drawn through the EVAP canister to the intake manifold so that the fuel vapors that were stored in the EVAP canister can be consumed by the engine. The ECM monitors the EVAP canister purge solenoid control circuit for low and high voltage faults. If the ECM detects that the voltage of the EVAP canister purge solenoid control circuit is above a predetermined threshold when the EVAP canister purge solenoid is commanded OFF, DTC P0445 sets.

Conditions for Running the DTC

    • DTC P0444 is not set.
    • The engine speed is more than 40 RPM.
    • The battery voltage is more than 8.05 volts and less than 18 volts.
    • The vehicle is moving.

Conditions for Setting the DTC

    • The voltage of the EVAP canister purge solenoid control circuit is above 1.25 volts when the EVAP canister purge solenoid is commanded ON.
    • The above condition is met for more than 0.5 seconds.

Action Taken When the DTC Sets

    • The control module stores the DTC information into memory when the diagnostic runs and fails.
    • The malfunction indicator lamp (MIL) will not illuminate.
    • The control module records the operating conditions at the time the diagnostic fails. The control module stores this information in the Failure Records.
    • The driver information center, if equipped, may display a message.

Conditions for Clearing the DTC

    • A current DTC Last Test Failed clears when the diagnostic runs and passes.
    • A history DTC clears after 40 consecutive warm-up cycles, if no failures are reported by this or any other non-emission related diagnostic.
    • Clear the DTC with a scan tool.

Step

Action

Yes

No

Schematic Reference: Engine Controls Schematics

Connector End View Reference: Engine Control Module Connector End Views or Engine Controls Connector End Views

1

Did you perform the Diagnostic System Check-Engine Controls?

Go to Step 2

Go to Diagnostic System Check - Engine Controls

2

  1. Observe the Freeze Frame/Failure Records for this DTC.
  2. Turn OFF the ignition for 30 seconds.
  3. Start the engine.
  4. Operate the vehicle within the Conditions for Running the DTC. You may also operate the vehicle within the conditions that you observed form the Freeze Frame/Failure Records.

Did the DTC fail this ignition?

Go to Step 3

Go to Intermittent Conditions

3

  1. Turn OFF the ignition.
  2. Disconnect the evaporative emission (EVAP) canister purge solenoid.
  3. Inspect for poor connections at the EVAP canister purge solenoid. Refer to Testing for Intermittent Conditions and Poor Connections and Connector Repairs in Wiring Systems.

Did you find and correct the condition?

Go to Step 9

Go to Step 4

4

  1. Turn OFF the ignition.
  2. Connect a test lamp between the ignition 1 voltage circuit of the EVAP canister purge solenoid and the control circuit of the EVAP canister purge solenoid at the EVAP canister purge solenoid harness connector.
  3. Start the engine.
  4. Operate the vehicle within the Conditions for Running the DTC. You may also operate the vehicle within the conditions that you observed form the Freeze Frame/Failure Records.

Did DTC P0445 fail this ignition?

Go to Step 5

Go to Step 7

5

Test the control circuit of the EVAP canister purge solenoid for a short to voltage. Refer to Circuit Testing and Wiring Repairs in Wiring Systems.

Did you find and correct the condition?

Go to Step 9

Go to Step 6

6

Inspect for poor connections at the harness connector of the engine control module (ECM). Refer to Testing for Intermittent Conditions and Poor Connections and Connector Repairs in Wiring Systems.

Did you find and correct the condition?

Go to Step 9

Go to Step 8

7

Replace the EVAP canister purge solenoid. Refer to Evaporative Emission Canister Purge Solenoid Replacement .

Did you complete the replacement?

Go to Step 9

--

8

Replace the ECM. Refer to Engine Control Module Replacement .

Did you complete the replacement?

Go to Step 9

--

9

  1. Clear the DTCs with a scan tool.
  2. Turn OFF the ignition for 30 seconds.
  3. Start the engine.
  4. Operate the vehicle within the Conditions for Running the DTC. You may also operate the vehicle within the conditions that you observed from the Freeze Frame/Failure Records.

Did the DTC fail this ignition?

Go to Step 2

Go to Step 10

10

Observe the Capture Info with a scan tool.

Are there any DTCs that have not been diagnosed?

Go to Diagnostic Trouble Code (DTC) List

System OK