GM Service Manual Online
For 1990-2009 cars only
Table 1: Transmission Control Module Harness 64-way C1 Connector
Table 2: Transmission Control Module Harness 64-way C2 Connector
Table 3: Park/Neutral Position Switch Harness 12-way Connector
Table 4: Brake Stop Lamp Switch Harness 2-way Connector

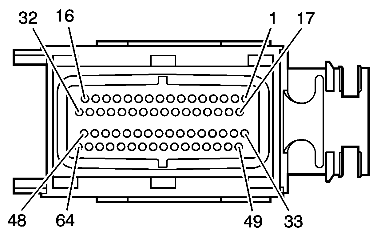
Transmission Control Module Harness 64-way C1 Connector


Object Number: 884060  Size: CH

Connector Part

Information

    • 1928403379
    • CONN 64F Micro 64 Series (BK)

Cavity

Wire Color

Circuit No.

Function

1-3

--

--

Not Used

4

L-BU

20

Stop Lamp Switch Signal

5-9

--

--

Not Used

10

TN

2501

High Speed GM LAN Serial Data Bus-

11

TN/ WH

2500

High Speed GM LAN Serial Data Bus +

12-16

--

--

Not Used

17

BK/ WH

451

Ground

18

--

--

Not Used

19

PK

1039

Ignition 1 Voltage

20

OG

480

Battery Positive Voltage

21-27

--

--

Not Used

28

BK/ WH

451

Ground

29

BK/ WH

451

Ground

30-64

--

--

Not Used

Transmission Control Module Harness 64-way C2 Connector


Object Number: 884060  Size: CH

Connector Part

Information

    • 1928403386
    • CONN 64F Micro 64 Series (BK)

Cavity

Wire Color

Circuit No.

Function

1

--

--

Not Used

2

YE

657

Transmission Fluid Pressure Sensor Signal

3-5

--

--

Not Used

6

PU

401

OSS Low Signal

7-10

--

--

Not Used

11

PU/WH

5506

Ratio Control Motor B1 Low Control

12

--

--

Not Used

13

D-GN

5507

Ratio Control Motor A2 Low Control

14

L-GN/WH

5505

Ratio Control Motor A1 Low Control

15

--

--

Not Used

16

D-BU/ WH

5502

TCC Enable Solenoid Valve Low Control

17

--

--

Not Used

18

BK/WH

771

Transmission Range Switch Signal A

19

--

--

Not Used

20

OG/BK

586

Transmission Fluid Temperature Sensor Low Reference

21-28

--

--

Not Used

29

BK

452

Low Reference

30

PK/ BK

5501

TCC Enable Solenoid Valve High Control

31

OG/BK

5504

Ratio Control Motor B2 Low Control

32-43

--

--

Not Used

44

YE/ BK

5500

TCC Pressure Control Solenoid Valve Low Control

45

BN

418

TCC Pressure Control Solenoid Valve High Control

46-48

--

--

Not Used

49

WH

776

Transmission Range Switch Signal P

50

WH

5503

Line Pressure Control Solenoid Valve Low Control

51

D-BU

1530

Line Pressure Control Solenoid Valve High Control

52

GY

773

Transmission Range Switch Signal C

53

--

--

Not Used

54

YE

400

OSS High Signal

55

D-BU/WH

1231

ISS Low Signal

56

TN/WH

585

Transmission Fluid Temperature Sensor Signal

57

GY

596

5-Volt Reference

58

RD/BK

1230

ISS High Signal

59

YE

772

Transmission Range Switch Signal B

60-64

--

--

Not Used

Park/Neutral Position Switch Harness 12-way Connector


Object Number: 884066  Size: CH

Connector Part

Information

    • 15366680
    • TAXI ASM CONN 7F GT 150, 280 SLD (BK)

Cavity

Wire Color

Circuit No.

Function

1

PK

239

Ignition 1 Voltage

2-3

--

--

Not Used

4

L-GN

24

Backup Lamp Supply Voltage

5

--

--

Not Used

6

PK

539

Ignition 1 Voltage

7

GY

773

Transmission Range Signal C

8

YE

772

Transmission Range Signal B

9

BK/WH

771

Transmission Range Signal A

10

WH

776

Transmission Range Signal P

11

PK

1039

Ignition 1 Voltage

12

YE

575

Starter Control

Brake Stop Lamp Switch Harness 2-way Connector


Object Number: 884068  Size: CH

Connector Part

Information

    • 12033701
    • CONN 2F M/P 480 (GY)

Cavity

Wire Color

Circuit No.

Function

A

OG

140

Battery Positive Voltage

B

L-BU

20

Stop Lamp Switch Signal