GM Service Manual Online
For 1990-2009 cars only

Isolating Vibration

Notice: Some engine/transaxle combinations cannot be balanced in this manner due to restricted access or limited clearances between the torque converter bolts and the engine. Ensure that the bolts do not bottom out in the lug nuts or the torque converter cover which could dent and cause internal damage.

To isolate and correct a flywheel or torque converter vibration, separate the torque converter from the flywheel to determine if vibration is in the engine or transmission.

  1. With the engine at idle speed and the transmission in PARK or NEUTRAL, observe the vibration.
  2. Turn the engine OFF.
  3. Raise and suitably support the vehicle.
  4. Refer to Lifting and Jacking the Vehicle in General Information.

  5. Remove the transmission converter cover bolts and the cover.
  6. Refer to Transmission Replacement .

  7. Mark the relationship of the converter to the flywheel.
  8. Remove the bolts attaching the converter to the flywheel.
  9. Refer to Transmission Replacement .

  10. Slide the torque converter away from the flywheel.
  11. Rotate the flywheel and torque converter to inspect for defects or missing balance weights.
  12. Refer to Engine Flywheel Cleaning and Inspection in Engine Mechanical - 2.2L (L61).

  13. Lower the vehicle.
  14. With the engine at idle speed and the transmission in PARK or NEUTRAL, observe the vibration.
  15. Refer to Diagnostic Starting Point - Vibration Diagnosis and Correction in Vibration Diagnosis and Correction.

  16. Turn the engine OFF.

Indexing Torque Converter

To determine and correct a torque converter vibration, the following procedure may have to be performed several times to achieve the best possible torque converter to flywheel balance.

  1. Raise and suitably support the vehicle.
  2. Refer to Lifting and Jacking the Vehicle in General Information.

  3. Rotate the torque converter one bolt position.

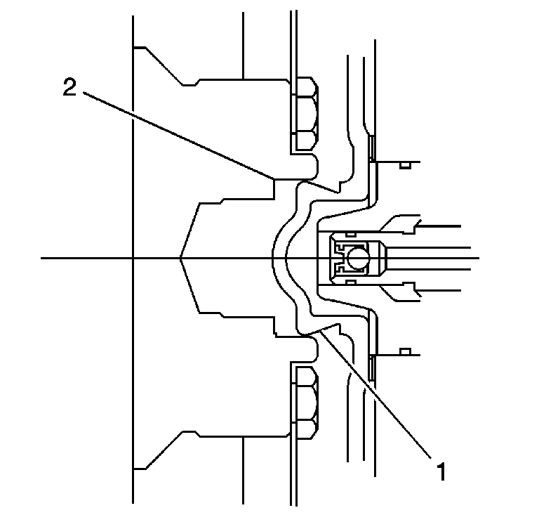
  4. Object Number: 884067  Size: SH
  5. Align the torque converter hub (1) in the engine crankshaft (2) and install the torque converter to flywheel bolts.
  6. Refer to Transmission Replacement .

  7. Lower the vehicle.
  8. With the engine at idle speed and the transmission in PARK or NEUTRAL, observe the vibration.
  9. Refer to Noise and Vibration Analysis .

    Repeat this procedure until you obtain the best possible balance.

  10. Install the transmission converter cover bolts and the cover.
  11. Refer to Transmission Replacement .