| Subject: | Service Manual Update - Liquid Polyacrylate (PA) Sealant Application Requirements |
| Models: | 2002-2005 Saturn VUE Vehicles |
| 2003-2004 Saturn ION Vehicles |
| with VT25E (VTi) Transaxle (RPO M75/M16) |
| Attention: | Technician |
This bulletin is being revised to update the sealant type, usage instructions, and part number. Please discard Corporate Bulletin Number 04-07-30-011A (Section 07 -- Transmission/Transaxle).
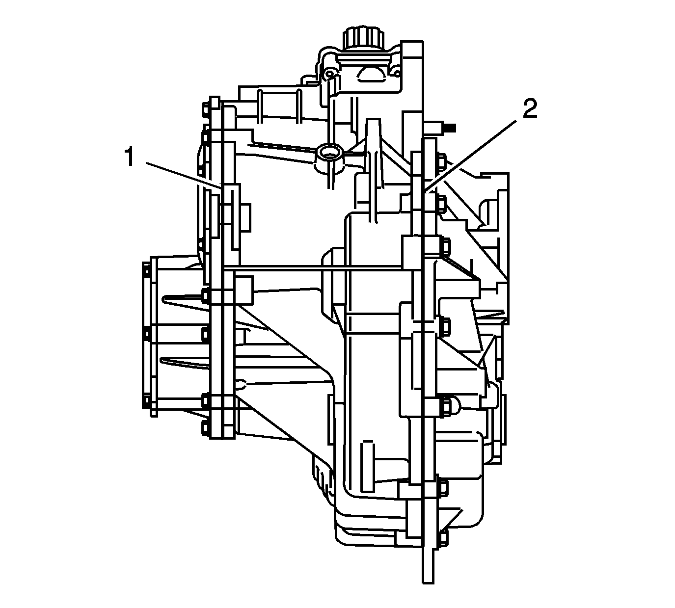
The purpose of this bulletin is to inform Saturn retailers about the identification, removal, and application requirements for the liquid PA sealant that is used to seal the mating surfaces of the VT25E transaxle in two different locations. The locations are as follows:
| • | Between the transaxle case assembly and the case cover assembly (1). |
| • | Between the transaxle case assembly and the torque converter and differential housing assembly (2). |
During a transaxle repair in which the transaxle case assembly must be separated from either the torque converter and differential assembly or the case cover assembly, care must be exercised when removing old sealant from the component mating surfaces, as well as when applying new sealant to a clean mating surface.
Use care when removing residual sealant from the mating surfaces. If using a gasket scraper, do not gouge, nick, or remove any case material. Do not allow the old sealant to fall into the transaxle. Use clean solvent to clean the surfaces. Allow the surfaces to air dry before applying new sealant.
Because of the unique characteristics of this transaxle, liquid PA sealant, P/N 24233365, is the ONLY authorized sealant that should be applied to the mating surfaces. The color of P/N 24233365 is GRAY. Do not use any other sealant product, including those that are promoted as an alternative to gaskets, or as an elimination of gaskets.
Important: DO NOT CUT THE APPLICATION NOZZLE OF THE SEALANT TUBE. Use only a small nail to puncture the top of the nozzle and the top of the tube. Cutting the nozzle will cause an opening that will allow a bead to be applied that is greater than the required 2-3 mm (0.079-0.118 in). Refer to the illustration.
Apply a 2-3 mm (0.079-0.118 in) bead of sealant, ensuring that the bead is CENTERED on the mating surface between the bolt holes, and on the INSIDE mating surface around the bolt holes. Refer to illustrations. Remove any sealant in the bolt holes. When reinstalling the applicable assemblies together, use care in order to prevent the sealant from entering into the bolt holes. Remove any excess sealant from the assemblies.
Please update the Torque Converter and Differential Housing Installation procedure and the Case Cover Assembly Installation procedure in the 2002-2005 VUE and 2003-2004 ION Service Manuals with the information contained in this bulletin.
The SI website will be updated immediately and future Service Stall System SI CD releases will include this and other Service Manual updates.