GM Service Manual Online
For 1990-2009 cars only

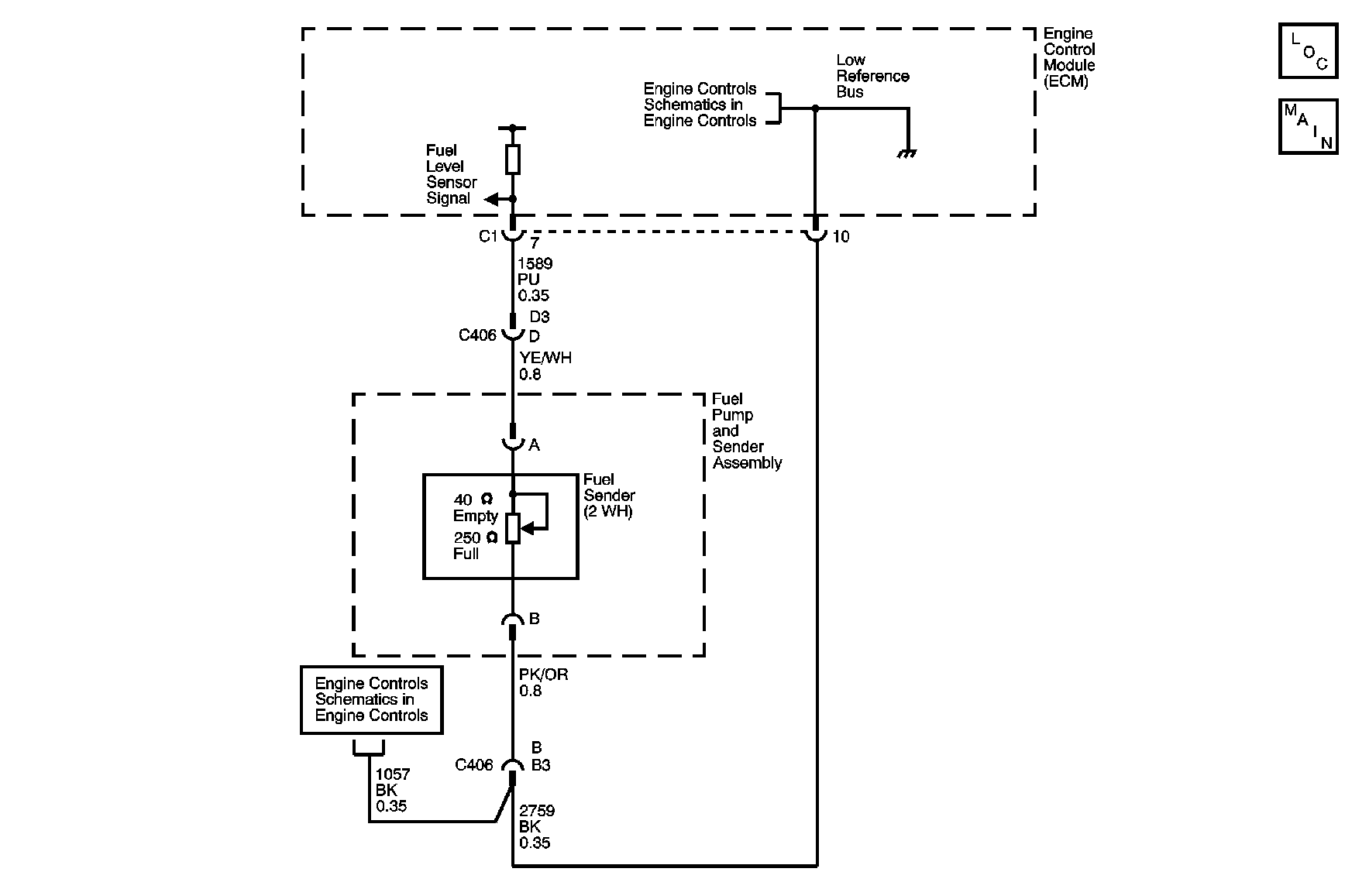
Object Number: 891374  Size: MF

Circuit Description

The fuel level sender changes resistance based on the fuel level. The engine control module (ECM)/powertrain control module (PCM) monitors the signal circuit of the fuel level sender in order to determine fuel level. When the fuel tank is full, the sender resistance is high and the ECM/PCM senses a high signal voltage. When the fuel tank is empty, the sender resistance is low and the ECM/PCM senses a low signal voltage. The ECM/PCM uses the signal circuit of the fuel level sender in order to calculate the total remaining fuel percent in the tank. The ECM/PCM sends the fuel level percent via the class 2 serial data circuit to the body control module (BCM). The BCM sends that class 2 message to the instrument panel cluster (IPC) in order to display the fuel level percent on the fuel gage. The fuel level information is also used for misfire and evaporative emission (EVAP) diagnostics.

This diagnostic tests for a stuck fuel level sender signal. The ECM/PCM sets this DTC if the fuel level sender signal appears to be stuck based on a lack of signal variation expected during normal operation.

Conditions for Running the DTC

The ignition is ON.

Conditions for Setting the DTC

The ECM/PCM does not detect a change in fuel level of at least 1.6 percent over a distance of 193 km (120 mi).

Action Taken When the DTC Sets

    • The fuel gage defaults to empty.
    • The ECM/PCM records the operating conditions at the time the diagnostic fails. The ECM/PCM stores the failure information in the Failure Records on the scan tool.

Conditions for Clearing the DTC

    • The DTC becomes history when the conditions for setting the DTC are no longer present.
    • The history DTC clears after 40 malfunction free warm-up cycles.
    • The ECM/PCM receives the clear code command from the scan tool.

Diagnostic Aids

Use the Freeze Frame and/or Failure Records data in order to locate an intermittent condition. If you cannot duplicate the DTC, the information included in the Freeze Frame and/or Failure Records data may aid in determining the number of miles since the DTC set. The Fail Counter and Pass Counter can also aid in determining the number of ignition cycles that the diagnostic reported a pass and/or fail. Operate the vehicle within the same freeze frame conditions, i.e. RPM, engine load, vehicle speed, temperature, etc. This will isolate when the DTC failed.

Refer to Testing for Intermittent Conditions and Poor Connections in Wiring Systems.

Step

Action

Yes

No

Schematic Reference: Instrument Cluster Schematics

1

Did you perform the Diagnostic System Check - Instrument Cluster?

Go to Step 2

Go to Diagnostic System Check - Instrument Cluster

2

  1. Remove the fuel level sender.
  2. Inspect for the following items:
  3. • A stuck fuel level sender, i.e. the fuel strainer interfering with the sender float arm
    • Foreign material in the fuel tank, i.e. ice

Did you find and correct the condition?

Go to Step 4

Go to Step 3

3

Replace the fuel level sender. Refer to Fuel Level Sensor Replacement in Engine Controls - 2.2L (L61) or to Fuel Level Sensor Replacement in Engine Controls - 2.0L (LSJ).

Did you complete the replacement?

Go to Step 4

--

4

  1. Use the scan tool in order to clear the DTCs.
  2. Operate the vehicle within the Conditions for Running the DTC as specified in the supporting text.

Does the DTC reset?

Go to Step 2

System OK