GM Service Manual Online
For 1990-2009 cars only
Table 1: C100 Engine Harness to Transmission Harness (MN5)
Table 2: C110 Forward Lamp Harness to Right Headlamp (Sedan)
Table 3: C111 Forward Lamp Harness to Left Headlamp (Sedan)
Table 4: C121 Forward Lamp Harness (DF5) to Body Harness (2.2L)
Table 5: C150 Engine Harness to Fuel Injector Harness (2.2L)
Table 6: C150 Engine Harness to Fuel Injector Harness (2.0L)
Table 7: C155 Engine Harness to Ignition Coil Harness (2.0L)
Table 8: C160 Body Harness to ABS Harness (JM4/JL9)
Table 9: C161 Body Harness to ABS Harness (JM4/JL9)
Table 10: C171 Engine Harness to Body Harness (2.2L)
Table 11: C171 Engine Harness to Body Harness (2.0L)
Table 12: C200 I/P Harness to Body Harness - Right
Table 13: C201 I/P Harness to Body Harness - Left
Table 14: C215 Inflatable Restraint Steering Wheel Module Disconnect
Table 15: C216 I/P Harness to Inflatable Restraint I/P Module Harness Disconnect
Table 16: C218 I/P Harness to Inflatable Restraint Roof Rail Harness (ASF)
Table 17: C220 I/P Harness to ETC Jumper Harness (2.0L)
Table 18: C225 Brake Switch Jumper Harness to I/P Harness
Table 19: C340 OnStar I/P Harness to OnStar Body Harness (UE1/U2K)
Table 20: C351 I/P Harness to Auto Shifter Harness (MN5)
Table 21: C375 Headliner Harness to Body Harness (Sedan)
Table 22: C375 Body Harness to Headliner Harness (Coupe)
Table 23: C380 OnStar Body Harness to Headliner Harness
Table 24: C401 Deck Lid Harness to Body Harness
Table 25: C406 EVAP Canister Vent Solenoid Jumper to Body Harness
Table 26: C406 Rear WSS Harness to Body Harness (JM4/JL9)
Table 27: C406 Fuel Controls Harness to Body Harness
Table 28: C410 Body Harness to Battery Cable (2.2L)
Table 29: C490 Body Harness to Right Tail Lamp Harness
Table 30: C491 Body Harness to Left Tail Lamp Harness
Table 31: C501 Body Harness to Driver Door Harness (AU3/AU0)
Table 32: C503 Body Harness to Driver Door Harness (Coupe w/A31 and DG7)
Table 33: C503 Body Harness to Driver Door Harness (Sedan w/A31 and DG7)
Table 34: C507 Body Harness to Driver Door Harness (w/o AU3)
Table 35: C602 Body to Front Passenger Door Harness (AU3)
Table 36: C604 Body Harness to Front Passenger Door Harness (A31)
Table 37: C608 Body Harness to Front Passenger Door Harness (w/o AU3)
Table 38: C759 Body Harness to Left Rear Door Harness (Sedan w/AU3)
Table 39: C860 Body Harness to Right Rear Door Harness (Sedan w/AU3)

C100 Engine Harness to Transmission Harness (MN5)


Object Number: 684844  Size: CH

Object Number: 808696  Size: CH

Connector Part Information

    • 12160493
    • 14-Way F Micro-Pack 100W Series (GY)

Connector Part Information

    • 12160782
    • 20-Way M Micro-Pack 100W Series (GY)

Pin

Wire Color

Circuit No.

Function

Pin

Wire Color

Circuit No.

Function

A

L-GN

1222

1-2 Shift Solenoid Valve Control

A

L-GN

1222

1-2 Shift Solenoid Valve Control

B

YE/BK

1223

2-3 Shift Solenoid Valve Control

B

YE

1223

2-3 Shift Solenoid Valve Control

C

RD/BK

1228

Pressure Control (PC) Solenoid Valve High Control

C

PU

1228

Pressure Control (PC) Solenoid Valve High Control

D

L-BU/WH

1229

PC Solenoid Valve Low Control

D

L-BU

1229

PC Solenoid Valve Low Control

E

YE

1139

Ignition 1 Voltage

E

RD

839

Ignition 1 Voltage

F-K

--

--

Not Available

F-K

--

--

Not Used

L

YE/BK

1227

Transmission Fluid Temperature (TFT) Sensor Signal

L

BN

1227

Transmission Fluid Temperature (TFT) Sensor Signal

M

BK

2762

Low Reference

M

GY

452

Low Reference

N

--

--

Not Used

N

--

--

Not Used

P

RD

1226

TFP Switch Signal C

P

RD

1226

TFP Switch Signal C

R

D-BU

1225

TFP Switch Signal B

R

D-BU

1225

TFP Switch Signal B

S

RD/BK

1230

Input Speed Sensor (ISS) High Signal

S

BK

1230

Input Speed Sensor (ISS) High Signal

T

TN/BK

422

Torque Converter Clutch Pulse Width Modulated (TCC PWM) Solenoid Valve Control

T

TN

418

Torque Converter Clutch Pulse Width Modulated (TCC PWM) Solenoid Valve Control

U

YE

657

TCC Release Switch Signal

U

WH

1804

TCC Release Switch Signal

V

D-BU/WH

1231

ISS Low Signal

V

GN

1231

ISS Low Signal

W

--

--

Not Available

W

--

--

Not Used

C110 Forward Lamp Harness to Right Headlamp (Sedan)


Object Number: 697039  Size: CH

Object Number: 333040  Size: CH

Connector Part Information

    • 12052848
    • 6-Way F Metri-Pack 150 Series Sealed (BK)

Connector Part Information

    • 12124107
    • 6-Way M Metri-Pack 150 Series Sealed (BK)

Pin

Wire Color

Circuit No.

Function

Pin

Wire Color

Circuit No.

Function

A

OG

640

Battery Positive Voltage

A

OG

640

Battery Positive Voltage

B

BN

9

Park Lamp Supply Voltage

B

BN

9

Park Lamp Supply Voltage

C

D-BU

15

Right Turn Signal Lamps Supply Voltage

C

L-BU

15

Right Turn Signal Lamps Supply Voltage

D

PK

1200

Headlamp High Beam Signal

D

PK

1200

Headlamp High Beam Signal

E

D-BU

1201

Head Lamp Low Beam Signal

E

D-BU

1201

Head Lamp Low Beam Signal

F

BK

150

Ground

F

BK

150

Ground

C111 Forward Lamp Harness to Left Headlamp (Sedan)


Object Number: 697039  Size: CH

Object Number: 333040  Size: CH

Connector Part Information

    • 12052848
    • 6-Way F Metri-Pack 150 Series Sealed (BK)

Connector Part Information

    • 12124107
    • 6-Way M Metri-Pack 150 Series Sealed (BK)

Pin

Wire Color

Circuit No.

Function

Pin

Wire Color

Circuit No.

Function

A

OG

740

Battery Positive Voltage

A

OG

640

Battery Positive Voltage

B

BN

9

Park Lamp Supply Voltage

B

BN

9

Park Lamp Supply Voltage

C

L-BU

14

Left Turn Signal Lamps Supply Voltage

C

L-BU

15

Left Turn Signal Lamps Supply Voltage

D

PK

1200

Headlamp High Beam Signal

D

PK

1200

Headlamp High Beam Signal

E

D-BU

1201

Headlamp Low Beam Signal

E

D-BU

1201

Headlamp Low Beam Signal

F

BK

150

Ground

F

BK

150

Ground

C121 Forward Lamp Harness (DF5) to Body Harness (2.2L)


Object Number: 635009  Size: CH

Object Number: 333041  Size: CH

Connector Part Information

    • 12052641
    • 2-Way F Metri-Pack 150 Series Sealed Self Lock (BK)
    • DF5

Connector Part Information

    • 12162000
    • 2-Way M Metri-Pack 150 Series Sealed Self Lock (BK)
    • 2.2L

Pin

Wire Color

Circuit No.

Function

Pin

Wire Color

Circuit No.

Function

A

L-GN/BK

735

Ambient Air Temperature Sensor

A

L-GN/BK

735

Ambient Air Temperature Sensor Signal

B

GY/BK

1798

Low Reference

B

L-GN/BK

1798

Low Reference

C150 Engine Harness to Fuel Injector Harness (2.2L)


Object Number: 646400  Size: CH

Object Number: 684916  Size: CH

Connector Part Information

    • 15326835
    • 8-Way F GT 150 Series Sealed 4.0 (BK)

Connector Part Information

    • 15326840
    • 8-Way M GT 150 Series Sealed 4.0 (BK)

Pin

Wire Color

Circuit No.

Function

Pin

Wire Color

Circuit No.

Function

A

BK

1744

Fuel Injector 1 Control

A

BK

1744

Fuel Injector 1 Control

B

L-GN/BK

1745

Fuel Injector 2 Control

B

L-GN/BK

1745

Fuel Injector 2 Control

C

PK/BK

1746

Fuel Injector 3 Control

C

PK/BK

1746

Fuel Injector 3 Control

D

L-BU/BK

844

Fuel Injector 4 Control

D

L-BU/BK

844

Fuel Injector 4 Control

E

PK/BK

5293

Ignition 1 Voltage

E

PK

139

Ignition 1 Voltage

F

OR/BK

469

Low Reference

F

OR/BK

469

Low Reference

G

L-GN

432

MAP Sensor Signal

G

L-GN

432

MAP Sensor Signal

H

GY

2704

5-Volt Reference

H

GY

2704

5-Volt Reference

C150 Engine Harness to Fuel Injector Harness (2.0L)


Object Number: 647974  Size: CH

Object Number: 1334521  Size: CH

Connector Part Information

    • 15326822
    • 5-Way F GT 150 Series Sealed 4.0 (BK)

Connector Part Information

    • 15326827
    • 5-Way M GT 150 Series Sealed 4.0 (BK)

Pin

Wire Color

Circuit No.

Function

Pin

Wire Color

Circuit No.

Function

A

PK/BK

5293

Ignition 1 Voltage

A

PK/BK

5293

Ignition 1 Voltage

B

BK

1744

Fuel Injector 1 Control

B

BK

1744

Fuel Injector 1 Control

C

L-GN/BK

1745

Fuel Injector 2 Control

C

L-GN/BK

1745

Fuel Injector 2 Control

D

PK/BK

1746

Fuel Injector 3 Control

D

PK/BK

1746

Fuel Injector 3 Control

E

L-BU/BK

844

Fuel Injector 4 Control

E

L-BU/BK

844

Fuel Injector 4 Control

C155 Engine Harness to Ignition Coil Harness (2.0L)


Object Number: 646400  Size: CH

Object Number: 684916  Size: CH

Connector Part Information

    • 15326835
    • 8-Way F GT 150 Series Sealed 4.0 (BK)

Connector Part Information

    • 15326840
    • 8-Way M GT 150 Series Sealed 4.0 (BK)

Pin

Wire Color

Circuit No.

Function

Pin

Wire Color

Circuit No.

Function

A

PK/BK

5292

Ignition 1 Voltage

A

PK/BK

5292

Ignition 1 Voltage

B

PU

6413

Low Reference

B

VT

6413

Low Reference

C

BN/WH

6405

IC 1 Control

C

TN/WH

6405

IC 1 Control

D

D-BU/WH

6406

IC 3 Control

D

D-BU/WH

6406

IC 3 Control

E

D-GN/WH

6407

IC 4 Control

E

D-GN/WH

6407

IC 4 Control

F

L-BU/WH

6408

IC 2 Control

F

L-BU/WH

6408

IC 2 Control

G

BK/WH

451

Ground

G

BK/WH

451

Ground

H

--

--

Not Used

H

--

--

Not Used

C160 Body Harness to ABS Harness (JM4/JL9)


Object Number: 635009  Size: CH

Object Number: 333041  Size: CH

Connector Part Information

    • 12052641
    • 2-Way F Metri-Pack 150 Series (BK)

Connector Part Information

    • 12162000
    • 2-Way M Metri-Pack 150 Series (BK)

Pin

Wire Color

Circuit No.

Function

Pin

Wire Color

Circuit No.

Function

A

D-GN

872

Right Front Wheel Speed Sensor Signal

A

L-BU

872

Right Front Wheel Speed Sensor Signal

B

TN

833

Right Front Wheel Speed Sensor Low Reference

B

YE

833

Right Front Wheel Speed Sensor Low Reference

C161 Body Harness to ABS Harness (JM4/JL9)


Object Number: 635009  Size: CH

Object Number: 333041  Size: CH

Connector Part Information

    • 12052641
    • 2-Way F Metri-Pack 150 Series (BK)

Connector Part Information

    • 12162000
    • 2-Way M Metri-Pack 150 Series (BK)

Pin

Wire Color

Circuit No.

Function

Pin

Wire Color

Circuit No.

Function

A

L-BU

830

Left Front Wheel Speed Sensor Signal

A

L-BU

872

Left Front Wheel Speed Sensor Signal

B

YE

873

Left Front Wheel Speed Sensor Low Reference

B

YE

833

Left Front Wheel Speed Sensor Low Reference

C171 Engine Harness to Body Harness (2.2L)


Object Number: 646415  Size: CH

Object Number: 632353  Size: CH

Connector Part Information

    • 15326808
    • 3-Way F GT 150 Series Sealed (BK)

Connector Part Information

    • 15326813
    • 3-Way M GT 150 Series Sealed (BK)

Pin

Wire Color

Circuit No.

Function

Pin

Wire Color

Circuit No.

Function

A

TN/WH

2500

High Speed GMLAN Serial Data Bus+

A

TN/WH

2500

High Speed GMLAN Serial Data Bus+

B

TN

2501

High Speed GMLAN Serial Data Bus-

B

TN

2501

High Speed GMLAN Serial Data Bus-

C

BN

4

Accessory Voltage (A/T)

C

BN

4

Accessory Voltage

C171 Engine Harness to Body Harness (2.0L)


Object Number: 646400  Size: CH

Object Number: 684916  Size: CH

Connector Part Information

    • 15326835
    • 8-Way F GT 150 Series Sealed 4.0 (BK)

Connector Part Information

    • 15326840
    • 8-Way M GT 150 Series Sealed 4.0 (BK)

Pin

Wire Color

Circuit No.

Function

Pin

Wire Color

Circuit No.

Function

A

BK

891

Boost Gage Signal

A

BK

891

Boost Gage Signal

B

L-BU

6118

IAT 2 Sensor Signal

B

L-BU

6118

IAT 2 Sensor Signal

C

D-GN

335

Low Speed Cooling Fan Relay Control

C

D-GN

335

Low Speed Cooling Fan Relay Control

D

D-BU

473

High Speed Cooling Fan Relay Control

D

D-BU

473

High Speed Cooling Fan Relay Control

E

GY

2700

5-Volt Reference

E

GY

2700

5-Volt Reference

F

RD/BK

380

A/C Refrigerant Pressure Sensor Signal

F

RD/BK

380

A/C Refrigerant Pressure Sensor Signal

G

BK

2751

Low Reference

G

BK

2751

Low Reference

H

PK/BK

5290

Ignition 1 Voltage

H

PK/BK

5290

Ignition 1 Voltage

C200 I/P Harness to Body Harness - Right


Object Number: 888604  Size: CH

Object Number: 823294  Size: CH

Connector Part Information

    • 7283-5534-60
    • 16-Way F 1.5 Series Weather Pack (GN)

Connector Part Information

    • 7282-5534-60
    • 16-Way M 1.5 Series Weather Pack (GN)

Pin

Wire Color

Circuit No.

Function

Pin

Wire Color

Circuit No.

Function

1

L-BU

115

Right Rear Speaker Output (-)

1

L-BU

115

Right Rear Speaker Output (-)

2

D-BU

46

Right Rear Speaker Output (+)

2

D-BU

46

Right Rear Speaker Output (+)

3

YE

116

Left Rear Speaker Output (-)

3

YE

116

Left Rear Speaker Output (-)

4

BN

199

Left Rear Speaker Output (+)

4

BN

199

Left Rear Speaker Door Output (+)

5

D-GN

117

Right Front Speaker Output (-)

5

D-GN

117

Right Front Speaker Door Output (-)

6

L-GN

200

Right Front Speaker Output (+)

6

L-GN

200

Right Front Speaker Door Output (+)

7

GY

118

Left Front Speaker Output (-)

7

GY

118

Left Front Speaker Door Output (-)

8

TN

201

Left Front Speaker Output (+)

8

TN

201

Left Front Speaker Door Output (+)

9

PK

314

Radio On Signal

9

PK

314

Radio On Signal (UZ6)

10

L-BU

1957

Left Front Midrange Speaker Output (-)

10

GY

118

Left Front Speaker Output (-) (UZ6)

10

L-BU

1957

Left Front Midrange Speaker Output (-) (U79/UX7)

11

D-BU

1857

Left Front Midrange Speaker Output (+)

11

TN

201

Left Front Speaker Output (+) (UZ6)

11

D-BU

1857

Left Front Midrange Speaker Output (+) (U79/UX7)

12

TN

2133

Side Impact Sensing Module - Right - Voltage

12

TN

2133

Side Impact Sensing Module - Right - Voltage

13

D-GN

2134

Side Impact Sensing Module - Right - Voltage

13

D-GN

2134

Side Impact Sensing Module - Right - Voltage

14

L-GN

2116

Seat Belt Pretensioner - Right - High Control

14

L-GN

2116

Seat Belt Pretensioner - Right - High Control

15

OG

2117

Seat Belt Pretensioner - Right - Low Control

15

OG

2117

Seat Belt Pretensioner - Right - Low Control

16

--

--

Not Used

16

--

--

Not Used

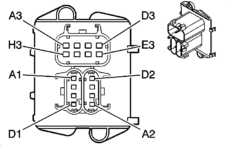
C201 I/P Harness to Body Harness - Left


Object Number: 655774  Size: CH

Object Number: 655773  Size: CH

Connector Part Information

    • 15317325
    • 22-Way F GT 150 280 Series (L-GY)

Connector Part Information

    • 15317322
    • 22-Way M GT 150 280 Series (L-GY)

Pin

Wire Color

Circuit No.

Function

Pin

Wire Color

Circuit No.

Function

A1

PU

420

Stop Lamp Switch Signal

A1

PU

420

Stop Lamp Switch Signal

A2

BN/WH

419

MIL Control

A2

BN/WH

419

MIL Control

A3

BK/WH

56

Rear Compartment Lid Release Switch

A3

BK/WH

56

Rear Compartment Lid Release Switch

A4

TN/WH

2500

High Speed GM LAN Serial Data Bus+ (2.2L)

A4

TN/WH

2500

High Speed GM LAN Serial Data Bus+ (2.2L)

BK

891

Boost Gage Signal (2.0L w/UXE)

BK

891

Boost Gage Signal (2.0L w/UXE)

A5

TN

2501

High Speed GM LAN Serial Data Bus- (2.2L)

A5

TN

2501

High Speed GM LAN Serial Data Bus- (2.2L)

WH

121

Engine Speed Signal (2.0L w/UXE)

WH

121

Engine Speed Signal (2.0L w/UXE)

A6

--

--

Not Used

A6

--

--

Not Used

A7

BK/WH

2118

Seat Belt Pretensioner - Left - High Control

A7

BK/WH

2118

Seat Belt Pretensioner - Left - High Control

A8

OG/BK

2119

Seat Belt Pretensioner - Left - Low Control

A8

OG/BK

2119

Seat Belt Pretensioner - Left - Front

A9

WH/BK

1164

5-Volt Reference

A9

WH/BK

1164

5-Volt Reference

A10

BN

1271

Low Reference

A10

BN

1271

Low Reference

A11

D-BU

1161

APP Sensor 1 Signal

A11

D-BU

1161

APP Sensor 1 Signal

B1

BN/WH

379

CPP Switch Signal (M/T)

B1

BN/WH

379

CPP Switch Signal

B2

L-GN

1715

Windshield Wiper Switch High Signal

B2

L-GN

1715

Windshield Wiper Switch High Signal

B3

YE

575

Starter Control (M/T)

B3

YE

575

Starter Control

B4

YE

2131

Side Impact Sensing Module - Left - Voltage

B4

YE

2131

Side Impact Sensing Module - Left - Voltage

B5

WH

2132

Side Impact Sensing Module - Left - Signal

B5

WH

2132

Side Impact Sensing Module - Left - Signal

B6

L-BU

1957

Left Front Midrange Speaker Output (-)

B6

L-BU

1957

Left Front Midrange Speaker Output (-)

B7

D-BU

1857

Left Front Midrange Speaker Output (+)

B7

D-BU

1857

Left Front Midrange Speaker Output (+)

B8

GY

1884

Cruise Control Set/Coast and Resume/Accelerate Switch Signal

B8

GY

1884

Cruise Control Set/Coast and Resume/Accelerate Switch Signal

B9

TN

1274

5-Volt Reference

B9

TN

1274

5-Volt Reference

B10

PU

1272

Low Reference

B10

PU

1272

Low Reference

B11

L-BU

1162

APP Sensor 2 Signal

B11

L-BU

1162

APP Sensor 2 Signal

C215 Inflatable Restraint Steering Wheel Module Disconnect


Object Number: 594473  Size: CH

Object Number: 594476  Size: CH

Connector Part Information

    • 15336479
    • 4-Way F Metri-Pack 280 Series (YE)

Connector Part Information

    • 15336477
    • 4-Way M Metri-Pack 280 Series (YE)

Pin

Wire Color

Circuit No.

Function

Pin

Wire Color

Circuit No.

Function

A1

BN

3020

Steering Wheel Module - Stage 1 - Low Control

A1

BN

3020

Steering Wheel Module - Stage 1 - Low Control

A2

TN

3021

Steering Wheel Module - Stage 1 - High Control

A2

TN

3021

Steering Wheel Module - Stage 1 - High Control

B1

PK

3022

Steering Wheel Module - Stage 2 - Low Control

B1

PK

3022

Steering Wheel Module - Stage 2 - Low Control

B2

WH

3023

Steering Wheel Module - Stage 2 - High Control

B2

WH

3023

Steering Wheel Module - Stage 2 - High Control

C216 I/P Harness to Inflatable Restraint I/P Module Harness Disconnect


Object Number: 594473  Size: CH

Object Number: 684931  Size: CH

Connector Part Information

    • 15336479
    • 4-Way F Metri-Pack 280 Series (YE)

Connector Part Information

    • 15336476
    • 4-Way M Metri-Pack 280 Series (YE)

Pin

Wire Color

Circuit No.

Function

Pin

Wire Color

Circuit No.

Function

A1

L-GN/RD

3024

I/P Module - Stage 1 - High Control

A1

OG

3024

I/P Module - Stage 1 - High Control

A2

RD/WH

3025

I/P Module - Stage 1 - Low Control

A2

YE

3025

I/P Module - Stage 1 - Low Control

B1

PK/BK

3026

I/P Module - Stage 2 - Low Control

B1

PU

3026

I/P Module - Stage 2 - Low Control

B2

L-BU/OG

3027

I/P Module - Stage 2 - High Control

B2

GY

3027

I/P Module - Stage 2 - High Control

C218 I/P Harness to Inflatable Restraint Roof Rail Harness (ASF)


Object Number: 594473  Size: CH

Object Number: 684931  Size: CH

Connector Part Information

    • 15336479
    • 4-Way F Metri-Pack 280 Series (YE)

Connector Part Information

    • 15336476
    • 4-Way M Metri-Pack 280 Series (YE)

Pin

Wire Color

Circuit No.

Function

Pin

Wire Color

Circuit No.

Function

A1

PU/WH

5019

Roof Rail Module - Left - High Control

A1

PU/WH

5019

Roof Rail Module - Left - High Control

A2

PK

5020

Roof Rail Module - Left - Low Control

A2

PK

5020

Roof Rail Module - Left - Low Control

B1

YE/BK

5021

Roof Rail Module - Right - High Control

B1

YE/BK

5021

Roof Rail Module - Right - High Control

B2

WH/BK

5022

Roof Rail Module - Right - Low Control

B2

WH/BK

5022

Roof Rail Module - Right - Low Control

C220 I/P Harness to ETC Jumper Harness (2.0L)


Object Number: 886053  Size: CH

Object Number: 646396  Size: CH

Connector Part Information

    • 15326830
    • 6-Way F GT 150 Series Sealed (BK)

Connector Part Information

    • 15326833
    • 6-Way M GT 150 Series Sealed (BK)

Pin

Wire Color

Circuit No.

Function

Pin

Wire Color

Circuit No.

Function

A

TN

1274

5-Volt Reference

A

TN

1274

5-Volt Reference

B

L-BU

1162

APP Sensor 2 Signal

B

L-BU

1162

APP Sensor 2 Signal

C

PU

1272

Low Reference

C

PU

1272

Low Reference

D

BN

1271

Low Reference

D

BN

1271

Low Reference

E

D-BU

1161

APP Sensor 1 Signal

E

D-BU

1161

APP Sensor 1 Signal

F

WH/BK

1164

5-Volt Reference

F

WH/BK

1164

5-Volt Reference

C225 Brake Switch Jumper Harness to I/P Harness


Object Number: 130637  Size: CH

Object Number: 40399  Size: CH

Connector Part Information

    • 12064760
    • 4-Way F Metri-Pack 150 Series (BK)

Connector Part Information

    • 12064761
    • 4-Way M Metri-Pack 150 Series (BK)

Pin

Wire Color

Circuit No.

Function

Pin

Wire Color

Circuit No.

Function

A

OG

140

Battery Positive Voltage

A

OG

140

Battery Positive Voltage

B

L-BU

20

Stop Lamp Switch Signal

B

L-BU

20

Stop Lamp Switch Signal

C

PK

339

Ignition 1 Voltage

C

PK

339

Ignition 1 Voltage

D

PU

420

Stop Lamp Switch Signal

D

PU

420

Stop Lamp Switch Signal

C340 OnStar I/P Harness to OnStar Body Harness (UE1/U2K)


Object Number: 646384  Size: CH

Object Number: 646388  Size: CH

Connector Part Information

    •  15332153
    • 10-Way F Delphi Packard GT 150 Series (BK)

Connector Part Information

    • 15332158
    • 10-Way M Delphi Packard GT 150 Series (BK)

Pin

Wire Color

Circuit No.

Function

Pin

Wire Color

Circuit No.

Function

A

OG

1340

Battery Positive Voltage

A

OG

1340

Battery Positive Voltage

B

PU

1807

Class 2 Serial Data (UE1)

B

PU

1807

Class 2 Serial Data (UE1)

C

YE/BK

693

Cellular Telephone Mute Signal (UE1)

C

YE/BK

693

Cellular Telephone Mute Signal (UE1)

D

BARE

814

Drain Wire (UE1)

D

BARE

814

Drain Wire (UE1)

E

BN/WH

367

Remote Radio Left Audio Signal (U2K)

E

BN/WH

367

Remote Radio Left Audio Signal (U2K)

F

BK/WH

372

Remote Radio Audio Output (-) (U2K)

F

BK/WH

372

Remote Radio Audio Output (-) (U2K)

G

D-GN/WH

368

Remote Radio Right Audio Signal (U2K)

G

D-GN/WH

368

Remote Radio Right Audio Signal (U2K)

H

OG/BK

2061

Cellular Telephone Voice Low Reference (UE1)

H

OG/BK

2061

Cellular Telephone Voice Low Reference (UE1)

J

PK/BK

2062

Cellular Telephone Voice Signal (UE1)

J

PK/BK

2062

Cellular Telephone Voice Signal (UE1)

K

D-GN

5060

Low Speed GMLAN Serial Data (U2K)

K

D-GN

5060

Low Speed GMLAN Serial Data (U2K)

C351 I/P Harness to Auto Shifter Harness (MN5)


Object Number: 39660  Size: CH

Object Number: 39661  Size: CH

Connector Part Information

    • 12047785
    • 4-Way F Metri-Pack 150 Series (BK)

Connector Part Information

    • 12047786
    • 4-Way M Metri-Pack 150 Series (BK)

Pin

Wire Color

Circuit No.

Function

Pin

Wire Color

Circuit No.

Function

A

GY

8

Instrument Panel Lamp Supply Voltage - 1

A

GY

8

Instrument Panel Lamp Supply Voltage - 1

B

BN

323

Shift Lock Solenoid Supply Voltage

B

BN

323

Shift Lock Solenoid Supply Voltage

C

D-GN/WH

1932

Transmission Shift Select Switch (Park) Signal

C

D-GN/WH

1932

Transmission Shift Select Switch (Park) Signal

D

BK

550

Ground

D

BK

550

Ground

C375 Headliner Harness to Body Harness (Sedan)


Object Number: 556473  Size: CH

Object Number: 542307  Size: CH

Connector Part Information

    • 15326924
    • 8-Way F GT 280 Series (BK)

Connector Part Information

    • 15326928
    • 8-Way M GT 280 Series (BK)

Pin

Wire Color

Circuit No.

Function

Pin

Wire Color

Circuit No.

Function

A

YE

243

Accessory Voltage

A

YE

243

Accessory Voltage

B

L-GN

24

Backup Lamp Supply Voltage

B

L-GN

24

Backup Lamp Supply Voltage

C

BK

750

Ground

C

BK

750

Ground

D

GY/BK

1798

Low Reference (DF5)

D

L-GN/BK

1798

Low Reference

E

L-GN/BK

735

Ambient Air Temperature Sensor Signal (DF5)

E

L-GN/BK

735

Ambient Air Temperature Sensor Signal

F

OG

1732

Inadvertent Power Supply Voltage

F

OG

1732

Inadvertent Power Supply Voltage

OG

1732

Inadvertent Power Supply Voltage (C74)

OG

1732

Inadvertent Power Supply Voltage

G

WH

156

Courtesy Lamp Low Control

G

WH

156

Courtesy Lamp Low Control

WH

156

Courtesy Lamp Low Control

H

L-BU

20

Stop Lamp Supply Voltage/Stop Lamp Switch Signal

H

L-BU

20

Stop Lamp Supply Voltage/Stop Lamp Switch Signal

C375 Body Harness to Headliner Harness (Coupe)


Object Number: 556473  Size: CH

Object Number: 542307  Size: CH

Connector Part Information

    • 15326924
    • 8-Way F GT 280 Series (BK)

Connector Part Information

    • 15326928
    • 8-Way M GT 280 Series (BK)

Pin

Wire Color

Circuit No.

Function

Pin

Wire Color

Circuit No.

Function

A

YE

243

Accessory Voltage

A

YE

243

Accessory Voltage

B

L-GN

24

Backup Lamp Supply Voltage

B

L-GN

24

Backup Lamp Supply Voltage

C

BK

750

Ground

C

BK

750

Ground

D

GY/BK

1798

Low Reference (2.2L)

D

L-GN/BK

1798

Low Reference (DF5)

E

L-GN/BK

735

Ambient Air Temperature Sensor Signal (2.2L)

E

L-GN/BK

735

Ambient Air Temperature Sensor Signal (DF5)

F

OG

1732

Inadvertent Power Supply Voltage

F

OG

1732

Inadvertent Power Supply Voltage

OG

1732

Inadvertent Power Supply Voltage

OG

1732

Inadvertent Power Supply Voltage (C74)

G

WH

156

Courtesy Lamp Low Control

G

WH

156

Courtesy Lamp Low Control

WH

156

Courtesy Lamp Low Control

H

L-BU

20

Stop Lamp Supply Voltage/Stop Lamp Switch Signal

H

L-BU

20

Stop Lamp Supply Voltage/Stop Lamp Switch Signal

C380 OnStar Body Harness to Headliner Harness


Object Number: 40422  Size: CH

Object Number: 40425  Size: CH

Connector Part Information

    • 12064762
    • 6-Way F Metri-Pack 150 Series (GY)

Connector Part Information

    • 12064763
    • 6-Way M Metri-Pack 150 Series (GY)

Pin

Wire Color

Circuit No.

Function

Pin

Wire Color

Circuit No.

Function

A

BN/WH

2517

Keypad Red LED Signal

A

BN/WH

2517

Keypad Red LED Signal

B

YE/BK

2516

Keypad Green LED Signal

B

YE/BK

2516

Keypad Green LED Signal

C

D-GN/WH

2514

Keypad Signal

C

D-GN/WH

2514

Keypad Signal

D

L-GN/BK

2515

Keypad Supply Voltage

D

L-GN/BK

2515

Keypad Supply Voltage

E

BARE

654

Cellular Telephone Microphone Low Reference

E

BARE

654

Cellular Telephone Microphone Low Reference

F

GY

655

Cellular Microphone Signal

F

GY

655

Cellular Microphone Signal

C401 Deck Lid Harness to Body Harness


Object Number: 130637  Size: CH

Object Number: 40399  Size: CH

Connector Part Information

    • 12064760
    • 4-Way F Metri-Pack 150 Series (BK)

Connector Part Information

    • 12064761
    • 4-Way M Metri-Pack 150 Series (BK)

Pin

Wire Color

Circuit No.

Function

Pin

Wire Color

Circuit No.

Function

A

BK

850

Ground

A

BK

850

Ground

B

D-GN

146

Trunk Ajar Indicator Control (AU0)

B

OG/BK

737

Rear Compartment Lamp Control (w/o AU0)

D-GN

146

Trunk Ajar Indicator Control (AU0)

C

BN

9

Park Lamp Supply Voltage

C

BN

9

Park Lamp Supply Voltage

D

BK/WH

56

Trunk Release Motor Control

D

BK/WH

56

Trunk Release Motor Control

C406 EVAP Canister Vent Solenoid Jumper to Body Harness


Object Number: 646171  Size: CH

Object Number: 904053  Size: CH

Connector Part Information

    • 12146439
    • 4-Way F Metri-Pack 150 Series Sealed (WH)

Connector Part Information

    • 15326715 (JM4/JL9)
    • 15326714 (w/o JM4/JL9)
    • 16-Way M Metri-Pack 150, 280 Series (GY)

Pin

Wire Color

Circuit No.

Function

Pin

Wire Color

Circuit No.

Function

A

OG

840

Battery Positive Voltage

A1

OG

840

Battery Positive Voltage

B

WH

1310

EVAP Canister Vent Solenoid Control

B1

WH

1310

EVAP Canister Vent Solenoid Control

C-D

--

--

Not Used

C1-D1

--

--

Not Used

C406 Rear WSS Harness to Body Harness (JM4/JL9)


Object Number: 684854  Size: CH

Object Number: 904053  Size: CH

Connector Part Information

    • 12162144
    • 4-Way F Metri-Pack 150 Series Sealed (BK)

Connector Part Information

    • 15326715
    • 16-Way M Metri-Pack 150, 280 Series (GY)

Pin

Wire Color

Circuit No.

Function

Pin

Wire Color

Circuit No.

Function

A

WH

883

Right Rear Wheel Speed Sensor Low Reference

A2

WH

883

Right Rear Wheel Speed Sensor Low Reference

B

BN

882

Right Rear Wheel Speed Sensor Signal

B2

BN

882

Right Rear Wheel Speed Sensor Signal

C

RD

885

Left Rear Wheel Speed Sensor Low Reference

C2

RD

885

Left Rear Wheel Speed Sensor Low Reference

D

BK

884

Left Rear Wheel Speed Sensor Signal

D2

BK

884

Left Rear Wheel Speed Sensor Signal

C406 Fuel Controls Harness to Body Harness


Object Number: 795624  Size: CH

Object Number: 904053  Size: CH

Connector Part Information

    • 15317611
    • 7-Way F Metri-Pack 280 Series Sealed (GY)

Connector Part Information

    • 15326715 (JM4/JL9)
    • 15326714 (w/o JM4/JL9)
    • 16-Way M Metri-Pack 150, 280 Series (GY)

Pin

Wire Color

Circuit No.

Function

Pin

Wire Color

Circuit No.

Function

A

BK

650

Ground

A3

BK

650

Ground

B

PK/OG

2759

Low Reference

B3

BK

2759

Low Reference

BK

2759

Low Reference

C

PK/BK

120

Fuel Pump Supply Voltage

C3

GY

120

Fuel Pump Supply Voltage

D

YE/WH

1589

Fuel Level Sensor Signal

D3

PU

1589

Fuel Level Sensor Signal

E

--

--

Not Available

E3

--

--

Not Used

F

BN/WH

705

5-Volt Reference

F3

GY

705

5-Volt Reference

G

GY/RD

890

Fuel Tank Pressure Sensor Signal

G3

D-GN

890

Fuel Tank Pressure Sensor Signal

H

RD/PK

2759

Low Reference

H3

BK

2759

Low Reference

C410 Body Harness to Battery Cable (2.2L)


Object Number: 646416  Size: CH

Object Number: 95780  Size: CH

Connector Part Information

    • 12059884
    • 1-Way F Metri-Pack 480 Series Sealed (BK)

Connector Part Information

    • 12059885
    • 1-Way M Metri-Pack 480 Series Sealed (BK)

Pin

Wire Color

Circuit No.

Function

Pin

Wire Color

Circuit No.

Function

A

OG

480

Battery Positive Voltage

A

OG

480

Battery Positive Voltage

C490 Body Harness to Right Tail Lamp Harness


Object Number: 697039  Size: CH

Object Number: 333040  Size: CH

Connector Part Information

    • 12052848
    • 6-Way F Metri-Pack 150 Series Sealed (BK)

Connector Part Information

    • 12124107
    • 6-Way M Metri-Pack 150 Series Sealed (BK)

Pin

Wire Color

Circuit No.

Function

Pin

Wire Color

Circuit No.

Function

A

D-GN

19

Right Rear Stop/Turn Lamp Supply Voltage

A

YE

19

Right Rear Stop/Turn Lamp Supply Voltage

B

L-BU

20

Stop Lamp Switch Signal

B

L-BU

20

Stop Lamp Switch Signal

C

BN

9

Park Lamp Supply Voltage

C

BN

9

Park Lamp Supply Voltage

D

L-GN

24

Backup Lamp Supply Voltage

D

L-GN

24

Backup Lamp Supply Voltage

E

BK

850

Ground

E

BK

850

Ground

F

--

--

Not Used

F

--

--

Not Used

C491 Body Harness to Left Tail Lamp Harness


Object Number: 697039  Size: CH

Object Number: 333040  Size: CH

Connector Part Information

    • 12052848
    • 6-Way F Metri-Pack 150 Series Sealed (BK)

Connector Part Information

    • 12124107
    • 6-Way M Metri-Pack 150 Series Sealed (BK)

Pin

Wire Color

Circuit No.

Function

Pin

Wire Color

Circuit No.

Function

A

YE

18

Left Rear Stop/Turn Lamp Supply Voltage

A

YE

18

Left Rear Stop/Turn Lamp Supply Voltage

B

L-BU

20

Stop Lamp Switch Signal

B

L-BU

20

Stop Lamp Switch Signal

C

BN

9

Park Lamp Supply Voltage

C

BN

9

Park Lamp Supply Voltage

D

L-GN

24

Backup Lamp Supply Voltage

D

L-GN

24

Backup Lamp Supply Voltage

E

BK

750

Ground

E

BK

750

Ground

F

--

--

Not Used

F

--

--

Not Used

C501 Body Harness to Driver Door Harness (AU3/AU0)


Object Number: 646400  Size: CH

Object Number: 684916  Size: CH

Connector Part Information

    • 15326835
    • 8-Way F GT 150 Series Sealed 4.0 (BK)

Connector Part Information

    • 15326840
    • 8-Way M GT 150 Series Sealed 4.0 (BK)

Pin

Wire Color

Circuit No.

Function

Pin

Wire Color

Circuit No.

Function

A

D-BU

1857

Left Front Speaker Output (-)

A

D-BU

1857

Left Front Speaker Output (-)

B

L-BU

1957

Left Front Speaker Output (+)

B

L-BU

1957

Left Front Speaker Output (+)

C

WH

682

Door Lock/Unlock Signal (AU3)

C

WH

682

Door Lock/Unlock Signal (AU3)

D

BK

650

Ground (AU3)

D

BK

650

Ground (AU3 w/D35)

PU/WH

889

Passenger Mirror Motor Down Control (Sedan w/DG7)

PU/WH

889

Passenger Mirror Motor Down Control (Sedan w/DG7)

E

TN

694

Driver Door Lock Actuator Unlock Control

E

TN

694

Driver Door Lock Actuator Unlock Control

F

GY

295

Door Lock Actuator Unlock Control

F

GY

295

Door Lock Actuator Lock Control

G

RD/WH

881

Passenger Mirror Motor Right Control (Sedan w/DG7)

G

RD/WH

881

Passenger Mirror Motor Right Control (Sedan w/DG7)

WH

2132

Side Impact Sensing Module - Left - Signal (Coupe w/ASF)

WH

2132

Side Impact Sensing Module - Left - Signal (Coupe w/ASF)

H

GY

90

Passenger Mirror Motor Up/Right (Sedan w/DG7)

H

GY

90

Passenger Mirror Motor Up/Right (Sedan w/DG7)

YE

2131

Side Impact Sensing Module - Left - Voltage (Coupe w/ASF)

YE

2131

Side Impact Sensing Module - Left - Voltage (Coupe w/ASF)

C503 Body Harness to Driver Door Harness (Coupe w/A31 and DG7)


Object Number: 646372  Size: CH

Object Number: 847234  Size: CH

Connector Part Information

    • 15326654
    • 8-Way F GT 280 Series Sealed 5.8 (BK)

Connector Part Information

    • 15326655
    • 8-Way M GT 280 Series Sealed 5.8 (BK)

Pin

Wire Color

Circuit No.

Function

Pin

Wire Color

Circuit No.

Function

A

OG

1732

Courtesy Lamps Supply Voltage (DG7)

A

OG

1732

Courtesy Lamps Supply Voltage (DG7)

B

RD/WH

881

Passenger Mirror Motor Right Control (DG7)

B

RD/WH

881

Passenger Mirror Motor Right Control (DG7)

C

PU/WH

889

Passenger Mirror Motor Down Control (DG7)

C

PU/WH

889

Passenger Mirror Motor Down Control (DG7)

D

GY

90

Passenger Mirror Motor Left Control (DG7)

D

GY

90

Passenger Mirror Motor Left Control (DG7)

E

BN

441

Ignition 3 Voltage (A31)

E

BN

441

Ignition 3 Voltage (A31)

F

L-BU

166

Power Window Master Switch Right Front Up Signal (A31)

F

L-BU

166

Power Window Master Switch Right Front Up Signal (A31)

G

TN

167

Power Window Master Switch Right Front Down Signal (A31)

G

TN

167

Power Window Master Switch Right Front Down Signal (A31)

H

BK

650

Ground

H

BK

650

Ground

C503 Body Harness to Driver Door Harness (Sedan w/A31 and DG7)


Object Number: 655815  Size: CH

Object Number: 655819  Size: CH

Connector Part Information

    • 15326660
    • 10-Way F GT 280 Series Sealed 5.8 (BK)

Connector Part Information

    • 15326661
    • 10-Way M GT 280 Series Sealed 5.8 (BK)

Pin

Wire Color

Circuit No.

Function

Pin

Wire Color

Circuit No.

Function

A

BN

441

Ignition 3 Voltage (A31)

A

BN

441

Ignition 3 Voltage (A31)

B

L-BU

166

Power Window Master Switch Right Front Up Signal (A31)

B

L-BU

166

Power Window Master Switch Right Front Up Signal (A31)

C

TN

167

Power Window Master Switch Right Front Down Signal (A31)

C

TN

167

Power Window Master Switch Right Front Down Signal (A31)

D

D-GN

168

Power Window Master Switch Left Rear Up Signal (A31)

D

D-GN

168

Power Window Master Switch Left Rear Up Signal (A31)

E

PU

169

Power Window Master Switch Left Rear Down Signal (A31)

E

PU

169

Power Window Master Switch Left Rear Down Signal (A31)

F

L-GN

170

Power Window Master Switch Right Rear Up Signal (A31)

F

L-GN

170

Power Window Master Switch Right Rear Up Signal (A31)

G

PU

171

Power Window Master Switch Right Rear Down Signal (A31)

G

PU

171

Power Window Master Switch Right Rear Down Signal (A31)

H

BK

650

Ground

H

BK

650

Ground

J

OG

1732

Inadvertent Power Supply Voltage (DG7)

J

OG

1732

Inadvertent Power Supply Voltage (DG7)

K

D-BU

1307

Power Window Master Switch Lockout Signal (A31)

K

D-BU

1307

Power Window Master Switch Lockout Signal (A31)

C507 Body Harness to Driver Door Harness (w/o AU3)


Object Number: 635009  Size: CH

Object Number: 333041  Size: CH

Connector Part Information

    • 12052641
    • 2-Way F Metri-Pack 150 Series (BK)

Connector Part Information

    • 12162000
    • 2-Way M Metri-Pack 150 Series (BK)

Pin

Wire Color

Circuit No.

Function

Pin

Wire Color

Circuit No.

Function

A

D-BU

1857

Left Front Speaker Output (-)

A

D-BU

1857

Left Front Speaker Output (-)

B

L-BU

1957

Left Front Speaker Output (+)

B

L-BU

1957

Left Front Speaker Output (+)

C602 Body to Front Passenger Door Harness (AU3)


Object Number: 646400  Size: CH

Object Number: 684916  Size: CH

Connector Part Information

    • 15326835
    • 8-Way F GT 150 Series Sealed 4.0 (BK)

Connector Part Information

    • 15326840
    • 8-Way M GT 150 Series Sealed 4.0 (BK)

Pin

Wire Color

Circuit No.

Function

Pin

Wire Color

Circuit No.

Function

A

D-GN

117

Right Front Speaker Output (-) (U79/UX7)

A

D-GN

117

Right Front Speaker Output (-) (U79/UX7)

OR

1853

Right Front Speaker Output (-) (UZ6)

OR

1853

Right Front Speaker Output (-) (UZ6)

B

L-GN

200

Right Front Speaker Output (+) (U79/UX7)

B

L-GN

200

Right Front Speaker Output (+) (U79/UX7)

D-GN

1953

Right Front Speaker Output (+) (UZ6)

D-GN

1953

Right Front Midrange Speaker Output (+) (UZ6)

C

WH

682

Door Lock/Unlock Signal

C

WH

682

Door Lock/Unlock Signal

D

BK

650

Ground

D

BK

650

Ground

E

TN

294

Door Lock Actuator Unlock Control

E

TN

294

Door Lock Actuator Unlock Control

F

GY

295

Door Lock Actuator Lock Control

F

GY

295

Door Lock Actuator Lock Control

G

D-GN

2134

Side Impact Sensing Module - Right - Signal

G

D-GN

2134

Side Impact Sensing Module - Right - Signal

H

TN

2133

Side Impact Sensing Module - Right - Voltage

H

TN

2133

Side Impact Sensing Module - Right - Voltage

C604 Body Harness to Front Passenger Door Harness (A31)


Object Number: 646372  Size: CH

Object Number: 847234  Size: CH

Connector Part Information

    • 15326654
    • 8-Way F GT 280 Series Sealed 5.8 (BK)

Connector Part Information

    • 15326655
    • 8-Way M GT 280 Series Sealed 5.8 (BK)

Pin

Wire Color

Circuit No.

Function

Pin

Wire Color

Circuit No.

Function

A

--

--

Not Used

A

--

--

Not Used

B

RD/WH

881

Passenger Mirror Motor Right Control

B

RD/WH

881

Passenger Mirror Motor Right Control

C

PU/WH

889

Passenger Mirror Motor Down Control

C

PU/WH

889

Passenger Mirror Motor Down Control

D

GY

90

Passenger Mirror Motor Left Control

D

GY

90

Passenger Mirror Motor Left Control

E

BN

441

Ignition 3 Voltage

E

BN

441

Ignition 3 Voltage

F

L-BU

166

Power Window Master Switch Right Front Up Signal

F

L-BU

166

Power Window Master Switch Right Front Up Signal

G

TN

167

Power Window Master Switch Right Front Down Signal

G

TN

167

Power Window Master Switch Right Front Down Signal

H

--

--

Not Used

H

--

--

Not Used

C608 Body Harness to Front Passenger Door Harness (w/o AU3)


Object Number: 635009  Size: CH

Object Number: 333041  Size: CH

Connector Part Information

    • 12052641
    • 2-Way F Metri-Pack 150 Series (BK)

Connector Part Information

    • 12162000
    • 2-Way M Metri-Pack 150 Series (BK)

Pin

Wire Color

Circuit No.

Function

Pin

Wire Color

Circuit No.

Function

A

D-GN

117

Right Front Speaker Output (-)

A

D-GN

117

Right Front Speaker Output (-)

B

L-GN

200

Right Front Speaker Output (+)

B

L-GN

200

Right Front Speaker Output (+)

C759 Body Harness to Left Rear Door Harness (Sedan w/AU3)


Object Number: 537107  Size: CH

Object Number: 605500  Size: CH

Connector Part Information

    • 12052644
    • 2-Way F Metri-Pack 150 Series Sealed (GY)

Connector Part Information

    • 12162343
    • 2-Way M Metri-Pack 150 Series (GY)

Pin

Wire Color

Circuit No.

Function

Pin

Wire Color

Circuit No.

Function

A

GY

295

Door Lock Actuator Lock Control

A

GY

295

Door Lock Actuator Lock Control

B

TN

294

Door Lock Actuator Unlock Control

B

TN

294

Door Lock Actuator Unlock Control

C860 Body Harness to Right Rear Door Harness (Sedan w/AU3)


Object Number: 537107  Size: CH

Object Number: 605500  Size: CH

Connector Part Information

    • 12052644
    • 2-Way F Metri-Pack 150 Series Sealed (GY)

Connector Part Information

    • 12162343
    • 2-Way M Metri-Pack 150 Series Sealed (GY)

Pin

Wire Color

Circuit No.

Function

Pin

Wire Color

Circuit No.

Function

A

GY

295

Door Lock Actuator Lock Control

A

GY

295

Door Lock Actuator Lock Control

B

TN

294

Door Lock Actuator Unlock Control

B

TN

294

Door Lock Actuator Unlock Control